6.如图所示.物体M通过与斜面平行的细绳与小物体m相连.斜面的倾角α可以改变.讨论M对斜面的摩擦力的大小,则有 A.若M保持静止.则a越大,摩擦力越大 B.若M保持静止.则a越大,摩擦力越小 C.若M沿斜面下滑.则a越大,摩擦力越大 D.若M沿斜面下滑.则a越大,摩擦力越小 查看更多

 

题目列表(包括答案和解析)

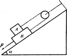
如图所示,物体A、B叠放在倾角a=37°的斜面上,并通过细线跨过光滑滑轮相连,细线与斜面平行.两物体的质量分别为mA=5 kg,mB=10 kg,A、B间动摩擦因数为μ1=0.1,B与斜面间的动摩擦因数为μ2=0.3,现对B施一平行于斜面向下的拉力F,使B平行于斜面向下匀速运动(g=10 m/s2,sin37°=0.6,cos37°=0.8).求拉力F的大小.

查看答案和解析>>

精英家教网如图所示,固定斜面的倾角θ=30°,物体A与斜面之间的动摩擦因数为μ=
3
2
,轻弹簧下端固定在斜面底端,弹簧处于原长时上端位于C点.用一根不可伸长的轻绳通过轻质光滑的定滑轮连接物体A和B,滑轮右侧绳子与斜面平行,A的质量为2m,B的质量为m,初始时物体A到C点的距离为L.现给A、B一初速度v0使A开始沿斜面向下运动,B向上运动,物体A将弹簧压缩到最短后又恰好能弹到C点.已知重力加速度为g,不计空气阻力,整个过程中,轻绳始终处于伸直状态,求此过程中:
(1)物体A向下运动刚到C点时的速度;
(2)弹簧的最大压缩量;
(3)弹簧中的最大弹性势能.

查看答案和解析>>

如图所示,在竖直方向上A、B两物体通过劲度系数为k的轻质弹簧相连,A放在水平地面上;B、C两物体通过细绳绕过轻质定滑轮相连,C放在固定的光滑斜面上.用手拿住C,使细线刚刚拉直但无拉力作用,并保证ab段的细线竖直、cd段的细线与斜面平行.已知A、B的质量均为m,C的质量为4m,重力加速度为g,细线与滑轮之间的摩擦不计,开始时整个系统处于静止状态.释放C后它沿斜面下滑至速度最大时A恰好离开地面.求:
(1)斜面倾角α;
(2)C的最大速度vCm

查看答案和解析>>

如图所示,两根与水平面成θ=30°角的足够长光滑金属导轨平行放置,导轨间距为L=1m,导轨底端接有阻值为1Ω的电阻R,导轨的电阻忽略不计.整个装置处于匀强磁场中,磁场方向垂直于导轨平面斜向上,磁感应强度B=1T.现有一质量为m=0.2kg、电阻不计的金属棒用细绳通过光滑滑轮与质量为M=0.5kg的物体相连,细绳与导轨平面平行.将金属棒与M由静止释放,棒沿导轨运动了2m后开始做匀速运动.运动过程中,棒与导轨始终保持垂直接触.(取重力加速度g=10m/s2)求:
(1)金属棒匀速运动时的速度;
(2)棒从释放到开始匀速运动的过程中,电阻R上产生的焦耳热;
(3)若保持某一大小的磁感应强度B1不变,取不同质量M的物块拉动金属棒,测出金属棒相应的做匀速运动的v值,得到实验图象如图所示,请根据图中的数据计算出此时的B1
(4)改变磁感应强度的大小为B2,B2=2B1,其他条件不变,请在坐标图上画出相应的v-M图线,并请说明图线与M轴的交点的物理意义.

查看答案和解析>>

如图所示,斜面的倾角θ=37°,斜面的底端有一个光滑的半圆形轨道与斜面底端B点相接.质量为m=50kg的物体,从斜面的顶点A处以v0=20m/s沿水平方向飞出,刚好落在斜面底端B处,其竖直速度立即变为零,然后进入半圆形轨道恰好能通过最高点C.(cos37°=0.8,sin37°=0.6,g取10m/s2,不计空气阻力)求:
(1)半圆轨道的半径R;
(2)物体从A运动到B的时间t;
(3)如图,圆弧上点D与圆心连线与水平面平行,求小球过D点时对轨道的压力大小.

查看答案和解析>>


同步练习册答案