恒定电流中的三个定律分别是:1.电阻定律:.适用于金属导体或电解液导电, 查看更多

 

题目列表(包括答案和解析)

“验证机械能守恒定律”的实验如图采用重物自由下落的方法:

(1)实验中,下面哪些测量工具是必需的?   

  A.天平   B.直流电源  C.刻度尺  D.秒表

(2)实验中,发现重锤减少的势能总是大于重锤增加的动能,造成这种现象的主要原因是     

A.选用的重锤质量过大

B.数据处理时出现计算错误

C.空气对重锤的阻力和打点计时器对纸带的阻力

D.实验时操作不够细,实验数据测量不准确

(3)实验中,已知打点计时器所用电源的频率为50Hz,当地的重力加速度g=9.80m/s2,所用重物的质量为1.00kg,实验中得到一点迹清晰的纸带,把第一点记作O,另选连续的4个点A、B、C、D作为测量的点,经测量知道A、B、C、D到0点的距离分别为62.99cm,70.18cm,77.76cm,85.73cm,根据以上的数据,可知重物由0运动到C点,重力势能的减小量等于      J,动能的增加量等于      J。(本题中计算结果均保留三位有效数字)

(4)通过实验得出的结论是:                   

查看答案和解析>>

①在“验证机械能守恒定律”的实验中:
(1)打点计时器打点时间间隔为T,当地重力加速度为g,实验用的重物的质量为m,若按要求正确地选出纸带进行测量.如图1所示,量得连续三个点A、B、C到第一个点O的距离分别是s1、s2和s3,当打点计时器打B点时,重物的重力势能减少量为
mgs2
mgs2
,重物的动能增加量为
m(s3-s1)2
8T2
m(s3-s1)2
8T2
(用m、g、T、s1、s2、s3中的物理量表示)

(2)若甲、乙、丙三位同学分别用同一装置打出三条纸带,打点计时器打点时间间隔为0.02s,量出各自纸带上第1、2两点间的距离分别为0.17cm、0.19cm、0.22cm,可以看出其中有一位同学在操作上有错误,操作错误的同学是

②磁电式电压表是用电流表经过改装而成的,现有一满偏电流Ix=300μA,内阻未知的电流表,要将它改装成电压表.如图2(a)(b)(c)所示.
(1)在采用图(a)所示电路测定表头内阻时,要求R1电阻
远小于
远小于
R2电阻,部分实验步骤为:①按电路图接好电路,将R1调至最大;②断开S2,闭合S1,调节R2,使表头指针
满偏
满偏
;③闭合S2,调节R1,使表头指针
半偏
半偏
,此过程中R2
保持不变
保持不变

(2)使电流表指针半偏时,电阻箱R1的示数如图(b)所示,则电流表内阻rx=
180
180
Ω.要将上述电流表改装成量程为6.0V的电压表,应给该表头串联一个阻值为
19.82
19.82
kΩ的电阻.
(3)按图(a)所示的电路,将图(c)中的器材连成实验电路.

查看答案和解析>>

在进行“验证机械能守恒定律”的实验中,

(1)在实验中,两实验小组同学分别采用了如图甲和乙所示的装置,采用两种不同的实验方案进行实验.
①在甲图中,下落物体应选择密度_______ (选填“大”或“小”)的重物;在乙图中,两个重物的质量关系是m1________  (选填“>”、“=”或“<”).
②采用图乙的方案进行实验,还需要的实验器材有交流电源、刻度尺和 ______________.
③比较两种实验方案,你认为________ 更合理,理由是__________________________________________.
(2)有一同学采用了甲图所示的方案,选出一条纸带如图所示,其中O点为起始点,A、B、C为三个计数点,打点计时器通以50 Hz交流电,在计数点AB之间、BC之间还各有一个点,重锤的质量为0.5kg,根据以上数据当打点针打到B点时重锤的重力势能比开始下落时减少了_______J;这时它的动能是________J;根据上面这两个数据你能得到的结论是: ________________________。(结果保留三位有效数字)

查看答案和解析>>

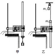
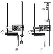
在进行“验证机械能守恒定律”的实验中,

(1)在实验中,两实验小组同学分别采用了如图甲和乙所示的装置,采用两种不同的实验方案进行实验.

①在甲图中,下落物体应选择密度_______ (选填“大”或“小”)的重物;在乙图中,两个重物的质量关系是m1________  (选填“>”、“=”或“<”).

②采用图乙的方案进行实验,还需要的实验器材有交流电源、刻度尺和 ______________.

③比较两种实验方案,你认为________ 更合理,理由是__________________________________________.

(2)有一同学采用了甲图所示的方案,选出一条纸带如图所示,其中O点为起始点,ABC为三个计数点,打点计时器通以50 Hz交流电,在计数点AB之间、BC之间还各有一个点,重锤的质量为0.5kg,根据以上数据当打点针打到B点时重锤的重力势能比开始下落时减少了_______J;这时它的动能是________J;根据上面这两个数据你能得到的结论是: ________________________。(结果保留三位有效数字)

 

查看答案和解析>>

在进行“验证机械能守恒定律”的实验中,

(1)在实验中,两实验小组同学分别采用了如图甲和乙所示的装置,采用两种不同的实验方案进行实验.
①在甲图中,下落物体应选择密度_______ (选填“大”或“小”)的重物;在乙图中,两个重物的质量关系是m1________  (选填“>”、“=”或“<”).
②采用图乙的方案进行实验,还需要的实验器材有交流电源、刻度尺和 ______________.
③比较两种实验方案,你认为________ 更合理,理由是__________________________________________.
(2)有一同学采用了甲图所示的方案,选出一条纸带如图所示,其中O点为起始点,A、B、C为三个计数点,打点计时器通以50 Hz交流电,在计数点AB之间、BC之间还各有一个点,重锤的质量为0.5kg,根据以上数据当打点针打到B点时重锤的重力势能比开始下落时减少了_______J;这时它的动能是________J;根据上面这两个数据你能得到的结论是: ________________________。(结果保留三位有效数字)

查看答案和解析>>


同步练习册答案