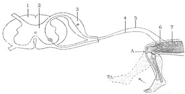
(2006?德州)膝跳反射是人体最简单的反射,在临床上常用于诊断患者的神经系统是否受损或患病.图是该反射的示意图,请据图回答问题:

(1)构成[4]的神经元的细胞体位于[
[2]
[2]
]
脊髓灰质
脊髓灰质
内.
(2)当用橡皮锤敲击图中A处时,完成膝跳反射的途径是
7-5-2-4-6
7-5-2-4-6
(用序号和箭头表示).
(3)用橡皮锤敲击图中A处时,若受试者已有思想准备,他能按自己的意愿抵制或加强这一反射.这说明
脊髓里的神经中枢受大脑控制
脊髓里的神经中枢受大脑控制
.
(4)若某患者不能完成膝跳反射,但触摸皮肤仍有感觉,说明脊髓的[
1
1
]
白质
白质
没有受损或患病.
(5)与“谈虎色变”的反射相比,膝跳反射的特点是.
先天性,不需要大脑参与.
先天性,不需要大脑参与.
.