A.vsinαcosβ B.vcosαcosβC.vcosα/cosβD.vcosβ/cosα●同向运动的物体.距离最大或恰好追上时.速度相等.例6:如图所示.在光滑水平桌面上放有长为L的长木板C.在C上左端和距左端s处各放有小物块A和B.A.B的体积大小可忽略不计.A.B与长木板C间的动摩擦因数为μ.A.B.C的质量均为m.开始时.B.C静止.A以某一初速度v0向右做匀减速运动.设物体B与板C之间的最大静摩擦力等于滑动摩擦力.求: 查看更多

 

题目列表(包括答案和解析)

如图所示,物体A以速度v沿杆匀速下滑,A用细绳通过定滑轮拉物体B 当绳与水平夹角为时,B的速度为(    )

A.vcos           B.vsin            C.v/cos           D.v/sin

 

查看答案和解析>>

如图所示,一汽车沿水平方向运动,当运动到某点时,绳与水平方向的夹角为θ,若此时车的速度为v,则物体M的速度大小是

A.vsinθ?          B.vcosθ

C.v/sinθ           D.v/cosθ

 

查看答案和解析>>

如图所示,一汽车沿水平方向运动,当运动到某点时,绳与水平方向的夹角为θ,若此时车的速度为v,则物体M的速度大小是
A.vsinθ?B.vcosθ
C.v/sinθD.v/cosθ

查看答案和解析>>

如图所示,一汽车沿水平方向运动,当运动到某点时,绳与水平方向的夹角为θ,若此时车的速度为v,则物体M的速度大小是

A.vsinθ?B.vcosθ
C.v/sinθD.v/cosθ

查看答案和解析>>

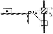
如图所示,一汽车沿水平方向运动,当运动到某点时,绳与水平方向的夹角为θ,若此时车的速度为v,则物体M的速度大小是(    )

??A.vsinθ?    ?   B.vcosθ??         C.v/sinθ??     D.v/cosθ

查看答案和解析>>


同步练习册答案