0  183302  183310  183316  183320  183326  183328  183332  183338  183340  183346  183352  183356  183358  183362  183368  183370  183376  183380  183382  183386  183388  183392  183394  183396  183397  183398  183400  183401  183402  183404  183406  183410  183412  183416  183418  183422  183428  183430  183436  183440  183442  183446  183452  183458  183460  183466  183470  183472  183478  183482  183488  183496  447090 

40.(8分) 40.为了调查太湖某一水层是否有自养生物存在,及其产氧量能否维持本层水体生物呼吸耗氧所需,可用黑白瓶法测定该水层生物昼夜平均代谢率来判定。白瓶为透明玻璃瓶。其水体溶解O2的昼夜变化值为水中生物光合作用产生的O2与呼吸消耗的O2的差值(以WDO表示);黑瓶为黑布罩住的玻璃瓶,瓶中水体溶解O2的昼夜变化值为水中生物呼吸消耗的O2 (以BDO表示)。请完成下列实验。

(1)实验步骤:

①用采水器取该层水样,分别注满500mL黑、白瓶并密封.

剩余水样用于测               

②将黑、白瓶               

                       

(2)设计记录所测数据的表格。

(3)预测实验结果并分析。

试题详情

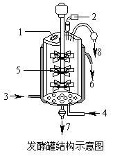
39.(8分)右图为谷氨酸发酵装置图。

(1)图中3,6处是发酵罐夹层中水的进出口,水在发酵罐夹层流动的作用是  

(2)谷氨酸发酵液的pH应控制在7-8范围内,随着代谢产物的积累,发酵液pH变化趋势是  ,控制办法是   。发酵过程中,若谷氨酸积累过量,会抑制   的活性,导致合成途径中断,这种代谢调节方式称为   调节。

(3)如果在4处通入空气,谷氨酸产量会   ,原因是  

试题详情

38.(7分)20世纪50年代,科学家受达尔文进化思想的启发,广泛开展了人工动、植物育种研究。通过人工创造变异选育优良的新品种。这-过程人们形象地称为“人工进化”。

(1)某农民在水稻田中发现一矮秆植株,将这株水稻连续种植几代,仍保持矮秆,这种变异主要发生在细胞分裂的   期。

(2)我国科学家通过航天搭载种子或块茎进行蔬菜作物的育种,用空间辐射等因素创造变异。这种变异类型可能属于      。与诱变育种方法相比,DNA重组技术最大的特点是  

(3)若以某植物抗病高秆品种与感病矮秆品种杂交,选育抗病矮秆品种,其依据的遗传学原理是   。假设该植物具有3对l同源染色体,用杂种一代花药离体培养获得单倍体,其单倍体细胞中的染色体(遗传物质)完全来自父本的概率为  

(4)“人工进化”和自然界生物进化-样,它们的实质都是  

试题详情

37.(10分)近年来。一些城镇、社区修建了人工湖泊。以改善居民生活环境。右图是某新建人工湖泊的生物类群关系。请回答下列问题。

(1)谈湖泊生态系统食物链有   条。鱼类与贝类关系是  

(2)该湖泊被排人过量居民生活污水后,水体逐渐变绿、发臭,从生物因素分析,潮水变绿的原因是   ,发臭的原因是  

(3)有人利用贝类滤食藻类的习性进行控制藻类的实验,实验结果如图所示。

从图中可以看出,虽然挂养贝类的水体中藻类密度呈上升趋势,仍能推论贝类可以有效控制藻类,理由是    。贝类对藻类最大滤食量在第    天。

(4)有的湖泊中藻类虽然得到了有效控制,但湖中水草却疯长了,并带来负面影响,下列控制水草疯长不合理的措施是   

①打捞水草,开发利用  ②引水稀释 ③使用除草剂 ④控制污水排入

(5)有人提出大量引种水花生、水葫芦抑制藻类及水草疯长。你认为这样做会引起哪些不良后果?    

试题详情

36.(8分)下图为人体内物质代谢过程示意图,请据图回答。

(1)食物中蛋白质的营养价值主要在于    能否满足机体的需要。

(2)图中A、B、C的物质名称分别是            

(3)在线粒体中进行的途径有   (用图中标号表示);能够发生脱氨基作用的途径有   量(用图中标号表示)。

(4)高糖膳食会导致肥胖,用图中标号表示其中物质转化途径    

试题详情

35.(9分)下图是单克隆抗体制备流程阶段示意图。

(1)    技术是单克隆抗体技术的基础。

(2)根据培养基的用途分类,图中培养基属于    培养基。

(3)单克隆抗体与常规的血清抗体相比。最大的优越性是    

(4)动物细胞融合除了采用植物细胞原生质体融合常用诱导剂外,还可以采用    

(5)选出的杂交瘤细胞既具备骨髓瘤细胞的    特点,又具备淋巴细胞的    特点。

(6)淋巴细胞是由动物体    中的    细胞分化、发育而来。

(7)杂交瘤细胞从培养基中吸收葡萄糖、氨基酸的主要方式是   M 

试题详情

34.(10分)以下是与高中生物实验有关的内容。

(1)请将下列实验名称与材料、试剂、用具的对应关系用连线表示。每项只准选择一次。

实验名称
材料、试剂、用具
探索淀粉酶对淀粉和蔗糖的作用 细胞质流动的观察 温度对淀粉酶活性的影响 叶绿体中色素的提取和分离 观察植物细胞的有丝分裂
黑藻 斐林试剂 碘液 载玻片 乙醇

(2)做“叶绿体中色素的提取和分离”实验时,西滤液细线要注意的事项是   ;为了防止丙酮和苯危害我们身体健康,在研磨和层析分离时应当分别采取的操作措施是

      

(3)某同学做“观察植物细胞的有丝分裂”实验时,绘制了细胞分裂期的三个时期模式图,请你在答题卡绘图区画出细胞分裂期中所缺时期的模式图。     

试题详情

33.(6分)某患者一只眼球受伤导致晶状体破裂,若不立即摘除,则另一只健康眼睛也将失明。其主要原因是流出的晶状体蛋白进入血液后成为    ,进而使T淋巴细胞活化,同时使B淋巴细胞致敏,随后由    细胞分泌    促进致敏 B淋巴细胞增殖分化成        。产生的抗体将攻击另一只眼球组织。由此引起的跟疾在免疫学上称为    病。

试题详情

32.已知玉米籽粒黄色对红色为显性,非甜对甜为显性。纯合的黄色非甜玉米与红色甜玉米杂交得到F1,F,自交或测交,预期结果正确的是

A.自交结果中黄色非甜与红色甜比例9:l

B.自交结果中黄色与红色比例3:1.非甜与甜比例3:l

C.测交结果为红色甜:黄色非甜:红色非甜:黄色甜为1:1:1:1

D.测交结果为红色与黄色比例1:1,甜与非甜比例1:1

试题详情

31.右图甲为被子植物种子形成过程的某一阶段,乙为脊椎动物个体发育过程的某一时期。下列叙述正确的是

A.甲中l部位的细胞继续分裂和分化,发育成胚

B.被子植物在达到开花年龄后,其营养器官的生长就会停止

C.乙中的细臆继续分裂、移动和分化,可发育成原肠胚

D.卵裂期胚的细胞数目增多、体积增大

试题详情


同步练习册答案