0  184235  184243  184249  184253  184259  184261  184265  184271  184273  184279  184285  184289  184291  184295  184301  184303  184309  184313  184315  184319  184321  184325  184327  184329  184330  184331  184333  184334  184335  184337  184339  184343  184345  184349  184351  184355  184361  184363  184369  184373  184375  184379  184385  184391  184393  184399  184403  184405  184411  184415  184421  184429  447090 

35.(7分)科学家针对某种动物细胞中的细胞膜、核膜、线粒体内膜和线粒体外膜的化学成分进行分析,结果如下表。请据此回答:

膜结构名称
蛋白质(质量分数%)
脂质(质量分数%)
糖类(质量分数%)
a
49
43
8
b
76
24
0
c
52
48
0
d
59
41
0

  (1)a、b、c、d等膜结构,在生物学上统称为         

  (2)最可能代表细胞膜的是            ,因为              

                                   

                ,这与它具有的          功能是相适应的。

  (3)根据上表中数据分析构成细胞膜和细胞器膜的化学物质组成上的共同点是                                    

                                   

             ,化学物质组成的主要区别是           

         

试题详情

34.(5分)如下图,用动物受精卵做下列三个实验,请回答有关问题:

  (1)提取受精卵的核单独培养,不久退化消失,说明                 

              

  (2)把去掉核的细胞单独培养,不久也消失,说明                 

                                 

  (3)给去掉核的受精卵的细胞质里移入新核,进行培养,不仅能正常生活,而且能进行细胞分裂。这说明                           

                  

  (4)在显微镜下去掉变形虫的细胞核,发现其代谢减弱,运动停止;当重新移入一个新的细胞核后,它又逐渐恢复正常的生命活动。由此得出的结论是         

                                   

                           

试题详情

33.(6分)下列是某化合物的结构简图,据图回答:

  (1)④的名称是       

  (2)该多肽由          种氨基酸组成,这些氨基酸的共同结构特点是   

                                   

                             

  (3)形成该化合物的生物化学反应叫做          ,在该过程中,相对分子质量减少了                                

                                 

试题详情

                           

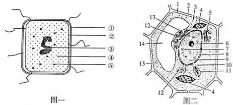
  (2)幽门螺杆菌细胞与植物细胞相比较,共同的结构有              

            

  (3)图二中与蛋白质加工、合成、分泌有直接关系的具膜的细胞器有        。(填写序号)

  (4)若图二所示的细胞是洋葱的根尖分生区细胞,则图中不应该有的结构是液泡和[   ]       

32.(6分)完成下面的概念图:

试题详情

31.(7分)2005年诺贝尔生理学或医学奖授予澳大利亚学者巴里·马歇尔和罗宾·沃伦,以表彰他们20年前发现了幽门螺杆菌。图一所示为幽门螺杆菌细胞模式图;图二是植物细胞的亚显微结构图,请据图回答(在[   ]中填号码,在横线上填文字)

  

试题详情

30.下表数据是A、B、C、D四种不同的树苗在不同溶液中的生长结果,其中受N、P元素影响最大的树苗是                         (   )

植物
最初干重
2个月后的干重(g)
只含水
含N、P不含K
含N、K不含P
含K、P不含N
含N、P、K
A
0..038
0.077
0.47
0.75
0.079
0.48
B
0.056
0.082
0.084
0.65
0.091
0.68
C
0.044
0.063
0.065
0.71
0.68
0.72
D
0.083
0.12
0.81
0.13
0.14
0.83

2,4,6
 
第Ⅱ卷(非选择题,共40分)

试题详情

29.若用同一显微镜观察同一标本4次,每次仅调整目镜或物镜和细准焦螺旋,结果得到下面各图。试问其中视野最暗的是                                                (   )

试题详情

28.科学家在利用无土栽培法培养一些名贵花卉时,培养液中添加了多种必需化学元素,其配方如下:

离子
K+
Na+
Mg2+
Ca2+
NO-3
H2PO42-
SO42-
Zn2+
培养液浓度(g/L)
1
1
0.25
1
2
1
0.25
1

其中花卉根细胞吸收最少的离子是                                  (   )

    A.Ca2+                    B.SO42-                   C.Zn2+                    D.H2PO42-

试题详情

27.生物体内的蛋白质千差万别,其原因不可能是                         (   )

    A.组成肽键的化学元素不同

    B.组成蛋白质的氨基酸种类和数量不同

    C.氨基酸排列顺序不同             

    D.蛋白质的空间结构不同

试题详情

26.将一黑色公绵羊的体细胞核移入到一白色母绵羊去除细胞核的卵细胞中,再将此细胞植入一黑色母绵羊的子宫内发育,生出的小绵羊即是“克隆绵羊”。那么此“克隆绵羊”为                        (   )

    A.黑色公绵羊     B.黑色母绵羊     C.白色公绵羊     D.白色母绵羊

试题详情


同步练习册答案