0  192939  192947  192953  192957  192963  192965  192969  192975  192977  192983  192989  192993  192995  192999  193005  193007  193013  193017  193019  193023  193025  193029  193031  193033  193034  193035  193037  193038  193039  193041  193043  193047  193049  193053  193055  193059  193065  193067  193073  193077  193079  193083  193089  193095  193097  193103  193107  193109  193115  193119  193125  193133  447090 

28、由于怕饭菜太烫,来不及冷却而影响小明的早餐,妈妈总是很早就起床了。为了让妈妈多睡一会儿,小明就想找到一种让物体快速冷却的方法。为此小明进行了如下的探究:

小明注意到妈妈是把饭菜放在空气中冷却的,而厨房中适合用来冷却的另一种物质就是水。水和空气哪个的导热性能好呢?为此小明用两个相同的牛奶瓶,都装入热牛奶,一个放在温度与室温相同的水中,另一个就放在空气中,为了尽量减少其他因素的影响,他把两个瓶都用木块垫起来,放在同一个桌面上.如图12-2-10所示.实验时他每隔一定的时间记录一次甲、乙两温度计的示数,得到的数据如下表:

时间/min
0
2
4
6
8
10
12
14
16
18
甲的示数/℃
70
60
53
47
42
39
37
35
34
33
乙的示数/℃
70
66
61
58
55
52
50
48
46
44

图12-2-10

(1)对甲、乙两个瓶中的牛奶,小明要控制它们哪些量相同?         ; 

(2)小明通过实验,得到的正确结论是什么?               ;

(3)进一步分析表中甲的示数,小明又发现,在冷却过程中,牛奶冷却的快慢前后并不一致,是越来越_______的。小明想用"冷却速度"(用字母V代表)来定量表示冷却的快慢程度,请你给物理量下个定义:_____________________________叫做冷却速率。

(4)小明又仔细分析了冷却速度变小的原因,认识到这是因为牛奶冷却的快慢还会受到________的影响。

(5)根据(4)中的分析,小明终于找到了一个用水使物体快速冷却的办法,并且举一反三,明白了工业生产中使用流水喷淋法冷却高温物体的好处:

①____________________________________________

②____________________________        

试题详情

27、用打气筒给自行车车胎打气,过一会筒壁会发热,试解释这种现象。

能力点三  通过课外活动探究和解决实际问题

试题详情

26、2003年10月15日9时整,我国自行研制的“长征”2号F型火箭载着“神舟”五号载人飞船成功升入太空,绕地球飞行数圈后又于10月16日6时54分顺利返回地面,实现了我国第一次载人航天飞行。返回舱在穿越地球大气层疾速下降的过程中与空气剧烈摩擦,其表面温度急剧升高。这时,返回舱的(    )

A、重力势能减小,机械能不变,内能增加

B、重力势能减小,动能增加,机械能增加

C、重力势能减小,机械能减小,内能增加

D、重力势能减小,机械能减小,内能不变

试题详情

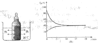
25、小刚为了研究热传递过程中温度变化与时间的关系,他将装有热奶的奶瓶放入室温的水中,如图12-2-9(A)所示。小刚每隔一定的时间记录一次水温,作出了图12-2-9(B)所示的图像。请你根据图像判断,大约经过    min,热奶和水达到了热平衡,此时的水温约为   ℃。

        图12-2-9

试题详情

23.做功和热传递在改变物体的内能上是等效的.在图12-2-7中属于热传递改变物体内能的是(   )

      A        B          C         D

图12-2-7

试题详情

22、关于物体内能的几种说法中,下列说法正确的是   (  )

A、水有内能,冰没有内能

B、水蒸气具有的内能一定比水具有的内能大

C、一杯水的温度越高,它具有的内能越大

D、一杯水放在高处比放在低处时具有的内能大

能力点二 生活中的内能

试题详情

21、冬天,人们用往手上呵气或两手互相摩擦的方法取暖,前者是利用________方法

使手的内能增加的,后者用________方法,把________能转化成______能。

综合*创新练   拓展思维  提升素质

能力点一 正确理解内能和热量的概念及物理意义             图12-2-6

试题详情

20.如图12-2-6所示,在一个配有活塞的厚玻璃筒里放一小团棉花,

把活塞迅速往下压,可以观察到棉花燃烧.这现象表明活塞压缩空气做功,

使空气的_____增加,温度_____,达到棉花燃点使棉花燃烧。

试题详情

19、如图12-2-5是小红利用小瓶、橡皮塞和玻璃管自制的液体温度计。该温度计是根据液体     的规律来工作的。实际使用中发现该温度计玻璃管中液柱变化不明显,导致示数不准确。对此,请你提出一条改进的建议:            

方法技巧二  应用内能的影响条件分析解决实际问题

试题详情


同步练习册答案