0  196638  196646  196652  196656  196662  196664  196668  196674  196676  196682  196688  196692  196694  196698  196704  196706  196712  196716  196718  196722  196724  196728  196730  196732  196733  196734  196736  196737  196738  196740  196742  196746  196748  196752  196754  196758  196764  196766  196772  196776  196778  196782  196788  196794  196796  196802  196806  196808  196814  196818  196824  196832  447090 

1.电路

(1)两种电荷:自然界只存在两种电荷正电荷和负电荷.规定:用绸子摩擦过的玻璃棒带的电荷是正电荷,用毛皮摩擦过的橡胶棒带的电荷是负电荷。电荷间存在互作用力--同种电荷互相排斥,异种电荷互相吸引。

(2)电荷量Q:电荷的多少叫电荷量,简称电荷.电荷的单位是库,符号是C

(3)电流:电荷的定向移动形成电流。

(4)电流的方向:规定正电荷定向移动的方向为电流的方向。形成电流时,定向移动的电荷可能是正电荷,也能是负电荷,还可能是正负电荷同时向相反方向移动。根椐规定可知,负电荷定向移动的方向与电流方向相反。

(5)电源;能持续提供电流的装置叫电源,电源是把其他形式的能转化为电能的装置。

(6)干电池和蓄电池对外供电时,化学能转化为电能;发电机供电是机械能转化为电能;太阳能电池供电时,太阳能转化为电能。

(7)导体:容易导电的物体叫导体。导体容易导电,是因为导体中有大量的可以自由移动的电荷。金属、石墨、人体、大地和各种酸、碱、盐的水溶液等都是导体。金属是重要的导体。金属导电靠的是金属中带负电的自由电子,所以金属中的电流方向与自由电子定向移动的方向相反。 

(8)绝缘体:不容易导电的物体叫绝缘体。绝缘体不易导电,是因为绝缘体中的电荷几乎都被束缚在原子或分子的范围内,不能自由移动。橡胶、塑料、玻璃、陶瓷、油、空气等都是绝缘体。

注意;导体和绝缘体之间并没有绝对界限,在一般情况下不容易导电的物体,当条件改变时就可能导电。如:玻璃是很好的绝缘体,但当加热到红炽状态时,就成了导体;干燥的木头是绝缘体,但潮湿后就成了导体。

(9)电路的基本连接方式:

①串联电路:把元件逐个顺次连接起来的电路。串联电路中,电流只有一条通路,某处断开,全电路都无电流。

②并联电路:把元件并列连接起来的电路。并联电路中,干路的电流在分支处分成若干条支路;某一支路断开,其他支路仍是通路。

正确识别串联电路和并联电路是解答电学题的基础,望同学们能高度重视,掌握这一基本技能。识别串联电路。关键要抓住电流只有一条回路。识别并联电路,关键要抓住每一条支路上只有一个用电器。

(10)通路、开路、短路:接通的电路叫通路(有电流):断开的电路叫开路(无电流);直接把导线接在电源上叫短路(电流很大,会烧坏电源或引起火灾)。

(11)电路中有持续电流的条件:(1)必须有电源;(2)电路是通路。

试题详情

6.原来室内的电灯均正常发光,当把台灯的插头插入插座时,室内电灯全部熄灭,保险丝熔断,发生这一现象的原因可能是     (  )

A.台灯的功率太大

B.台灯插头处短路

试题详情

5.安装照明电路时,为厂检测电路安装是否正确,在接通电源前将火线上的保险丝取下,换成一个额定电压为的白炽灯泡。同时断开所有用电器的开关,接通电源后发现灯泡正常发光.由此可以判定   (   )

A.电路安装正确

B.电路安装不正确,某处有短路

C.电路安装不正确,某处有开路

D.条件不够,无法判断

试题详情

4.如图2-119所示,电磁铁通电时小磁针处于静止,则小磁针的端是_________极;当变阻器滑片向右滑动时,电磁铁的磁性将________。

试题详情

3.在图2-117中画出甲、乙两个通电螺线管的绕线方法,要求开关闭合后,甲、乙两通电螺线管互相排斥。

试题详情

2.如图2-116所示是小新同学做“制作、研究电磁铁”实验的示意图,他在实验中发现大铁钉A比B能吸引更多的大头针.根据图示的实验现象他得出的结论是:当_______一定时,电磁铁的线圈匝数越多,磁性_________将滑动变阻器的滑片向右移动时,铁钉吸引的大头针将_____ (填“变多”、“变小”或“没有变化”),这说明电磁铁的磁性还与_______有关。

试题详情

1.如图2-115所示的实验现象蕴含着许多物理知识。请你举一例说明:__________________。

试题详情

2.安全用电

中考的热点内容主要集中在:家庭心路、安全用电。

主要考查的内容有照明电路的组成;短路的危害和保险丝的作用;家庭用电的计算和测量;安全用电常识。这部分内容在知识体系上是电路、电流、电压、电阻、电功、电功率等内容的综合应用,而且和生活有着密切联系。所以考题内容也以在生活中的应用为主,所以要熟悉家庭电路的连接形式,认识电能表并能用电能表计算用电器的功率,知道保险丝的作用,选用保险丝的原则,安全用电的原则和规则等。

中考题型常为填空、选择、作图、实验、计算、问答题。

典型例题

例1  关于磁场和磁感线,下列说法中正确的是   (   )

A.磁场是看不见摸不着,所以是不可认识的

B.磁场中某点,磁针静止时北极所指的方向是该点的磁场方向

C.从磁体周围铁屑分布形状可知,磁感线在磁场中真实存在  

D.磁感线都是从磁体的北极出发到它的南极终止

解析:本题主要考查磁场、磁感线的基本概念。

对于磁场的概念要注意理解:磁场是磁体周围存在着的一种看不见、摸不着的物质;磁场的基本性质是对放入其中的磁体产生磁力的作用,利用它的这种性质,我们可以研究它;磁场有方向性,在磁场中的任一点,小磁针静止时北极所指的方向即是该点的磁场方向。

对于磁感线的理解,须注意以下几个方面:

(1)磁感线是为了形象地描述磁场分布的强弱、方向而建立的一种模型,在磁体周围并不存在。我们要学会用“磁感线”这一物理模型研究“磁场”的思维方法.与此类似的有我们前面学过的用“光线”表示光的传播路径和方向;

(2)磁体周围的磁感线分布是立体的,并不是只有某一平面上才有,我们画图时,画出的只是某个平面上的磁感线分布;

(3)磁感线是有方向的,曲线上任一点的方向,即该点的切线方向就是该点的磁场方向;

(4)磁体周围的磁感应线都是从磁体的北极出来,回到它的南极,形成闭合的曲线;

(5)磁感线不会相交;

(6)磁感线的疏密可以表示磁场的强弱。

答案:B

例2如图2-108所示,在条形磁体上的上方有一个小磁针,试确定在磁场的作用下,小磁针静止时在该点的指向。

解析:本题主要考查磁体周围磁感线的分布特点。

这类确定小磁针静止时的指向的题型的一般思路为:先画出经过小磁针所在点的磁感线。再根据磁感线的方向确定小磁针的极指向。反过来,如果知道了磁场中某点的小磁针的极性和静止时的指向。也可以确定该磁感线的方向。进而推知产生磁场的磁体的磁极。

答案:见图2-109。

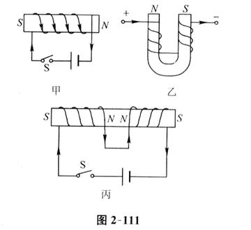
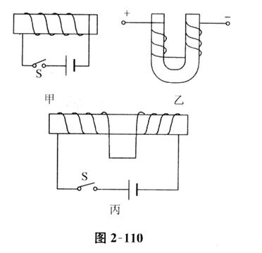
例3(2002·江西)在图2-110中标出通电螺线管

解析:本题主要考查通电螺线管的右手螺旋定则,先标出螺线管中的电流方向,再根据安培定则判断通电螺线管的磁极。

答案:见图2-111。

例4在图2-112四个实验装置中能说明发电机工作原理的是   (   )

解析:发电机是利用电磁感应现象工作的,是把机械能转化为电能的装置,在判断时可先考虑有电源的肯定不是发电机工作原理的装置,这样已排除了B、C、D,其实B图表示通电导体周围存在磁场。C、D表示通电导体(导线或线圈)在磁场中受力运动。

答案:A

习题精粹

试题详情

1.电磁现象

中考的热点内容主要集中在:磁体和磁极、磁场和磁感线、电流的磁场、电磁铁、电磁感应、发电机、磁场对电流的作用。

电和磁反映的是电流与磁场的相互关系。简单的磁现象、磁场、电流的磁场、电磁感应是考查的重点。而且历年的中考题,大都注重考查学生的能力。如,正确运用安培定则的能力,关于电磁铁在实际应用中的能力等。

强调由实验现象分析规律,再将规律应用到实际中。所以把欧姆定律、电磁铁、安培定则、磁相互作用等知识综合在一起的试题及电能的输送将会是考查的新热点。

中考题型常为填空、选择、作图、实验、问答题。

试题详情

2.生活用电

(1)家庭电路的组成,包括电度表、总开关、保险盒、用电器四部分。

(2)家用电器的连接采取并联。

(3)保险丝的规格常以额定电流和熔断电流表示,二者与保险丝直径对照编列成表,是电工手册中的重要技术数据之一,选择保险丝应使其额定电流等于或稍大于线路正常工作的最大电流。

(4)家庭电路常见的故障有断路和短路。

(5)引起家庭电路中电流过大的原因,可能是连接的用电器功率过大,或发生了短路。

(6)安全用电的主要内容是避免电流超过电线规定的值而引起火灾;防止人畜触电事故发生;用电器的额定电压应与电源电压一致。

(7)安全用电的原则是不接触低压带电体,不靠近高压带电体。

中考命题预测

通电螺线管及电磁铁的磁场和绕线方法,是这部分知识考题的主要来源,另外,简单磁现象及其应用,也是本部分考题的基本题型。

家庭电路的基本组成和连接方式及电路中各元件的位置和作用,保险丝的正确接入,螺丝口电灯的正确接法服和保险比熔断的原因,构成生活用电中招考题的基本类型。

 归纳总结

试题详情


同步练习册答案