0  197325  197333  197339  197343  197349  197351  197355  197361  197363  197369  197375  197379  197381  197385  197391  197393  197399  197403  197405  197409  197411  197415  197417  197419  197420  197421  197423  197424  197425  197427  197429  197433  197435  197439  197441  197445  197451  197453  197459  197463  197465  197469  197475  197481  197483  197489  197493  197495  197501  197505  197511  197519  447090 

5、两只鸡蛋相碰往往只碰破其中一内,有关碰撞时相互间力的作用的说法正确的是(   )

A、两只鸡蛋受力一样大    B、破的那只鸡蛋受力大

C、未破的那只鸡蛋受力大   D、两只鸡蛋受力大小无法比较

试题详情

4、关于光学器材和设备,下列说法正确的是(   )

A、“老花镜”是将像成在了视网膜的后面

B、放大镜只能成放大的像

C、使用幻灯机时,为了在屏幕上得到正立的像,幻灯片应正立放置

D、用照相机拍摄集体照片时发现有人没有进入镜头,应该减小物距,加大像距

试题详情

3、下图中成放大实像的是(   )

试题详情

2、下面关于近视的说法中正确的是(   )

A、近视眼镜片能把太阳光会聚于一点 

B、近视眼镜是发散透镜

C、“度数”越大的近视眼镜片,凹面弯曲越明显,焦距越大

D、近视眼眼睛本身就是发散透镜

试题详情

1、把凸透镜正对太阳,可在距凸透镜10cm处得到一个最小最亮的光斑。若用此透镜来观察邮票上较小的图案,则邮票到透镜的距离应(   )

A、大于10cm  B、小于10cm   C、大于20 cm  D、在10cm和20 cm之间

试题详情

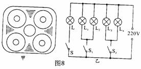
24、小明家的浴室新安装了一台可供冬季取暖和照明的电器,俗称“浴霸”,如图8甲所示,它的简化电路图如图8乙所示,其中L为标有“220V 40W”照明灯,L1、L2、L3、L4均标有“220V 300W”的红外线取暖灯。问:

(1)照明灯正常工作时通过灯丝的电流是多少?

(2)通常在洗浴前10min只闭合开关S1、S2开启红外线取暖灯给浴室预热,问在这10min内“浴霸”消耗的电能是多少?

居巢区黄麓中心学校2008/2009学年度第二学期摸底考试(一)

试题详情

23、小明要设计一个照明电路,现有两盏规格为“12V 12W”的灯泡和一个12V的太阳能电池。

(1)一盏“12V 12W”的灯泡正常发光,10h消耗多少千瓦时的电能?

(2)若这两灯泡串联接在太阳能电池上,总功率是多少?

(3)若这两灯泡并联接在太阳能电池上,总功率是多少?

(4)要提高照明效果,两灯泡应该串联还是并联接入电路?为什么?

试题详情

22、小明家买了一台“220V 1500W”的热水器,由于安装的位置离固定插座太远,便到商店买了标有“220V 6A”字样的多功能插座、标有“220V 10A”字样的双脚插头以及导线,组装了一个多孔的移动插座。请问:(1)这台热水器与其他家用电器之间的连接方式    ;(2)从安全用电的角度指出这个移动插座存在问题的两个地方并说明原因:

                                   

                                   

试题详情

21、小明测量额定电压为3.8V的小灯泡的额定功率,使用6V的电源。连接电路前发现电压表的0~15V档已损坏,0~3V档完好,他马上改接电路,完成实验。

(1)请用笔画线代替导线,将图7甲实物电路连接完整。

(2)连好电路闭合开关,移动变阻器滑片到某一点,电压表的示数为3V。要测量小灯泡的额定功率,还应将滑动变阻器滑片向   移动(填“左”、“右”);当电压示数为   V时,小灯泡正常发光,此时电流表的指针位置如图7乙所示,可得出小灯泡的额定功率

     W。

(3)小明完成实验后,他改变滑动变阻器的阻值,记录电流表、电压表的几组示数,然后确认小灯泡的电流、电压,算出几组电阻值,求出的平均值就是小灯泡正常发光的电阻。他的方法是      的(选填“正确”、“不正确”),原因是         

                 。(写一种即可)

试题详情

20、如图6所示是“探究电流通过导体产生的热量与导体电阻间关系”的实验装置,两阻值分别为R和2R的电阻丝浸在相同质量和初温的煤油中,每一烧瓶中各插入一温度计。请回答下列问题:

(1)合上开关,经一段时间,两电阻丝产生热量的多少是通过             反映出来的;

(2)采用这种连接方式的目的是               

试题详情


同步练习册答案