0  277413  277421  277427  277431  277437  277439  277443  277449  277451  277457  277463  277467  277469  277473  277479  277481  277487  277491  277493  277497  277499  277503  277505  277507  277508  277509  277511  277512  277513  277515  277517  277521  277523  277527  277529  277533  277539  277541  277547  277551  277553  277557  277563  277569  277571  277577  277581  277583  277589  277593  277599  277607  447090 

12.某闭合电路的路端电压U随外电阻R变化的图线如图1-30-6所示,则电源的电动势为_______,内电阻为_______,当U=2 V时,电源的输出功率为_______.

试题详情

11.如图所示是一个由电池、电阻R与平行板电容器组成的串联电路,在增大电容器两极板间距离的过程中

A.电阻R中没有电流

B.电容器的电容变小

C.电阻R中有从a流向b的电流

D.电阻R中有从b流向a的电流

试题详情

10.调整如图所示电路的可变电阻R的阻值,使电压表V的示数增大ΔU,在这个过程中

A.通过R1的电流增加,增加量一定等于ΔU/R1

B.R2两端的电压减小,减少量一定等于ΔU

C.通过R2的电流减小,但减少量一定小于ΔU/R2

D.路端电压增加,增加量一定等于ΔU

试题详情

9.在如图所示的电路中,R1R2为定值电阻,R3为可变电阻,电源的电动势为E,内阻为r .设电流表A的读数为I,电压表V的读数为U .当R3滑动触点向图中a端移动,则

A.I变大,U变小

B.I变大,U变大

C.I变小,U变大

D.I变小,U变小

试题详情

8.如图所示,直线OAC为某一直流电源的总功率P随电流I变化的图线.抛物线OBC为同一直流电源内部热功率Pr随电流I变化的图线.若A、B的横坐标为1 A,那么AB线段表示的功率等于

A.1 W                            B.3 W

C.2 W                             D.2.5 W

试题详情

7.如图1-30-4所示的电路中,闭合电键S后,灯L1L2都正常发光,后来由于某种故障使灯L2突然变亮,电压表读数增加,由此推断,这故障可能是

A.L1灯灯丝烧断             B.电阻R2断路

C.电阻R2短路                  D.电容器被击穿短路

试题详情

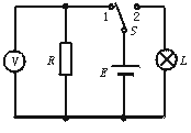
6.如图所示,电源E的电动势为3.2 V,电阻R的阻值为30 Ω,小灯泡L的额定电压为3.0 V,额定功率为4.5 W,当电键S接位置1时,电压表的读数为3 V,那么当电键S接到位置2时,小灯泡L的发光情况是

A.很暗,甚至不亮   B.正常发光    C.比正常发光略亮       D.有可能被烧坏

试题详情

5.如图1-30-2所示,直线A为电源的U-I图线,直线B为电阻RU-I图线,用该电源和电阻组成闭合电路时,电源的输出功率和电路的总功率分别是

A.4 W、8 W                       B.2 W、4 W

C.4 W、6 W                       D.2 W、3 W

试题详情

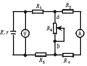
4.(2002年全国高考理科综合能力试题)在如图所示的电路中,R1R2R3R4皆为定值电阻,R5为可变电阻,电源的电动势为E,内阻为r0,设电流表A的读数为I,电压表V的读数为U0,当R5的滑动触点向图中a端移动时,

A.I变大,U变小                B.I变大,U变大

C.I变小,U变大                D.I变小,U变小

试题详情

3.一太阳能电池板,测得它的开路电压为800 mV,短路电流为40 mA,若将该电池板与一阻值为20 Ω的电阻器连成一闭合电路,则它的路端电压是

A.0.10 V        B.0.20 V     C.0.30 V            D.0.40 V

试题详情


同步练习册答案