0  347881  347889  347895  347899  347905  347907  347911  347917  347919  347925  347931  347935  347937  347941  347947  347949  347955  347959  347961  347965  347967  347971  347973  347975  347976  347977  347979  347980  347981  347983  347985  347989  347991  347995  347997  348001  348007  348009  348015  348019  348021  348025  348031  348037  348039  348045  348049  348051  348057  348061  348067  348075  447090 

28.(7分)下图A的四个部分(1一Ⅳ)是四种类型细胞的部分亚显微结构模式图,请据图回答:

  (1)图A中,属于低等植物细胞的是     (填编号),这是因为其含有[   ]      ;四种类型的细胞都含有的细胞器是      

  (2)图A的Ⅳ中,结构⑥的主要功能是        

  (3)有的同学说:“处于有丝分裂间期的细胞Ⅱ,细胞核中的主要变化是DNA分子的复制和蛋白质的合成”,你认为他的说法正确吗?      (正确、不正确)。

  (4)若图Ⅱ表示根尖分生区细胞,则该图像中应该去掉的结构有    (填符号),且该细胞在显微视野中的形状一般为     

试题详情

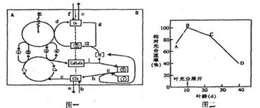
27.(7分)图一表示高等植物叶肉细胞内的A、B两项生理过程及其关系图解,①-⑦代表物质,a-h表示生理过程,Ⅰ-Ⅲ代表B生理过程中的各个阶段。图二表示鸭茅(一种绿色植物,幼叶成蜷曲状)相对光合速率(%)与叶龄的关系。请据图分析回答:

 

  (1)图一A生理过程发生的能量变化是            

  (2)图一8生理过程共分为三个阶段,能在细胞质基质中进行的是       阶段,产生能量最多的阶段是              

  (3)图一中⑥和⑦代表的物质依次是          

  (4)图二中B点的含义是    ,CD段相对光合速率明显下降的原因是         

  (5)在其它条件适宜,而光照强度恰为光补偿点时,单位时间内a-h生理过程中速率相等的有         

试题详情

26.(7分)在高中生物实验中,常遇到下列问题,分析回答:

  (1)“检测生物组织中的脂肪”实验中,用高倍镜观察时,发现部分脂肪滴位于花生子叶的细胞之间,可能的原因有                   

  (2)某学生观察洋葱根尖细胞有丝分裂装片时发现被观察的材料边缘为浅蓝色,中间为     白色。其原因是                          

  (3)使用低倍显微镜观察到洋葱根尖细胞有丝分裂的中期图像后换上高倍物镜,经调节形成清晰图像,但没有观察到中期图像,原因是             

  (4)探究温度对酶活性的影响时,使用过氧化氢酶往往不能达到预设实验结果。其原因是                   

  (5)利用标志重捕法调查所得的种群密度比实际值偏高的原因是        

  (6)探究pH影响果胶酶活性的实验中,需要设置不同pH条件下的对照。某小组同学实 验时发现难以将果汁的pH调整到合适的数值,而只能调整好酶液的不同pH值,再分别与果汁混合。果汁的pH难以调整的原因是              

试题详情

25.某同学在“探究生长素类似物NAA促进银杏插条生根的最适浓

度”实验中获得了右图所示结果,有关本实验分析或评价的叙述

正确的是                    (   )

     A.实验中盛有不同浓度的小培养皿必须加盖,其原因是避免水分

蒸发引起溶液浓度变化

     B.促进银杏插条生根的最适浓度为c

     C.银杏插条上侧芽的数目及饱满程度属于无关变量,各组需保持一致

     D.在探究过程中,很有可能促进生根数目相同,而NAA的浓度不同

第Ⅱ卷  (非选择题   共65分)

试题详情

24.右图表示一个生物群落中甲、乙两个种群的增长速率随时间变

化的曲线,下列叙述中正确的是          (   )

     A.甲、乙两种群可能为竞争关系,甲的竞争力小于乙,竞争

强度随时问变化弱一强一弱

     B.t2一t3时间内甲种群出生率下降,死亡率上升,但出生率

仍大于死亡率

     C.t1t2时间内甲、乙种群呈“S”增长

     D.t3一t5时间内甲、乙两种群的年龄组成不同

试题详情

23.可以用于重组DNA技术的酶是                                                 (   )

     A.DNA聚合酶                        B.限制性核酸内切酶

     C.DNA连接酶     D.反转录酶

试题详情

22.下列关于造成相关实验失败的原因分析中,正确的是                          (   )

     A.制作腐乳的卤汤时,料酒加的量较多,易造成豆腐腐败变质

     B.制作果酒时,先除去葡萄的枝梗再进行冲洗,可能造成葡萄霉烂

     C.制作果醋时,通氧不足或温度过低,造成发酵失败

     D.用加酶洗衣粉洗涤污渍时,浸泡时间不足,造成洗涤效果差

试题详情

21.图1表示某生物的基因b转录过程中的局部分子状态,图2表示该生物体细胞内基因和染色体之间关系,该生物的黑色素产生需要如图3所示的三种基因共同参与控制,根据题意分析,下列说法不正确的是               (   )

     A.图1所示的过程,一定要有DNA连接酶和RNA聚合酶参与

     B.根据图2所示的基因型,可以推知该生物体一定不能合成黑色素

     C.若图3中的1个b基因突变为B,则该生物体仍然可以合成出物质乙

     D.图2所示的生物体中,可能存在含有4个基因b的细胞

试题详情

20.有关细胞凋亡、坏死与癌变的说法,正确的是                                 (   )

     A.细胞坏死常引起炎症;细胞癌变,代谢增强

     B.细胞凋亡受基因控制;细胞癌变不受基因控制

     C.细胞坏死,膜通透性降低;细胞癌变,膜黏着性增强

     D.细胞癌变,细胞周期延长;细胞凋亡,细胞周期变短

试题详情

19.海龟中有连趾(ww)和分趾(WW、Ww)两种类型;开始时,连趾(w)和分趾(W)的基因频率分别为0.4和0.6。当海龟数量增加导致食物不足时,连趾的海龟更容易从海水中得到食物。若干万年后,基因频率变化成W为0.2,w为0.8。下列有关说法正确的是                                                    (   )

     A.海龟基因频率的改变,是因为缺少食物的特殊环境使之产生了定向变异

     B.海龟受环境影响而产生的变异都是不能遗传的

     C.海龟基因频率的改变,说明海龟在自然选择的作用下发生了定向的进化

     D.海龟基因频率已发生了很大变化,说明海龟已经进化形成一个新的物种

试题详情


同步练习册答案