0  410020  410028  410034  410038  410044  410046  410050  410056  410058  410064  410070  410074  410076  410080  410086  410088  410094  410098  410100  410104  410106  410110  410112  410114  410115  410116  410118  410119  410120  410122  410124  410128  410130  410134  410136  410140  410146  410148  410154  410158  410160  410164  410170  410176  410178  410184  410188  410190  410196  410200  410206  410214  447090 

15.(8分)

解:(1)设物块到达B点的速度为vB,由……………………… (2分)

解得:……………………………………………………………………… (1分)

(2)设支持力为FN,由……………………………………………………… (2分)

解得……………………………………………………………………………(1分)

(3)设物块和小车的最终速度为v,由mvB=(M+m)v,得:……(2分)

试题详情

(崇文区2008---2009学年度第一学期高三期末统一练习)7.一辆汽车在平直公路上以恒定功率加速行驶,行驶过程中受到的阻力不为零,下列说法正确的是

A.速度增量与加速时间成正比

B.动能增量与加速时间成正比

C.能达到的最大速度与阻力成反比

D.加速度与牵引力成正比

答案:C

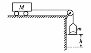
(宣武区2008-2009学年度第一学期期末质量检测)9.如图所示,把小车放在光滑的水平桌面上,用轻绳跨过定滑轮使之与盛有沙子的小桶相连,已知小车的质量为M,小桶与沙子的总质量为m,把小车从静止状态释放后,在小桶下落竖直高度为h的过程中,若不计滑轮及空气的阻力,下列说法中正确的是()

①绳拉车的力始终为mg

②当M远远大于m时,才可以认为绳拉车的力为mg

③小车获得的动能为mgh

④小车获得的动能为 Mmgh/(M+m)

A.①③      B.②④  C.①④    D.②③

答案:B

(宣武区2008-2009学年度第一学期期末质量检测)7.如图所示,一个小球沿竖直固定的光滑圆形轨道的内侧做圆周运动,圆形轨道的半径为R,小球可看作质点,则关于小球的运动情况,下列说法错误的是()

 A?小球的线速度方向时刻在变化,但总在圆周切线方向上

 B?小球通过最高点的速度可以等于0

 C?小球线速度的大小总大于或等于

 D?小球转动一周的过程中,外力做功之和等于0

答案:B

(崇文区2008---2009学年度第一学期高三期末统一练习)8.质量相等的两木块AB用一轻弹簧栓接,静置于水平地面上,如图(a)所示。现用一竖直向上的力F拉动木块A,使木块A向上做匀加速直线运动,如图(b)所示。从木块A开始做匀加速直线运动到木块B将要离开地面时的这一过程,下列说法正确的是(设此过程弹簧始终处于弹性限度内 )

A.力F一直增大

B.弹簧的弹性势能一直减小

C.木块A的动能和重力势能之和先增大后减小

D.两木块A、B和轻弹簧组成的系统的机械能先增大后减小

答案:A

(东城区2008-2009学年度第一学期期末教学目标检测)7.下列说法正确的是(  )              

A.质点做自由落体运动,每秒内重力所做的功都相同

B.质点做平抛运动,每秒内动量的增量都相同

C.质点做匀速圆周运动,每秒内合外力的冲量都相同

D.质点做简谐运动,每四分之一周期内回复力做的功都相同

答案:B

(丰台区2008-2009学年度第一学期期末考试)6.在奥运比赛项目中,高台跳水是我国运动员的强项.质量为m的跳水运动员进入水中后受到水的阻力而竖直向下做减速运动,设水对他的阻力大小恒为F,那么在他减速下降深度为h的过程中,下列说法正确的是(g为当地的重力加速度)  (  )

A.他的动能减少了Fh

B.他的重力势能减少了mgh

C.他的机械能减少了(Fmg)h

D.他的机械能减少了Fh

答案:BD

(石景山区2008--2009学年第一学期期末考试试卷)4.一位高三学生以恒定的速率从学校教学楼的一层上到四层,该同学上楼过程中克服自身重力做的功最接近:

A.60 J     B.6.0×102 J     C.6.0×103 J     D.6.0×104 J

答案:C

(崇文区2008---2009学年度第一学期高三期末统一练习)14.(7分)如图所示,质量为m=2.0kg的小滑块,由静止开始从倾角的固定的光滑斜面的顶端A滑至底端B,A点距离水平地面的高度h=5.0m,重力加速度g取10m/s2,求:

(1)滑块由A滑到B经历的时间;

(2)滑块由A滑到B的过程中重力的最大功率。

解析:(1)物块沿斜面下滑受到重力和斜面支持力,由牛顿第二定律。得小滑块沿斜面运动的加速度a

a=F/m    a=m/s2

滑块沿斜面由AB的位移为 =10m

滑块由AB做匀加速运动的时间为t

  得s

(2)滑块到达斜面底端时速度达到最大

=10m/s

重力的最大功率为  

Pm=100W

(东城区2008-2009学年度第一学期期末教学目标检测)23.(10分)如图所示,在同一竖直平面内两正对着的相同半圆光滑轨道,相隔一定的距离,虚线沿竖直方向,一小球能在其间运动。今在最低点与最高点各放一个压力传感器,测试小球对轨道的压力,并通过计算机显示出来。当轨道距离变化时,测得两点压力差与距离x的图像如右图所示。(不计空气阻力,g取10 m/s2)求:

(1)小球的质量;

(2) 相同半圆光滑轨道的半径;

(3)若小球在最低点B的速度为20 m/s,为使小球能沿光滑轨道运动,x的最大值。

23(10分)分析和解:(1)设轨道半径为R,由机械能守恒定律:

--------------------------①(2分)

在B点:-----------------------------②(1分)

在A点:------------------------------③(1分)

由①②③式得:两点的压力差:------④(1分)

由图象得:截距   ,得---------------------------⑤(1分)

(2)由④式可知:因为图线的斜率 

 所以……………………………………⑥(2分)

(3)在A点不脱离的条件为:   ------------------------------⑦(1分)

由①⑥⑦三式和题中所给已知条件解得:--------------------------⑧(1分)

(丰台区2008-2009学年度第一学期期末考试)21.(12分)如图所示,斜面顶端距水平面高度为h,质量为m1 的小物块A从斜面顶端由静止滑下,进入水平滑道时无机械能损失,为使A制动,将轻弹簧的一端固定在水平滑道左端M处的墙上,另一端与质量为 m2 挡板 B相连,弹簧处于原长时,B恰位于滑道上的 O点。A与 B碰撞时间极短,碰后结合在一起共同压缩弹簧,已知在 OM段 A、B 与水平面间的动摩擦因数均为,其余各处的摩擦不计,重力加速度为 g,求

(1)物块 A在与挡板 B碰撞前瞬间速度 v的大小;

(2)物块 A在与挡板 B碰撞后瞬间速度的大小;

(3)弹簧最大压缩量为 d时的弹性势能 Ep(设弹簧处于原长时弹性势能为零)。

21.(12分)解:

(1)由机械能守恒定律,有

                                 (4分)

(2)A、B在碰撞过程中内力远大于外力,由动量守恒,有

                   (4分)

(3)A、B克服摩擦力所做的功

由能量守恒定律,有 

解得           (4分)

(石景山区2008--2009学年第一学期期末考试试卷)15.(8分)如图所示,水平光滑地面上停放着一辆小车,左侧靠在竖直墙壁上,光滑圆弧轨道AB的最低点B与足够长的水平轨道相切,整个轨道处于同一竖直平面内.可视为质点的物块从A点正上方H处无初速度下落,恰好落入小车圆弧轨道,并沿半径为R的四分之一圆弧轨道滑下,最终小车与物块一起运动.已知小车的质量为M,物块的质量为m,不考虑空气阻力和物块落入圆弧轨道时的能量损失,(重力加速度用g表示).求:

(1)物块到达B点时的速度大小?

(2)物块到达圆弧轨道最低点B时,轨道对它的支持力的大小?

(3)物块和小车的最终速度大小?

试题详情

18.(9分)

解:(1)万有引力提供向心力  (2分)

求出             (1分)

  (2)月球表面万有引力等于重力    (2分)

  求出            (1分)

(3)根据            (2分)

  求出             (1分)

试题详情

(东城区2008-2009学年度第一学期期末教学目标检测)11.物体做曲线运动时,其加速度(   )

    A.一定不等于零      B.一定不变   C.一定改变        D.可能不变

答案:AD

(北京市西城区2009年抽样测试)1.下列说法正确的是  

A.匀速圆周运动是加速度不变的运动

B.简谐运动是加速度不变的运动

C.当物体做曲线运动时,所受的合外力一定不为零

D.当物体速度为零时,加速度一定为零

答案:C

(北京市西城区2009年抽样测试)4.在高速公路的拐弯处,通常路面都是外高内低。如图所示,在某路段汽车向左拐弯,司机左侧的路面比右侧的路面低一些。汽车的运动可看作是做半径为R的圆周运动。设内外路面高度差为h,路基的水平宽度为d,路面的宽度为L。已知重力加速度为g要使车轮与路面之间的横向摩擦力(即垂直于前进方向)等于零,则汽车转弯时的车速应等于      

A.   B.      

C.   D.

答案:B

(北京市西城区2009年抽样测试)11.如图,从地面上方某点,将一小球以5m/s的初速度沿水平方向抛出。小球经过1s落地。不计空气阻力,g =10m/s2。则可求出    

A.小球抛出时离地面的高度是5 m

B.小球从抛出点到落地点的水平位移大小是5m

C.小球落地时的速度大小是15m/s

D.小球落地时的速度方向与水平地面成300

答案:AB

(东城区2008-2009学年度第一学期期末教学目标检测)12.已知引力常量G、月球中心到地球中心的距离R和月球绕地球运行的周期T。仅利用这三个数据,可以估算出的物理量有(   )

    A.月球的质量       B.地球的质量  

    C.地球的半径       D.月球绕地球运行速度的大小

答案:BD

(石景山区2008--2009学年第一学期期末考试试卷)6.我们的银河系的恒星中大约四分之一是双星.某双星由质量不等的星体S1S2构成,两星在相互之间的万有引力作用下绕两者连线上某一定点C做匀速圆周运动.由天文观察测得其运动周期为TS1C点的距离为r1S1S2的距离为r,已知引力常量为G.由此可求出S2的质量为:

A.    B.     C.     D.

答案:D

(丰台区2008-2009学年度第一学期期末考试)2.科学研究发现,在月球表面没有空气,没有磁场,重力加速度约为地球表面的l/6。若宇航员登上月球后,在空中从同一高度同时释放氢气球和铅球,忽略地球和其他星球的影响,以下说法正确的是(  )

A.氢气球和铅球都将下落,且同时落到月球表面

B.氢气球和铅球都将下落,但铅球先落到月球表面

C.氢气球将加速上升,铅球将加速下落

D.氢气球和铅球都将上升

答案:A

(宣武区2008-2009学年度第一学期期末质量检测)5?如果把水星和金星绕太阳运行的轨道视为圆周,那么由水星和金星绕太阳运动的周期之

  比可求得()

  A?水星和金星绕太阳的动能之比      B?水星和金星的密度之比

  C?水星和金星到太阳的距离之比      D?水星和金星的质量之比

答案:C

(崇文区2008---2009学年度第一学期高三期末统一练习)15.(8分)2008年9月我国成功发射神舟七号载人航天飞船。如图所示为神舟七号绕地球飞行时的电视直播画面,图中数据显示,飞船距地面的高度约为地球半径的。已知地球半径为R,地面附近的重力加速度为g,设飞船、大西洋星绕地球均做匀速圆周运动。

(1)估算神舟七号飞船在轨运行的加速度大小;

(2)已知大西洋星距地面的高度约为地球半径的6倍,估算大西洋星的速率。

解析:(1)飞船绕地球做匀速圆周运动的加速度为a,飞船质量为m1,由万有引力定律和牛顿第二定律得

      ①

    

 由物体在地球表明受到的万有引力近似等于物体重力得

     ②

由①②式得 

(2)大西洋星绕地球做匀速圆周运动的速度为v、质量为m2,由万有引力定律和牛顿第二定律,得

  ③

=6R

由②③式得

(丰台区2008-2009学年度第一学期期末考试)20.(12分)2008年9月25日,我国继“神舟”五号、六号载人飞船后又成功地发射了“神舟”七号载人飞船。如果把“神舟”七号载人飞船绕地球运行看作是同一轨道上的匀速圆周运动,宇航员测得自己绕地心做匀速圆周运动的周期为T、距地面的高度为H,且已知地球半径为R、地球表面重力加速度为g,万有引力恒量为G。你能计算出下面哪些物理量?能计算的量写出计算过程和结果,不能计算的量说明理由。

(1)地球的质量 ;

(2)飞船线速度的大小;

(3)飞船所需的向心力。

20.(12分)解:

(1)能求出地球的质量M                      (1分)

方法一: = mg    M =               

   方法二: =  M =    (3分)

(写出一种方法即可)

(2)能求出飞船线速度的大小V                   (1分)

V =   ( 或R  )             (3分)

(3)不能算出飞船所需的向心力                   (1分)

因飞船质量未知                         (3分)

(北京市西城区2009年抽样测试)18.(9分)2007年10月24日,我国“嫦娥一号”探月卫星成功发射。“嫦娥一号”卫星开始绕地球做椭圆轨道运动,经过变轨、制动后,成为一颗绕月球做圆轨道运动的卫星。设卫星距月球表面的高度为h,做匀速圆周运动的周期为T。已知月球半径为R,引力常量为G。求:

(1)月球的质量M

(2)月球表面的重力加速度g

(3)月球的密度ρ

试题详情

17.(9分)

解:(1)物体受力如右图所示            (1分)

由牛顿运动定律  mgsinθ μN = ma    (1分)

       N mgcosθ = 0    (1分)

解得       a = gsinθ μgcosθ = 3.6m/s2  (1分)

   (2) 由              (1分)

       求出            (1分)

(3)由匀变速直线运动规律       (1分)

由牛顿第二定律          (1分)

解得               (1分)

(丰台区2008-2009学年度第一学期期末考试)13.(6分)如图所示,轻质光滑滑轮两侧用轻绳连着两个物体AB,物体B放在水平地面上,AB均静止。已知AB的质量分别为mAmB,绳与水平方向的夹角为θ(θ<90º),重力加速度为g,则物体B受到的摩擦力为        ;物体B对地面的压力为       

答案:mAgcosθ;  mBg - mAgsinθ  。

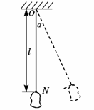
(北京市西城区2009年抽样测试)2.如图所示,轻绳MONO共同吊起质量为m的重物。MO

NO垂直,MO与竖直方向的夹角θ = 30°。已知重力加速度

g则                   

A.MO所受的拉力大小为  B.MO所受的拉力大小为

C.NO所受的拉力大小为  D.NO所受的拉力大小为2mg  

答案:A

试题详情

18.(10分)解:

(1)取物体运动方向为正,由平衡条件有

Fcosθ-f = 0     N = mg-Fsinθ     又f =μN    

所以有                 (4分)

(2)  由牛顿第二定律有  -μmg=ma   a = -μg=-0.4×10m/s2= -4 m/s2   (3分)

(3)据0-v02=2as   m              (3分)

(石景山区2008--2009学年第一学期期末考试试卷)13.(8分)质量为8×107kg的列车,从某处开始进站并关闭动力,只在恒定阻力作用下减速滑行.已知它开始滑行时的初速度为20m/s,当它滑行了300m时,速度减小到10m/s,接着又滑行了一段距离后刚好到达站台停下,那么:

(1)关闭动力时列车的初动能为多大?

(2)列车受到的恒定阻力为多大?

(3)列车进站滑行的总时间为多大?

解:(1)列车的初动能J=1.6×1010 J……………………………(2分)

(2)由动能定理有: …………………………………………………(2分)

解得列车受到的阻力N=4×107N…………………………(1分)

(3)由动量定理有:-f•t=mvt –mv0……………………………………………………………… (2分)

解得列车滑行的总时间 s=40 s…………………………………(1分)

(北京市西城区2009年抽样测试)17.(9分)如图为一滑梯的示意图,滑梯的长度ABL= 5.0m,倾角θ=37°。 BC段为与滑梯平滑连接的水平地面。一个小孩从滑梯顶端由静止开始滑下,离开B点后在地面上滑行了s = 2.25m后停下。小孩与滑梯间的动摩擦因数为μ = 0.3。不计空气阻力。取g = 10m/s2。已知sin37°= 0.6,cos37°= 0.8。求:

(1)小孩沿滑梯下滑时的加速度a的大小;  

(2)小孩滑到滑梯底端B时的速度v的大小;   

(3)小孩与地面间的动摩擦因数μ′。 

试题详情

(崇文区2008---2009学年度第一学期高三期末统一练习)1.如图所示,两个物体AB,质量分别为Mm,用跨过定滑轮的轻绳相连,A静止于水平地面上,不计摩擦,则下列说法正确的是

A.物体A对绳的作用力大小为Mg

B.物体A对绳的作用力大小为mg

C.物体A对地面的作用力大小为Mg

D.物体A对地面的作用力大小为(M+m) g

答案:B

(东城区2008-2009学年度第一学期期末教学目标检测)1.如下图是力学中的三个实验装置,这三个实验共同的物理思想方法是 (   )

A.控制变量的方法  B.放大的思想方法  C.比较的思想方法  D.猜想的思想方法

答案:B

(丰台区2008-2009学年度第一学期期末考试)1.关于下列力的说法中,正确的是(  )

A.合力必大于分力

B.运动物体所受摩擦力的方向一定和它运动方向相反

C.物体受摩擦力时一定受弹力,而且这两个力的方向一定相互垂直

D.处于完全失重状态下的物体不受重力作用

答案:C

(石景山区2008--2009学年第一学期期末考试试卷)1.下列四个选项中,用平行四边形定则计算的物理量是:

A.位移     B.质量       C.时间      D.功

答案:A

(石景山区2008--2009学年第一学期期末考试试卷)3.如图所示,两根相同的轻弹簧S1、S2,劲度系数皆为k=4×102N/m.悬挂的重物的质量分别为m1=2kg和m2=4kg.若不计弹簧质量,取g=10m/s2,则平衡时弹簧S1、S2的伸长量分别为:

A.15 cm、10 cm           B.10 cm、15 cm

C.5 cm、10 cm           D.10 cm、5 cm

答案:A

(东城区2008-2009学年度第一学期期末教学目标检测)2.如图所示,一同学沿一直线行走,现用频闪照相记录了他行走中9个位置的图片,观察图片,能大致反映该同学运动的速度-时间图象的是(   )

 

答案:C

(石景山区2008--2009学年第一学期期末考试试卷)5.一个以初速度沿直线运动的物体,t秒末速度为,如图,关于t秒内物体运动的平均速度和加速度的说法中,正确的是:

A.

B.

C.恒定

D.随时间逐渐减小

答案:D

(东城区2008-2009学年度第一学期期末教学目标检测)9.如图所示,一斜面体静止在粗糙的水平地面上,一物体恰能在斜面体上沿斜面匀速下滑,可以证明此时斜面不受地面的摩擦力作用.若沿平行于斜面的方向用力F向下推此物体,使物体加速下滑,斜面体依然和地面保持相对静止,则斜面体受地面的摩擦力  (   )

A.大小为零   B.方向水平向右

C.方向水平向左  D.大小和方向无法判断

答案:A

(宣武区2008-2009学年度第一学期期末质量检测)2.一运动员双手对称地握住单杠,使身体悬空。设每只手臂所受的拉力都是T,它们的合力

  是F,若两臂之间的夹角增大了,则()

  A?T和F都增大        B?T和F都减小

  C?T增大,F不变       D?T不变,F增大

答案:C

(宣武区2008-2009学年度第一学期期末质量检测)3.如图所示,升降机里的物体m被轻弹簧悬挂,物体与升降机原来都处于

  竖直方向的匀速直线运动状态,某时刻由于升降机的运动状态变化而导

  致弹簧突然伸长了,则此时升降机的运动状态可能为  ()

   ①加速下降   ②减速下降    ③加速上升    ④减速上升

   A?①②    B?②③     C?①④     D?③④

答案:B

(东城区2008-2009学年度第一学期期末教学目标检测)16. 静止在光滑水平面上的物体,受到水平拉力F的作用,拉力F随时间t变化的图象如图所示,则(   )

 A.0-4s内物体的位移为零

 B.0-4s内拉力对物体做功为零

 C. 4s 末物体的速度为零

 D.0-4s内拉力对物体冲量为零

答案:BCD

(丰台区2008-2009学年度第一学期期末考试)3.在静止的小车内,用细绳ab系住一个小球,绳a处于斜向上的方向,拉力为Fa,绳b处于水平方向,拉力为Fb,如图所示.现让小车从静止开始向右做匀加速运动,此时小球相对于车厢的位置仍保持不变,则两根细绳的拉力变化情况是( )

A.Fa变大,Fb不变

B.Fa变大,Fb变小

C.Fa变大,Fb变大

D.Fa不变,Fb变小

答案:D

(丰台区2008-2009学年度第一学期期末考试)5.一物块以某一初速度沿粗糙的斜面向上沿直线滑行,到达最高点后自行向下滑动,不计空气阻力,设物块与斜面间的动摩擦因数处处相同,下列哪个图象能正确地表示物块在这一过程中的速率与时间的关系?(   )

                                            

答案:C

(北京市西城区2009年抽样测试)3.如图所示,质量为M的木板放在水平桌面上,一个质量为m的物块置于木板上。木板与物块间、木板与桌面间的动摩擦因数均为μ。现用一水平恒力F向右拉木板,使木板和物块体共同向右做匀加速直线运动,物块与木板保持相对静止。已知重力加速度为g下列说法正确的是  

 

A.木板与物块间的摩擦力大小等于0

B.木板与桌面间的摩擦力大小等于F

C.木板与桌面间的摩擦力大小等于μMg

D.木板与桌面间的摩擦力大小等于μ ( M+m ) g

答案:D

(东城区2008-2009学年度第一学期期末教学目标检测)18.(8分)如图所示,质量为0.78kg的金属块放在水平桌面上,在与水平方向成37°角斜向上、大小为3.0N的拉力F作用下,以2.0m/s的速度向右做匀速直线运动.(sin37°=0.60,cos37°=0.80,g取10m/s2)求:

(1)金属块与桌面间的动摩擦因数;

(2)如果从某时刻起撤去拉力,撤去拉力后金属块在桌面上滑行的最大距离。

18.(8分)分析和解:

(1)     因为金属块匀速运动,所以

   ………………(2分)

…………(2分)

(2)撤去拉力后a==μg ………  (1分)

=4m/s2 ………(1分)

金属块在桌面上滑行的最大距离s =  ………(1分)

=

=0.5m……………… (1分)

(丰台区2008-2009学年度第一学期期末考试)18.(10分)如图所示,质量为0.78kg的金属块放在水平地面上,在大小为3.0N、方向与水平方向成角的拉力F作用下,以4.0m/s的速度沿地面向右做匀速直线运动。已知sin=0.6,cos=0.8,g取10m/s2。求:

(1)    金属块与地面间的动摩擦因数;

(2)    如果从某时刻起撤去拉力F,此后金属块的加速度大小;

(3)    撤去拉力F后金属块在地面上还能滑行多远?

 

试题详情

(崇文区2008---2009学年度第一学期高三期末统一练习)12.某同学用伏安法测一节干电池的电动势E和内电阻r,所给的其它器材有:

A.电压表V:0-3-15V

B.电流表A:0-0.6-3A

C.变阻器R1(20Ω,1A)

D.变阻器R2(1000Ω,0.1A)

E.电键S和导线若干

(1)实验中电流表应选用的量程为     ;电压表应选用的量程为     ;变阻器应选用    (标明变阻器代号);

(2)根据实验要求连接实物电路图;

(3)实验测得的6组数据已在U-I图中标出,如图所示。请你根据数据点位置完成U-I图线,并由图线求出该电池的电动势E=________V,电阻r=________Ω.

 

 

 

 

 

 

 

 

 

 

 

答案:(1)0-0.6A;0-3V;R 1   (2) 图略    (3)1.5;0.50

(崇文区2008---2009学年度第一学期高三期末统一练习)13.某同学在一次“测定金属的电阻率”的实验中,用米尺测量金属丝的接入长度为l=0.720m,用螺旋测微器测量金属丝直径(刻度位置如图所示),用伏安法测出金属丝的电阻(阻值大约为5Ω),然后根据电阻定律计算出该金属材料的电阻率。

在用伏安法测定金属丝的电阻时,除被测电阻丝外,还有如下实验器材:

A.直流电源:电动势约3 V,内阻很小;

B.电流表A:量程0-0.6 A,内阻约为0.125Ω;

C.电压表V:量程0-3 V,内阻3 kΩ;

D.滑动变阻器:最大阻值20Ω;

E.开关、导线等。

(1)从图中读出金属丝的直径为     mm;

(2)根据所提供的器材,在如图所示的方框中画出测定金属丝电阻率的实验电路图;

(3)若根据伏安法测出电阻丝的阻值为Rx=4.0Ω,则这种金属材料的电阻率为   Ω·m.(保留二位有效数字)。

答案:(1)0.600   (2)(3)

(东城区2008-2009学年度第一学期期末教学目标检测)17.(1)(8分)在测定金属丝电阻率的实验中,如图甲所示,用螺旋测微器测得金属丝的直径d=__________mm。如图乙所示,用多用电表的“×1”欧姆挡,调零后测得金属丝阻值R=_________Ω,若实验中测出金属丝的长度为L,则该金属丝电阻率的表达式ρ=_________(用符号表示)。

  (1)0.730;8.0(8也给分);。(前两空分别为2分,第三空4分)

(丰台区2008-2009学年度第一学期期末考试)17.(6分)有一个纯电阻用电器的电阻约为20Ω,试设计一个能较精确地测量该用电器电阻的电路,要求使该用电器两端的电压变化范围尽可能大。可选用的器材有:

电源:电动势为8V,内电阻为1.0Ω

电流表:量程0.6A,内阻RA为0.50Ω

电压表:量程10V,内阻RV为10kΩ

滑动变阻器:最大电阻值为5.0Ω

开关一个、导线若干。

(1)在方框内画出实验电路图;

(2)用该电路可以使用电器两端的电压变化范围约为____________V;

(3)若实验中在用电器正常工作的状态下电流表的示数为I,电压表的示数为U,考虑到电表内阻的影响,用测量量及电表内阻计算用电器正常工作时电阻值的表达式为_________________。

 

答案:17.(1)如答图1; (2)0-6.4;  (3)。 

(海淀区高三年级第一学期期末练习)11A.为完成电场中等势线的描绘实验,某同学准备使用如图16所示的实验器材:

电源E(电动势为12V,内阻不计);

木板N(板上从下往上依次叠放白纸、复写纸、导电纸各一张);

两个金属条AB(平行放置在导电纸上,与导电纸接触良好,用作电极);

滑线变阻器R(其总阻值大于两平行电极间导电纸的电阻);

直流电压表V(量程为6V,内阻很大,其负接线柱与金属条A相连,正接线柱与探针P相连);

开关K,以及导线若干。

现要用图中仪器描绘两平行金属条AB间电场中的等势线。AB间的电压要求取为6V。

(1)在图中连线,画成实验电路原理图。

(2)下面是主要的实验操作步骤,将所缺的内容填写在横线上方。

a.接好实验电路,变阻器的滑动触头移到阻值最大处。

b.合上K,并将探针PB相接触。

c               

d.用探针压印的方法把AB的位置标记在白纸上。画一线段连接AB两极,在连线上选取间距大致相等的5个点作为基准点,用探针把它们的位置压印在白纸上。

e.将探针P与某一基准点相接触,                      用相同的方法找出此基准点的一系列等势点。

f.重复步骤e找出其它4个基准点的等势点。取出白纸画出各条等势线。

11A.(1)

(2)c.调节R ,使电压表示数为6V 

e.在导电纸上移动探针,找此基准点的等势点。并压印在白纸上

(海淀区高三年级第一学期期末练习)11B.在“电场中等势线的描绘”实验中,用在导电纸上形成的电流场模拟静电场,描绘一个平面上的等势线。现有一位同学想模拟带负电的点电荷附近电场在一个平面上的等势线,他在木板上依次铺上白纸、复写纸、导电纸,并用图钉固定,然后在导电纸中央平放上一个小圆柱形电极A,如图17所示。

 

(1)还需要怎样一个电极?答:       。在图17画出该电极,并用连线完成实验电路的连接。

(2)通电后,要描绘出过C点的等势线,还需要的仪器是:         

(3)在图17俯视图中,通电后,当将灵敏电流表一个探针接触C点,将另一个探针由C点附近,沿CB滑动的过程中,灵敏电流表指针与零刻度夹角的变化情况是(  )

A.逐渐增大      B.逐渐减小

C.先变大后变小    D.先变小后变大

11B.(1)圆环形电极;如答图

(2)灵敏检流计

(3)C

(海淀区高三年级第一学期期末练习)12A.在“把电流表改装成电压表”实验中:

(1)改装前需要测量电流表G的内阻Rg,可以用图18所示电路来测定。图中R1是电位器(功能同滑动变阻器),R2是电阻箱。只闭合开关S1,调整R1的阻值,使电流表指针偏转到满刻度(Ig)。再闭合开关S2,调整R2的阻值,使电流表指针偏转到正好是满刻度的。关于这种测量表头内阻的方法,下列说法正确的是                        (   )

A.当电流表G的示数从满偏电流Ig调到满刻度的时,R2中实际电流也等于Ig/3

B.当电流表G的示数从满偏电流Ig调到满刻度的时,R2中实际电流稍大于Ig/3

C.在此实验中表头内阻的测量值R大于其真实值R g

D.选择电动势较大的电源,可以使表头内阻R g的测量值更接近真实值

(2) 用上述实验方法测得电阻箱R2 如图19所示, 则电流表G 的内阻Rg 约为     Ω 

12A.(1)B D;(2)304

(海淀区高三年级第一学期期末练习)12B.现有一块59C2型的小量程电流表G(表头),满偏电流为50μA,内阻约为800-850Ω,把它改装成1mA、10mA的两量程电流表。

可供选择的器材有:   

滑动变阻器R1,最大阻值20Ω;滑动变阻器R2,最大阻值100kΩ;

电阻箱R’,最大阻值9999Ω,定值电阻R0,阻值1kΩ;

电池E1,电动势1.5V;电池E2,电动势3.0V;电池E3,电动势4.5V;(所有电池内阻均不计)

标准电流表A,满偏电流1.5mA;

单刀单掷开关S1和S2,单刀双掷开关S3,电阻丝及导线若干。

(1)采用如图20所示电路测量表头的内阻,为提高测量精确度,选用的滑动变阻器为      ;选用的电池为     

(2)将G改装成两量程电流表。现有两种备选电路,如图21甲和乙所示。图     为合理电路,另一电路不合理的理由是        

 

(3)将改装后的电流表与标准电流表逐格进行核对(仅核对1mA量程),画出所用电路图,图中待核对的电流表符号用A'来表示。

12B.答案:(1)R2(或最大阻值100kΩ);E3(或电动势4.5V)。

(2) 甲;乙电路在通电状态下,更换量程会造成两分流电阻都未并联在表头两端,以致流过表头的电流超过其满偏电流而损坏

(3)如答图所示。

(海淀区高三年级第一学期期末练习)12C.利用如图22所示电路测量一量程为300mV的电压表的内阻RVRV约为300Ω。某同学的实验步骤如下:

① 按电路图正确连接好电路,把滑动变阻器R的滑片P滑到a端,闭合开关S2,并将电阻箱R0的阻值调到较大;

② 闭合开关S1,调节滑动变阻器滑片的位置,使电压表的指针指到满刻度;

③ 保持开关S1闭合和滑动变阻器滑片P的位置不变,断开开关S2,调整电阻箱R0的阻值大小,使电压表的指针指到满刻度的一半;读出此时电阻箱R0的阻值,即等于电压表内阻RV

实验所提供的器材除待测电压表、电阻箱(最大阻值999.9Ω)、电池(电动势约1.5V,内阻可忽略不计)、导线和开关之外,还有如下可供选择的实验器材:

A.滑动变阻器(最大阻值150Ω);

B.滑动变阻器(最大阻值50Ω);

根据以上设计的实验方法,回答下列问题:

(1)为了使测量比较精确,从可供选择的实验器材中,滑动变阻器R应选用    。(填序号)。

(2)对于上述测量方法,从实验原理分析可知,在测量无误的情况下,实际测出的电压表内阻的测量值R     (填“大于”、“小于”或“等于”)真实值RV;且在其他条件不变的情况下,若R越大,其测量值R的误差就越    (填“大”或“小”)。

12C.(1)B;(2)大于,大

(海淀区高三年级第一学期期末练习)12D.为了测量一个量程为3V的电压表的内阻RV(约几千欧),可以采用图23甲电路。

(1)试将图23乙所给实验仪器按实验电路连成测量电路。

(2)在测量时,可供选择的实验步骤有:

A.闭合开关K

B.将电阻箱R0的阻值调到最大;

C.将电阻箱R0的阻值调到零;

D.调节电阻箱R0的阻值使电压表的指针指示1.5V,记下此时R0的值;

E.调节变阻器R的滑动片P,使电压表的指针指示3.0V;

F.把变阻器R的滑动片P滑到a端;

G.把变阻器R的滑动片P滑到b端;

H.断开开关K

把必要的合理步骤选出来,按操作顺序将字母代号填在下面横线上      

(3)若在步骤D中读出R0的阻值为图23丙所示位置,则电压表的电阻为    Ω。用这种方法测出的电压表内阻与真实值相比偏      (填大或小)。

 

12D.(1)如答图所示; (2)GCAEDH; (3)2400,大

 

 

 

 

(海淀区高三年级第一学期期末练习)13A.下列所给是“描绘小灯泡的伏安特性曲线”实验中可供选择的实验仪器:

序号
器材
规格
序号
器材
规格
1
小灯泡
标有“3.8V,0.3A”字样
5
滑动变阻器R1
最大阻值10Ω,额定电流1.0A
2
电压表V
量程0-5V;内阻5kΩ
6
滑动变阻器R2
最大阻值1kΩ,额定电流0.5A
3
电流表A1
量程0-100mA;内阻4Ω
7
直流电源E
电动势约为6V,内阻约为0.5Ω
4
电流表A2
量程0-500mA;内阻0.4Ω
8
导线、电键等
 

(1)滑动变阻器应选        

(2)在虚线框内画出实验电路图。

 

(3)利用实验中得到实验数据在图24所示的I-U坐标系中,描绘得出了小灯泡的伏安特性曲线。根据此图给出的信息,若把该灯泡接到一个电动势为3.0伏,内阻为10Ω的直流电源时小灯泡发出的实际功率约为         。 (结果保留两位有效数字)

13A.(1)R1;(2)图略;(3)0.20

(海淀区高三年级第一学期期末练习)13B.如图25所示为一个小灯泡的两端电压与通过它的电流的变化关系曲线。

(1)若把三个相同这样的灯泡串联后,接到电压恒定的12V电源上,求流过小灯泡的电流为      A,小灯泡的电阻为     Ω。

(2)如图26所示,将同种规格的两个这样的小灯泡并联后再与10Ω的定值电阻串联,接在电压恒定的8V的电源上,则电流表的示数为     A,小灯泡的电阻为    Ω。

 

13B.(1)0.4,10;(2)0.6,6.7;

(石景山区2008--2009学年第一学期期末考试试卷)11.(4分)用如图所示的实验装置研究电磁感应现象.当有电流从电流表的正极流入时,指针向右偏转.下列说法哪些是正确的:

A.当把磁铁N极向下插入线圈时,电流表指针向左偏转

B.当把磁铁N极从线圈中拔出时,电流表指针向左偏转

C.保持磁铁在线圈中静止,电流表指针不发生偏转

D.磁铁插入线圈后,将磁铁和线圈一起以同一速度向上运动,电流表指针向左偏

答案:A C

(选全给4分,漏选给2分,有错选不给分)

试题详情

(崇文区2008---2009学年度第一学期高三期末统一练习)11.在验证机械能守恒定律的实验中,要验证的是重物重力势能的减少量等于它动能的增加量。以下步骤仅是实验操作的一部分,将必要的步骤挑选出来,并且按正确的顺序排列:____          __(填代号)。

A.把打点计时器固定在铁架台上,并用导线把它和交流电源连    接起来

B.用天平称出重锤的质量

C.把纸带的一端固定在重锤上,另一端穿过打点计时器的限位孔,把重锤提升到一定的高度

D.用秒表测出重锤下落的时间

E.释放纸带

F.重复几次,得到3-5条符合要求的纸带

G.接通电源

答案:ACGEF

(东城区2008-2009学年度第一学期期末教学目标检测)(3) (6分)某同学用如图所示的装置测定重力加速度。

①打出的纸带如图所示,实验时纸带的______端通过夹子和重物相连接。(选填“甲”或“乙”)

②纸带上1至9各点为计时点,由纸带所示数据可算出实验时的重力加速度为______  m/s2

③当地的重力加速度数值为9.8 m/s2,请列出测量值与当地重力加速度的值有差异的一个原因                

(3).①乙;② 9.4;③纸带和打点计时器间的摩擦阻力、空气阻力。

(每空2分)

(丰台区2008-2009学年度第一学期期末考试)15.(6分)有一游标卡尺,主尺的最小分度是1mm,游标上有20个小的等分刻度。用它测量一小球的直径,如图1所示的读数是        mm。 

用螺旋测微器测量一根金属丝的直径,如图2所示的读数是       mm。

             

答案:15.13.55mm ;  0.680mm(0.679mm或0.681mm)。

(丰台区2008-2009学年度第一学期期末考试)16.(6分)某同学研究小车在斜面上的运动,用打点计时器记录了小车做匀变速直线运动的位移,得到一段纸带如图所示。在纸带上选取几个相邻计数点A、B、C、D,相邻计数点间的时间间隔均为T BCD各点到A的距离为s1s2s3。由此可算出小车运动的加速度大小           ,打点计时器在打C点时,小车的速度大小vc       。(用已知的物理量符号表示)

 

答案:a = (s2-2s1) / T2  a = (s3-2s2+ s1) / T2  或a = (s3-s2-s1) / 2T2

   vc = (s3-s1) / 2T  。

(石景山区2008--2009学年第一学期期末考试试卷)12.(14分)在利用自由落体运动验证机械能守恒定律的实验中,电源的频率为50Hz,依次打出的点为0,1,2,3,4,…,n则:

 

① 在图中所示的两条纸带中应选取的纸带是       ,原因是         

           

② 如用从起点0到第3点之间来验证,必须直接测量的物理量为       ,必须计算出的物理量为        ,验证的表达式为             

③ 下列实验步骤操作合理的顺序排列是___________   _(填写步骤前面的字母)

A.将打点计时器竖直安装在铁架台上,

B.接通电源,再松开纸带,让重物自由下落,

C.取下纸带,更换新纸带(或将纸带翻个面)重新做实验,

D.将重物固定在纸带的一端,让纸带穿过打点计时器,用手提纸带,

E.选择一条纸带,用刻度尺测出物体下落的高度h1h2h3,…hn,计算出对应的瞬时速度v1v2v3,…,vn

F.分别算出mghn,在实验误差范围内看是否相等.

④ 本实验中,计算出从0点到某点重力势能的减少量与动能的增加量相比较,是偏小还是偏大?请写出减少偏差的实验改进措施.

答案:① (a); 前两点的距离接近2mm,近似于自由落体运动.(或a=9.75m/s2,接近g)

② 点0到点3的距离h3,点2至点4的距离h24,点3的瞬时速度v3

③ A D B C E F

④ 偏大.选用密度和质量较大的重物;打点计时器的限位孔在同一条竖直线上;纸带要竖直释放.(表述合理给2分)

注:题①2+2=4分;题②1+1+1+1=4分;题③2分(有排错不给分);题④2+2=4分

(宣武区2008-2009学年度第一学期期末质量检测)11?(4分)甲、乙、丙三位同学在使用不同的游标卡尺测量同一个物体的长度时,测量的结果分别如下:

甲同学:使用游标为50分度的卡尺,读数为120.45mm

乙同学:使用游标为20分度的卡尺,读数为120.4mm

丙同学:使用游标为10分度的卡尺,读数为120.4mm

从这些实验数据中可以看出读法正确的是。

答案:11.丙  (4分)

(宣武区2008-2009学年度第一学期期末质量检测)12.(12分)某同学在家里做用单摆测定重力加速度的实验,但没有合适的摆球,他找到了一块外形不规则的长条状的大理石块代替了摆球,他设计的实验步骤是:

A.将石块用细尼龙线系好,结点为N,将尼龙线的上端固定于O点;

B.用刻度尺测量ON间尼龙线的长度l作为摆长;

C.将石块拉开一个大约α =5°的角度,然后由静止释放;

D.从摆球摆到最高点时开始计时,测出30次全振动的总时间t,由T=t/30得出周期;

E?改变ON间尼龙线的长度再做几次实验,记下相应的lT

F?求出多次实验中测得的lT的平均值作为计算时使用的数

  据,带入公式g=(2π/T)2l求出重力加速度g。  请填空:

①   你认为该同学以上实验步骤中存在错误或不当的步骤是___________。(只填写相应的步骤代号即可)

②该同学用ON的长作l为摆长,这样做引起的系统误差将使重力

  加速度的测量值比真实值偏大还是偏小?答:__________。

③若用上述方法在两次实验中分别测得摆线长度为l1l2若其对

  应的周期分别为T1T2,则可以比较精确地推算出重力加速度的表达式为______________。答案:12. BDF(3分);   偏小(2分);   g=4π2(7分)

试题详情

24.(18分) 如图所示,光滑的圆弧轨道AB、EF,半径AO、均为R且水平。质量为m、长度也为R的小车静止在光滑水平面CD上,小车上表面与轨道AB、EF的末端B、E相切。一质量为m的物体(可视为质点)从轨道AB的A点由静止下滑,由末端B滑上小车,小车立即向右运动。当小车右端与壁DE刚接触时,物体m恰好滑动到小车右端且相对于小车静止,同时小车与壁DE相碰后立即停止运动但不粘连,物体继续运动滑上圆弧轨道EF,以后又滑下来冲上小车。求:

(1)水平面CD的长度和物体m滑上轨道EF的最高点相对于E点的高度h;

(2)当物体再从轨道EF滑下并滑上小车后,小车立即向左运动。如果小车与壁BC相碰后速度也立即变为零,最后物体m停在小车上的Q点,则Q点距小车右端多远?

 

试题详情


同步练习册答案