0  426343  426351  426357  426361  426367  426369  426373  426379  426381  426387  426393  426397  426399  426403  426409  426411  426417  426421  426423  426427  426429  426433  426435  426437  426438  426439  426441  426442  426443  426445  426447  426451  426453  426457  426459  426463  426469  426471  426477  426481  426483  426487  426493  426499  426501  426507  426511  426513  426519  426523  426529  426537  447090 

水平预测

双基型

★1.下列说法中正确的是(      ).

(A)一定质量的气体的体积是不会改变的

(B)气体的体积等于所有分子的体积之和

(C)所有气体的压强都是由气体受重力引起的

(D)密闭容器内气体对各个方向上器壁的压强大小相同

答案:D

★2.一定质量的理想气体发生状态变化时,其状态参量p、V、T、的变化情况可能是(    ).(1995年上海高考试题)

(A)p、V、T都增大           (B)p减小,V和T增大

(C)p和V减小,T增大         (D)p和T增大,V减小

答案:ABD

★★3.如图所示各图中,p表示气体的压强,V表示体积,T表示热力学温度,t表示摄氏温度,则正确描述一定质量理想气体等压变化规律的是图(  ).(2002年上海高考试题)

答案:AC

纵向型

★★4.如图所示,竖直插入水银槽的细长玻璃管内外两个水银面高度差为70cm,当时大气压为标准大气压.现保持温度不变,将玻璃管向上提起一些,管内水银面将( ).

(A)向上移动         (B)向下移动

(C)不移动           (D)先向下移动,然后再向上移动

答案:A

★★5.一定质量的理想气体可经不同的过程从一种状态(p1、V1、T1)变到另一种状态(p2、V2、T2),已知T2>T1,则在这些过程中(  ).(1990年全国高考试题)

(A)气体一定从外界吸收热量           (B)气体和外界交换的热量都是相等的

(C)外界对气体所做的功都是相等的     (D)气体内能的变化都是相等的

答案:D

★★6.某同用同一个注射器做了两次验证玻意耳定律的实验,操作完全正确.根据实验数据却在如图所示的p-V图上画出了两条不同的双曲线,造成这种情况的可能原因是  (    ).(2001年上海高考试题)

(A)两次实验中空气质量小同

(B)两次实验中温度不同

(C)两次实验中保持空气质量、温度相同,但所取的气体压强的数据不同

(D)两次实验中保持空气质量、温度相同,但所取的气体体积的数据不同

答案:AB

★★★7.一绝热隔板将一绝热长方形容器隔成两部分,两边分别充满气体,隔板可无摩擦移动.开始时,左边的气体的温度为0℃,右边的气体的温度为20℃,隔板处于静止状态,当左边的气体加热到20℃,右边的气体加热到40℃时,则达到平衡状态时隔板的最终位置(    ).(2000年全国高考理科综合试题)

(A)保持不动     (B)在初始位置右侧       (C)在初始位置左侧    (D)决定于加热过程

答案:B

★★★8.如图所示,一端封闭的U形玻璃管竖直放置,左管中封闭有20cm长的空气柱,两管水银面相平,水银柱足够长.现将阀门S打开,流出部分水银,使封闭端水银面下降18cm,则开口端水银面将下降___cm(设此过程中气体温度保持不变,大气压强为76cmHg).

答案:54

★★★9.已知高山上某处的气压为0.40atm,气温为-30℃,则该处1cm3大气中的分子数约为____________个.(在标准状态下1mol气体的体积为22.4L).(1991年全国高考试题)

答案:1.2×1019

横向型

★★★10.A、B为两个相同的固定在地面上的气缸,内部有质量相等的同种气体,且温度相同,C、D为两重物,质量mC>mD,按如图所示方式连接并保持平衡.现使它们的温度都升高10℃,不计活塞质量及滑轮系统的摩擦,则系统重新平衡后        (    ).

(A)C下降的高度比D下降的多

(B)C下降的高度比D下降的少

(C)C、D下降的高度一样多

(D)A、B气缸内气体的最终压强与初始压强不相同

答案:A

★★★★11.如图所示,竖直放置的气缸内盛有气体,上面被一活塞盖住,活塞通过劲度系数k=600N/m的弹簧与气缸相连接,系统处于平衡状态.已知此时外界大气压强p0=1.00×105N/m?,活塞到缸底的距离t=0.500m,缸内横截面积S=1.00×10-2m2.今在等温条件下将活塞缓慢上提到距缸底为2l处,此时提力为F=500N.弹簧的原长l0应为多少?若提力为F=700N,弹簧的原长l0又应为多少(不计摩擦及活塞和弹簧的质量,并假定在整个过程中,气缸不漏气,弹簧都遵从胡克定律)?(2002年北京春季高考试题)

答案:1.5m,0.833m

★★★★★12.一球形热气球,其隔热很好的球皮连同吊篮等装载物的总质量为300㎏.经加热后,气球膨胀到最大体积,此时它的直径为18m,球内外气体成分相同,而球内气体压强则稍稍高过大气压,试求出刚好能使热气球上升时球内空气的温度.已知此时大气温度为27℃,压强为1atm,在标准状况下空气的密度为1.3㎏/m3.(第九届全国中学生物理竞赛决赛试题)

答案:54℃

阶梯训练

气体的状态和状态参量

双基训练

★1.关于气体的体积,下列说法中正确的是(    ).[1]

(A)气体的体积与气体的质量成正比

(B)气体的体积与气体的密度成反比

(C)气体的体积就是所有气体分子体积的总和

(D)气体的体积是指气体分子所能达到的空间

答案:D

★2.对于一定量的气体,下列说法中正确的是(  ).(2000年全国高考试题)[1]

(A)当分子热运动变剧烈时,压强必变大

(B)当分子热运动变剧烈时,压强可以不变

(C)当分子间的平均距离变大时,压强必变小

(D)当分子间的平均距离变大时,压强必变大

答案:B

★3.在研究气体的热学性质时,描述气体的热力学状态的参量有_________.对于一定质量的气体,若这三个参量都不变,则气体状态________(选填”变化”或”不变”).若该气体状态发生改变,则至少有______个参量发生广变化.[1]

答案:气体的温度、体积和压强,不变,两

★4.据报道,美国的一个研究小组利用激光制冷技术,将铯原子冷却到了290nK的极低温度,这一温度是______K.某人体温是36.5℃,也可以说体温为__________K.某人体温升高1.5℃,也可以说体温升高了_________K.[1.5]

答案:2.9×10-7,309.5,1.5

★★5.有一房间,上午10时温度为15℃,下午2时的温度为25℃,假定大气压强无变化,则下午2时与上午10时相比较,房间内的(  ).[1.5]

(A)空气密度增大         (B)空气分子的平均动能增大

(C)空气分子的速率增大    (D)空气质量增大

答案:B

纵向应用

★★6.如图所示,粗细均匀的U形管竖直放置,管内由水银柱封住一段空气柱.如果沿虚线所示的位置把开口一侧的部分截掉,保持弯曲部分管子位置不动,则封闭在管内的空气柱将( ).[2]

(A)体积变小     (B)体积变大

(C)压强变小     (D)压强不变

答案:A

★★7.对于一定质量的气体,下列说法中上正确的是(        ).[2]

(A)如果体积V减小,气体分子在单位时间内作用于器壁单位面

积的总冲量一定增大

(B)如果压强p增大,气体分子在单位时间内作用于器壁单位面积的总冲量一定增大

(C)如果温度T不变,气体分子在单位时间内作用于器壁单位面积的总冲量一定不变

(D)如果密度ρ不变,气体分子在单位时间内作用于器壁单位面积的总冲量一定不变

答案:B

★★8.如图所示,水平放置的一根玻璃管和几个竖直放置的U形管内都有一段水银柱,封闭端里有一定质量的气体,图(a)中的水银柱长度和图(b)、(c)、(d)中U形管两臂内水银柱高度差均为h=10cm,外界大气压强p0=76cmHg,则四部分气体的压强分别为pa=________cmHg,pb=__________cmHg,pc=_______cmHg,pd=_________cmHg.[3]

答案:76,86,66,86

★★★9.如图所示,一个横截面积为S的圆筒形容器竖直放置.金属圆板A的上表面是水平的,下表面是倾斜的,下表面与水平面的夹角为θ,圆板的质量为M.不计圆板与容器内壁之间的摩擦.若大气压强为p0,则被圆板封闭在容器中的气体的压强p等于(  ).(1994年全国高考试题)>>p.147[3]

(A)        (B)

(C)       (D)

答案:D

★★★10.如图所示,一气竖直倒放,气缸内有一质量不可忽略的活塞,将一定量的理想气体封在气缸内,活塞与气缸擘无摩擦,气体处于平衡状态.现保持温度不变把气缸稍微倾斜一点.在气缸达到平衡后,与原来相比,则(  ).(2000年广东高考试题)[3]

(A)气体的压强变大       (B)气体的压强变小

(C)气体的体积变大       (D)气体的体积变小

答案:AD

★★★11.关于大气压的存在,有个科学史上传为美谈的”马德堡半球”实验:1645年,德国的马德堡有个叫格里克的人做了两个中空的金属半球,直径均为1.2英尺(约0.37m),如图所示.把它们扣在一起,然后抽去其中的空气,这两个半球靠大气的压力紧密地连在一起,用16匹马方才拉开.试估算要把此马德堡半球分开,这16匹马对每个半球作用的拉力约为_________N.[4]

答案:1.1×104

横向拓展

★★★12.如图所示,用弹簧秤拉着一支薄壁平底玻璃试管,将它的开口向下插在水银槽中,由于管内有一部分空气,此时试管内水银面比管外水银面高h.若试管本身的重力与管壁的厚度均不计,此时弹簧秤的示数等于(   ).[3]

(A)进入试管内的H高水银柱的重力

(B)外部大气与内部空气对试管平底部分的压力之差

(C)试管内高出管外水银面的h高水银柱的重力

(D)上面(A)(C)所述的两个数值之差

答案:BC

★★★13.如图所示,一圆柱形容器上部圆筒较细,下部的圆筒较粗且足够长,容器的底是一个可以沿下部圆筒无摩擦移动的活塞S,用细绳通过测力计F将活塞提着,容器中盛水.开始时,水面与上圆筒的开口处在同一水平面上,在提着活塞的同时使活塞缓慢地下移,在这个过程中,测力计的示数是(   ).[4]

(A)先变小,然后保持不变

(B)一直保持不变

(C)先变大,然后变小

(D)先变小,然后变大

答案:A

★★★★14.如图所示是医院给病人输液的部分装置示意图.在输液过程中(    ).[5]

(A)A瓶中的药液先用完

(B)B瓶中的药液先用完

(C)随着液面下降,A瓶内C处气体压强逐渐增大

(D)随着液面下降,A瓶内C处气体压强保持不变

答案:AC

★★★★15.如图所示.粗细均匀的U形细管水平部分长为L,管中盛有一定质量的液体,当U形管以加速度a向右运动时,两管中液面的高度差Δh=_______.[5]

答案:

★★★★16.如图所示,粗细均匀的试管,横截面积为S,质量为m的活塞可在其内部无摩擦地滑动,它封闭了一段气柱.现使试管在水平面内以角速度ω绕轴OO′匀速转动,此时活塞和转轴的距离为L.活塞不漏气,运动中封闭气体的温度不变,大气压强为p0,.则此时封闭气体的压强为多少?>>p.148[6]

答案:

★★★★★17.如图所示,芹边容器里液体的密度为ρ1,右边容器里液体的密度为ρ2,a、b两管液柱的高度差为h,容器A中气体的压强为_______(已知大气压强为p0).(第四届全国力学竞赛试题)[l0]

答案:

气体实验定律

双基训练

★1.关于温度,下列说法中正确的是(  ).[1]

(A)气体的温度升高1℃,也可以说温度升高1K;温度下降5K,也就是温度下降5℃

(B)温度由摄氏温度t升至2t,对应的热力学温度由T升至2T

(C)绝对零度就是当一定质量的气体体积为零时,用实验方法测出的温度

(D)随着人类制冷技术的不断提高,总有一天绝对零度会达到

答案:A

★2.一定质量的气体在等温变化过程中,下列物理量中将发生变化的是(    ).[1]

(A)分子的平均动能       (B)单位体积内的分子数

(C)气体的压强           (D)分子总数

答案:BC

★★3.一定质者的气体在等容变化过程中.温度每升高1℃,压强的增加等于它在300K时压强的(  ).[2]

(A)1/27      (B)1/273     (C)1/300     (D)1/573

答案:C

★★4.下列关于盖·吕萨克定律的说法中正确的是(  ).[2]

(A)对于一定质量的理想气体,在保持压强不变的情况下,温度每升高1℃时,其体积的增量是温度升高前体积的1/273

(B)对于一定质量的理想气体.在保持压强不变的情况下,温度每升高1℃时,其体积的增量是它在0℃时体积的1/273

(C)对于一定质量的气体,在保持压强不变的情况下,其体积与温度成止比

(D)对于一定质量的气体,在保持压强不变的情况下,其体积与热力学温度成正比

答案:BD

★★5.如图所示,将一只倒置的试管竖直地插入容器内,试管内原有的空气被压缩,此时,试管内外水面的高度差为h,若使试管插入水中的深度增大一些,则试管内外水面的高度差将( ).(1990年上海高考试题)[2.5]

(A)增大     (B)减少     (C)保持不变     (D)无法确定

答案:A

★★6.如图所示,密封的U形管中装有水银,左、右两端都封有空气,两水银面的高度差为h.把U形管竖直浸没在热水中,高度差将(    ).[3]

(A)增大         (B)减小

(C)不变         (D)两侧空气柱的长度未知,不能确定

答案:A

纵向应用

★★7.在冬季,剩有半瓶热水的暖水瓶经过一个夜晚,第二天拔瓶口的软木塞时觉得很紧,不易拔出来,主要原因是(    ).(2001年上海理科综合试题)[2]

(A)软木塞受潮膨胀              (B)瓶口因温度降低而收缩变小

(C)白天气温升高,大气压强变大     (D)瓶内气体因温度降低而压强减小

答案:D

★★8.人们常常用充气泵为金鱼缸内的水补充氧气,右图所示为充气泵气室的工作原理图.没大气压强为p0,气室中的气体压强为p,气通过阀门S1、S2与空气导管相连接,下列选项中正确的是(   ).(2002年上海春季高考理科综合试题)[2.5]

(A)当橡皮碗被拉伸时,p>p0,S1关闭S2开通

(B)当橡皮碗被拉伸时,p<p0,S1关闭,S2开通

(C)当橡皮碗被压缩时,p>p0,S1关闭,S2开通

(D)当橡皮碗被压缩时,p<p0,S1关闭,S2开通

答案:C

★★9.我国民间常用”拔火罐”来治疗某些疾病,即用一个小罐将纸燃烧后放入罐内,然后迅速将火罐开口端紧压在人体的皮肤上,待火罐冷却后,火罐就紧紧地被”吸”在皮肤上,试用气体的有关性质解释这个现象.[4]

答案:火罐内的气体体积一定,冷却后气体的温度降低,压强减小,故在大气压力作用下被”吸’’在皮肤上.

★★★10.如图所示,轻弹a管(上端封闭,下端开口).使两段水银柱及被两段水银柱封闭的空气柱合在一起.若此过程中温度不变,水银柱与管壁密封很好,则b管水银柱的下端而A′与原来a管水银柱的下端面A相比,将(  ).[4]

(A)在同一高度       (B)稍高

(C)稍低            (D)条件不足,无法判断

答案:C

★★★11.气压式保温瓶内密封空气体积为V,瓶内水面与出水口的高度差为h,如图所示.设水的密度为ρ,大气压强为p0,欲使水从出水口流出,瓶内空气压缩量ΔV至少为__________.[4]

答案:

★★★12.房间里气温升高3℃时,房间内的空气将有1%逸出到房间外,由此可计算出房间内原来的温度是________℃.[4.5]

答案:24

★★★13.活塞式气泵是利用气体体积膨胀来降低气体压强的.已知某贮气筒的容积为V,气泵每抽一次,抽出的气体体积为V′=V/2.设抽气过程中温度不变,贮气筒内原来气体的压强为p0,则对它抽气三次后,贮气筒内气体压强变为多少?[5]

答案:

★★★14.氧气瓶在车间里充气时,压强达1.5×107Pa,运输到工地上发现压强降为1.35×107Pa,已知车间里的温度为27℃,工地上的温度为-3℃,试判断氧气瓶在运输途中是否漏气(氧气瓶本身的热膨胀忽略不计).[5]

答案:不漏气

★★★15.一个容积为5L的没有气的篮球,用横截面积为5cm2、冲程为25cm的打气筒打气,在打第81次时,打气筒中活塞至少下压多少才能使空气进入篮球(设打气过程中气体的温度保持不变,p0=76cmHg)?[6]

答案:12.5cm

★★★16.如图所示,圆柱形气缸倒置在水平粗糙的地面上,气缸内部封有一定质量的空气,气缸质量为10㎏,缸壁厚度可不计,活塞质量为5㎏,其横截面积为50cm2,活塞与缸壁间的摩擦不计.当缸内气体温度为27℃时,活塞刚好与地面相接触,但对地面无压力.现对气缸传热,使缸内气体温度升高.问:当气缸对地面无压力时,缸内气体温度是多少℃(已知大气压强p0=1.0×105Pa)?[6]

答案:127℃

★★★17.如图所示,上端开口的圆柱形气缸竖直放置,横截面积为0.2m2的活塞将一定质量的气体和一形状不规则的固体A封闭在气缸内.温度为300K时,活塞离气缸底部的高度为0.6m.将气体加热到330K时,活塞上升了0.05m,不计摩擦力及固体体积的变化.求物体A的体积.(2002年上海高考试题)[7]

答案:0.02m3

★★★18.验证查理定律的实验装置如图所示,在这个实验中测得压强和温度的数据中,必须测出的一组数据是_________和______.首先要在环境温度条件下调节A、B管中水银面_______________,此时烧瓶中空气压强为____________.再把烧瓶放进盛着冰水混合物的容器里,瓶中空气温度下降至冰水混合物的温度一样,此时烧瓶中空气温度为_________K,B中水银面将_____________________,再将A管_________,使B管中水银___________面____________,这时瓶内空气压强等于__________.[10]

答案:当时的大气压,温度,等高,大气压,273,上移,下降,回复到原来的位置,大气压强减去A、B管中水银面高度差

★★★19.有一组同学对温度计进行了专题研究.他们通过查阅资料得知17世纪时伽利略曾设计过一个温度计,其结构为:一麦秆粗细的玻璃管,一端与一鸡蛋大小的玻璃泡相连,另一端竖直插在水槽中,并使玻璃管内吸入一段水柱.根据管中水柱高度的变化可测出相应的温度.为了研究”伽利略温度计”,同学们按照资料中的描述自制了如图所示的测温装置,图中A为一小塑料瓶,B为一吸管,通过软木塞与A连通,管的下端竖直插在大水槽中,使管内外水面有一高度差h,然后进行实验研究:

(1)在不同温度下分别测出对应的水柱高度h,记录的实验数据

如下表所示.

温度(0℃)
17
19
21
23
25
27
h(cm)
30.0
24.9
19.7
14.6
9.4
4.2
Δh=hn-1-hn
5.1
 
 
 
 

根据表中数据计算相邻两次测量水柱的高度差,并填入表内的空格.由此可得结论:①当温度升高时,管内水柱高度h将_______(选填”变大”、”变小”或”不变”).②水柱高度h随温度的变化而______(选填”均匀”或”小均匀”)变化.试从理论上分析并证明结沧②的正确性(提示:管内水柱产生的压强远远小于一个大气压).__________________________________________________________________________.

(2)通过实验,同学们发现用”伽利略温度计”来测温度,还存在一些不足之处,其中主要的不足之处有:

①_________________________________________________.

②_________________________________________________.(2002年上海高考试题)[12]

答案:(1)5.2,5.1,5.2,5.2①变小②均匀,封闭气体近似作等压变化(k为常数),ΔV=kΔT=kΔt,,即h随温度的变化而均匀变化(S为管的截面积)(2)①测量温度范围小②温度读数受大气压影响

★★★20.大气压强对许多物理实验和化学实验有着重要的影响.现用”验证玻意耳定律”的仪器来测量大气压强p0.注射器针筒已被固定在竖直方向上,针筒上所标刻度是注射器的容积,最大刻度Vmax=10ml.注射器活塞已装上钩码框架,如图所示.此外,还有一架托盘天平、若干钩码、一把米尺、一个针孔橡皮帽和少许润滑油.下面是实验步骤,试填写所缺的③和⑤.

①用米尺测出注射器针筒上全部刻度的长度L.

②_____________________________________.

③把适量的润滑油抹在注射器的活塞上,将活塞插入针筒中,上下拉动活塞,使活塞与针筒的间隙内均匀地涂上润滑油.

④将活塞插到适当的位置.

⑤__________________________________________.

⑥在钩码框架两侧挂上钩码,记下挂上的钩码质量m1.在达到平衡后,记下注射器中空气柱的体积V1.在这个过程中,不要用手接触注射器以保证空气柱温度不变.

⑦增加钩码的个数,使钩码的质量增大为m2,达到平衡后,记下空气柱的体积V2.(2)求出计算大气压强p0的公式(用已给的和测得的物理量表示).(2002年全国高考理科综合试题)[12]

答案:(1)②称出活塞和钩码框架的总质量M⑤将注射器针筒上的小孔用橡皮帽堵住(2)

横向拓展

★★★★21.宇宙飞船密封舱内有一水银气压计,起飞时舱内温度为0℃,气压计示数相当于76cmHg所产生的压强,在飞船以a=9.8m/s2匀加速上升过程中(飞船离地面尚不太高),舱内温度为27.3℃,压强计示数相当于________cm高水银柱所产生的压强.[7]

答案:41.8

★★★★22.如图所示,一个粗细均匀的圆筒.B端用塞子塞住,A端可用一无摩擦滑动的活塞封闭,筒壁C处有一小孔,小孔距B端25cm.现向B端缓慢移动活塞,若大气压强为1.0×105Pa,筒内壁的横截面积为1.2cm2,塞子与筒壁间的最大静摩擦力为18N,温度保持不变.要使塞子不会被顶出,活塞推到离B端的距离不得小于多少?[6]

答案:10cm

★★★★23.如图所示为测定肺活量的装置示意图,图中A为倒扣在水中的开口圆筒,测量前尽量排尽其中的卒气.测量时被测者尽力吸足空气,再通过B将空气呼出,呼出的空气通过气管进入A内,使A浮起.已知圆筒A的质量为,m、横截面积为S、大气压强为p0,水的密度为ρ,圆筒浮出水面的高度为h,则被测者的肺活量有多大?[8]

答案:

★★★★24.如图所示,截面均匀的U形玻璃细管两端都开口,玻璃管足够长,管内有两段水银柱封闭着一段空气柱.若气体温度是27℃时,空气柱在U形管的左侧.A、B两点之间封闭着的空气柱长为15cm,U形管底长CD=10cm,AC高为5cm.已知此时的大气压强为75cmHg.(1)若保持气体的温度不变,从U形管左侧管口处缓慢地再注入25cm长的水银柱,则管内空气柱长度为多少?(2)为了使这段空气柱长度恢复到15cm,且回到A、B两点之间.可以向U形管再注入一些水银,且可改变气体的温度,应从哪一侧管口注人多长水银柱?气体的温度变为多少?[10]

答案:(1)12cm(2)右侧,25cm,375K

★★★★25.图中的竖直圆筒是固定不动的,粗筒横截面积是细筒的4倍,细筒足够长.粗筒中A、B两轻质活塞间封有空气,气柱长l=20cm.活塞A上方的水银深H=10cm,两活塞与筒壁间的摩擦不计.用外力向上托住活塞B,使之处于平衡状态.水银面与粗筒上端相平.现使活塞B缓慢上移,直至水银的一半被推入细筒中,求活塞B上移的距离.设在整个过程中气柱的温度不变,大气压强p0=75cmHg.(1997年全国高考试题)[12]

答案:8cm

★★★★26.活塞把密闭气缸分成左、右两个气室,每窒各与U形管压强计的一臂相连,压强计的两臂截面处处相同.U形管内盛有密度为ρ=7.5×102㎏/m3的液体.开始时左、右两气室的体积都为V0=1.2×10-2m3.,压强都为p0=4.0×103Pa,且液体的液面处在同一高度,如图所示.现缓缓向左推进活塞,直到液体在U形管中的高度差h=40cm.求此时左、右气室的体积V1、V2.假定两气室的温度保持不变,计算时可以不计U形管和连接管道中气体的体积,g取10m/s2.(1998年全国高考试题)[14]

答案:8.0×10-3m3,1.6×10-2m3

★★★★27.如图所示,气缸由两个横截面不同的圆筒连接而成.活塞A、B被轻质刚性细杆连接在一起,可无摩擦移动.A、B的质量分别为mA=12㎏,mB=8.0㎏,横截面积分别为SA=4.0×10-2m.,SH=2.0×10-2m2.一定质量的理想气体被封闭在两活塞之间,活塞外侧大气压强p0=1.0×l05Pa.(1)气缸水平放置达到如图(a)所示的平衡状态,求气体的压强.已知此时气体的体积V1=2.0×10-2m3.现保持温度不变,将气缸竖直放置,达到平衡后如图(b)所示.与图(a)相比,活塞在气缸内移动的距离l为多少?重力加速度g取10m/s2.(1999年全国高考试题)[14]

答案:(1)1.0×105Pa(2)9.1×10-2m

★★★★28.在如图所示的装置中,A、B和C为内径相等的玻璃管,它们都处于竖直位置.A、B两管的上端等高,管内装有水,A管上端封闭,管内密封部分气体,B管上端开口,C管中水的下方有活塞顶住.A、B、C三管由内径很小的细管连接在一起.开始时,A管中气柱长度LA=3.0m,B管中气柱长度LB=2.0m,C管中水柱长度L0=3.0m,整个装置处于平衡状态.现将活塞缓慢向上顶,直到C管中的水伞部被顶到上面的管中,求此时A管小气柱的长度.已知大气压强p0=1.0×105Pa,计算时重力加速度g取10m/s2.[12]

答案:2.62m

★★★★29.麦克劳真空计是一种测量极稀薄气体压强的仪器,其基本部分是一个玻璃连通器,其上端玻璃管A与盛有待测气体的容器连接,其下端D经过橡皮软管与水银容器R相通,如图所示.图中K1、K2是相互平行的竖直毛细管,它们的内径皆为d,K1顶端封闭,在玻璃泡B与管C相通处刻有标记m,测量时先降低R使水银面低于m,如图(a)所示,逐渐提升R,直至K2中水银面与K1,顶端等高,这时K1中水银面比顶端低h,如图(b)所示.设待测容器较大,水银面升降不影响其中压强,测量过程中温度不变.已知B(m以上)的容积为V,K1的容积远小于V,水银的密度为ρ.(1)试导出上述过程中计算待测压强ρ的表达式.(2)已知V=628cm3,毛细管的直径d=0.3mm,水银密度ρ=13.6×103㎏/m3.,h=40mm,算出待测压强p(计算时g取10m/s2.,结果保留两位有效数字).(1999年广东高考试题)[15]

答案:(1)(2)2.4×10-2pa

★★★★30.如图所示,有一个直立的气缸,气缸底到气缸口的距离为L0(cm),用一厚度和质量均可忽略不计的刚性活塞A,把一定质量的空气封在气缸内,活塞与气缸间的摩擦可忽略.平衡时活塞上表面与气缸U的距离很小(计算时可忽略不计),周围大气的压强为H0(cmHg).现把盛有水银的一个瓶子放在活塞上(瓶子的质量可忽略),平衡时活塞到气缸底的距离为L(cm).若不是把这瓶水银放在活塞上,而是把瓶内水银缓缓不断地倒在活塞上方,这时活塞向下移,压缩气体,直到活塞不再下移.求此时活塞在气缸内可能的位置以及与之相对应的条件(即题中给出量之间应满足的关系).设气体的温度不变.(1996年全国高考试题)[16]

答案:若L≥H0,则L′=L;若L<H0,则L′=H0

★★★★★31有一内径均匀,两支管等长且大于78cm的、一端开口的U形管ACDB.用水银将一定质量的理想气体封闭在A端后,将管竖直倒立.平衡时两支管中液面高度差为2cm,此时闭端气柱的长度为l0=38cm,如图所示.已知大气压强相当于h0=76cmHg.若保持温度不变,不考虑水银与管壁的摩擦,当轻轻晃动一下U形管,使左端液面上升或下降Δh(Δh<2cm)时,将出现什么现象?试加以讨论并说明理由.(第八届全国中学生物理竞赛预赛试题)[20]

答案:若晃动幅度小于1cm,水银柱将在最初的平衡位置附近作振动;若晃动幅度大于1cm,水银柱最终将会有一部分从开口端流出;若晃动幅度恰好等于1cm,从理论上讲,这时左、右液面恰好相平,但由于这是一种不稳定平衡,因而这种状态实际上不会出现

★★★★★32.在一个横截面积为S的密闭容器中,有一个质量为m的活塞把容器中的气体分成两部分.活塞可在容器中无摩擦地滑动,当活塞处于平衡时,活塞两边气体的温度相同,压强都是p,体积分别为V1,和V2,如图所示.现用某种方法使活塞稍许偏离平衡位置,然后放开,活塞将在两边气体的压力作用下来回运动.整个系统可看作是恒温的.

(1)求活塞的运动周期,将结果用p、V1、V2、m和S表示.

(2)求气体温度t=0℃时的周期T和气体温度t′=30℃时的周期T′的比值.(第二届全国中学生物理竞赛决赛试题)[20]

答案:(1)(2)0.95

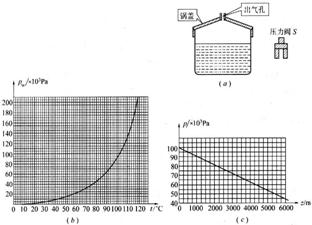
★★★★★33.正确使用高压锅的方法是:将已盖好密封锅盖的压力锅加热,如图(a)所示,当锅内水沸腾时再加盖压力阀S,此时可认为锅内只有水的饱和蒸汽,空气已全部排除.然后继续加热,直到压力阀被锅内的水蒸气顶起时,锅内即已达到预期温度(即设计时希望达到的温度).现有一压力锅,在海平面处加热能达到的预期温度为120℃.某人在海拔5000m的高山上使用此压力锅,锅内有足量的水.

(1)若不加盖压力阀,锅内水的温度最高可达多少?

(2)若按正确方法使用压力锅,锅内水的温度最高可达多少?

(3)若未按正确方法使用压力锅,即盖好密封锅盖一段时间后,在点火前就加上压力阀,此时水温为27℃,那么加热到压力阀刚被顶起时,锅内水的温度是多少?若继续加热,锅内水的温度最高可达多少?假设空气不溶于水.已知:水的饱和蒸汽压pW(t)与温度t的关系图线如图(b)所示,大气压强p(z)与高度z的关系的简化图线如图(c)所示.t=27℃时,pW=3.6×103Pa;z=0处p=1.013×105Pa.(第十八届全国中学生物理竞赛复赛试题)[25]

答案:(1)82℃(2)112℃(3)97℃,112℃

理想气体状态方程及应用

双基训练

★1.下列说法中正确的是(      ).[1]

(A)理想气体是严格遵守气体实验定律的气体模型

(B)理想气体的分子间除了互相碰撞外,无其他相互作用

(C)实际气体在温度不太低、压强不太大的情况下,可当成理想气体

(D)在应用理想气体状态方程时,p、V、T都必须采用国际单位制中的单位

答案:ABC

★2.一定质量的理想气体的状态参量(恒量).关于此恒量,下列说法中正确的是(  ).[1]

(A)摩尔数相同的任何气体,此恒量都相同

(B)质量相同的任何气体,此恒量都相同

(C)只要是同种气体,不论质量是否相同,此恒量都相同

(D)以上说法都不正确

答案:A

★3.对于一定质量的理想气体,下列说法中正确的是(    ).(1997年上海高考试题)[l]

(A)压强增大,体积增大,分子的平均动能一定增大

(B)压强减小,体积减小,分子的平均动能一定增大

(C)压强减小,体积增大,分子的平均动能一定增大

(D)压强增大,体积减小,分子的平均动能一定增大

答案:A

★★4.已知离地面越高时大气压强越小,温度也愈低.现有一气球由地面向上缓慢升起,则大气压强与温度对此气球体积的影响是(    ).[1.5]

(A)大气压强减小有助于气球体积增大,温度降低有助于气球体积增大

(B)大气压强减小有助于气球体积变小,温度降低有助于气球体积减小

(C)大气压强减小有助于气球体积增大,温度降低有助于气球体积减小

(D)大气压强减小有助于气球体积变小,温度降低有助于气球体积增大

答案:C

★★5.为了控制温室效应,各国科学家提出了不少方法和设想.有人根据液态CO2密度大于海水密度的事实,设想将CO2液化后,送入深海海底,以减小大气中CO2的浓度.为使CO2液化,最有效的措施是(   ).[1.5]

(A)减压、升温       (B)增压、升温       (C)减压、降温       (D)增压、降温

答案:D

★★6.一定质量的理想气体处于平衡状态Ⅰ.现设法使其温度降低而压强升高,达到平

衡状态Ⅱ,则( ).(1999年全国高考试题)[2]

(A)状态Ⅰ时气体的密度比状态Ⅱ时的大

(B)状态Ⅰ时分子的平均动能比状态Ⅱ时的大

(C)状态Ⅰ时分子间的平均距离比状态Ⅱ时的大

(D)状态Ⅰ时每个分子的动能都比状态Ⅱ时的分子平均动能大

答案:BC

纵向应用

★★7.湖底温度为7℃,有一球形气泡从湖底升到水面(气体质量恒定)时,其直径扩大为

原来的2倍,已知水面温度为27℃,大气压强p0=75cmHg,则湖水深度约为

(    ).[3]

(A)25m      (B)45m      (C)55m      (D)65m

答案:D

★★8.一定质量的理想气体处于某一初始状态,现要使它的温度经过状态变化后,回到初

始状态的温度,下列过程中可以实现的是(     ).(1991年上海高考试题)[3]

(A)先保持压强不变而使体积膨胀,接着保持体积不变而减小压强

(B)先保持压强不变而使体积减小,接着保持体积不变而减小压强

(C)先保持体积不变而增大压强,接着保持压强不变而使体积膨胀

(D)先保持体积不变而减小压强,接着保持压强不变而使体积减小

答案:A

★★★9.一定质量的理想气体由状态A变化到状态B,已知TB>TA,则下

列判断中正确的是(    ).[3]

(A)如果气体的体积膨胀,则气体的内能可能不变

(B)如果气体的体积膨胀,则气体的压强可能增大

(C)如果气体的压强减小,则气体的体积一定增大

(D)无论气体的压强、体积怎样变化,气体的内能一定增加

答案:BCD

★★★10.如图所示,质量不计的活塞把一定质量的理想气体封闭在上端开口的直立圆筒形汽缸中,活塞上堆放细砂,活塞处于静止状态.现在对气体缓慢加热,同时不断取走细砂,使活塞缓慢上升,直到细砂全部取走,则在此过程中  (    ).[4]

(A)气体压强增大,内能可能不变

(B)气体温度可能不变,气体对外做功

(C)气体的体积增大,压强减小,对外不做功

(D)气体对外做功,内能一定增加

答案:B

★★★11如图所示,活塞将气缸分成甲、乙两气室,气缸、活塞(连同拉杆)是绝热的,且不漏气,以E、E分别表示甲、乙两气室中气体的内能,则在将拉杆缓慢向外拉的过程中         (    ).(2000年全国高考试题)[4]

(A)E不变,E减小       (B)E增大,E不变

(C)E增大,E减小       (D)E不变,E不变

答案:C

★★★12.一钢筒内装有压缩空气,当打开阀门后气体迅速从筒内逸出,很快筒内气体的压

强与大气压强p0相同,然后立即关闭阀门.如果钢瓶外部环境保持温度不变,经

较长的时间后筒内的气体压强(      ).[4]

(A)等于p0             (B)大于p0             (C)小于p0             (D)无法判定

答案:B

★★★13.如图所示,一支两端封闭的玻璃管倾斜放置,正中有一段水银柱,两端各封闭有一定质量的理想气体,下列情况中能使水银柱向a端移动的是(    ).[5]

(A)沿顺时针方向缓慢转动玻璃管,使θ角变小

(B)保持θ角不变,使玻璃管加速上升

(C)使环境的温度升高

(D)绕过b端的竖直轴转动

答案:ACD

★★★14.如图所示为内径均匀的U形管,其内部盛有水银,封闭端内的空气柱长12cm.温度为27℃时,两侧水银面的高度差为2cm.已知大气压强为p0=75cmHg,则当环境温度变为________℃时,两侧水银面的高度相等.[5]

答案:-5.14

★★★15.氧气瓶内贮有氧气,在27℃时,其压强为1.2×107Pa.今用掉一部分氧气后,其压强变为9.0×106Pa,温度降低为15℃,则所用掉的氧气占原瓶内氧气的百分比为___________.[6]

答案:21.9%

★★★16.某白炽灯灯泡的容积为150cm3,在0℃时内部残留气体的压强为1.0×10-3Pa,该灯泡内气体总分子数约为___________个(结果保留两位有效数字).[6]

答案:4.0×1013

★★★17.如图所示,一密闭容器内贮有一定质量的气体,不导热的光滑活塞将容器分隔成左右两部分.开始时,两部分气体的体积、温度和压强都相同,均为V0,T0和p0.将左边气体加热到某一温度,而右边仍保持原来温度,平衡时,测得右边气体的压强为p,求左边气体的温度T.(1990年上海高考试题)[8]

答案:(-1)T0

横向拓展

★★★18.请据图回答,经数小时后,U形管A、B两处的液面会出现下列情况(实验装置足以维持实验期间小白鼠的生命活动,瓶口密封,忽略水蒸气和温度变化对实验结果的影响)中的(   ).(2000年全国高考理科综合试题)[3]

(A)A处上升,B处下降

(B)A、B两处都下降

(C)A处下降.B处上升

(D)A、B两处都不变

答案:C

★★★★19.贮气筒内装有压缩气体,温度是27℃,压强是4×106Pa.如果从筒内放出一半质量的气体,并使筒内剩余的气体的温度降到12℃,这些剩余气体的压强是多少?

答案:1.9×105Pa

★★★★20.说到爆米花,相信许多人都吃过.传统的做法是这样的:师傅在铁罐子里装一些玉米,密封严实,在煤火上摇动,均匀加热,到了一定火候,把罐口对准长长的口袋,”砰”的一声,香脆可口的爆米花就做成了.仔细想一想,这里面包含了哪些物理知识?你能用所学的物理知识进行解释吗?[5]

答案:略

★★★★21.如图所示,某水银气压计的玻璃管顶端高出水银槽液面1m,因上部混入少量空气,使其示数不准.当气温为27℃,标准气压计示数为76cmHg时,该气压计示数为70cmHg.

(1)在相同气温下,若用该气压计测量气压,气压计示数为68cmHg,则实际气压为多少厘米水银柱?

(2)若在气温为-3℃时,用该气压汁测得气压,气压计示数仍为70cmHg,则实际气压为多少厘米水银柱?(1992年上海高考试题)[10]

答案:(1)73.6cmHg(2)75.4cmHg

★★★★22.如图所示,可沿气缸壁自由活动的活塞将密封的圆筒形气缸分隔成A、B两部分,活塞与气缸顶部有一弹簧相连,当活塞位于气缸底部时弹簧恰好无形变.开始时B内充有一定量的气体,A内是真空.B部分高度为L1=0.10m.此时活塞受到的弹簧作用力与重力的大小相等.现将整个装置倒置,达到新的平衡后B部分的高度L2等于多少?设温度不变.(1994年全国高考试题)>>p.151[12]

答案:0.2m

★★★★23.一个质量可不计的活塞将一定量的理想气体封闭在上端开口的直立圆筒形气缸内,活塞上堆放着铁砂,如图所示.最初活塞搁置在气缸内壁的固定卡环上,气体柱的高度为H0,压强等于大气压强p0.现对气体缓慢加热,当气体温度升高ΔT=60K时,活塞(及铁砂)开始离开卡环而上升,继续加热直到气柱高度为H1=15H0.此后,在维持温度不变的条件下逐渐取走铁砂,直到铁砂全部取走时,气柱高度变为H2=1.8H0,求此时气体的温度(不计活塞与气缸之间的摩擦).(1995午全国高考试题)>>p.156[13]

答案:540K

★★★★24.如图所示,一个具有均匀横截面积的不导热的封闭容器,被一不导热活塞分成A、B两部分.A、B中充有同种理想气体,活塞可无摩擦地左右移动.开始时A、B的体积分别为VA=2V,VB=V,温度为TA和TB,两边压强均为p,活塞处于平衡状态.现用某种方法使活塞能导热而发生移动,最后两部分气体温度相同.两边的压强仍为p,求:

(1)最终状态时,A、B两部分气体体积之比.

(2)最终状态时,A、B两部分气体的温度T′.(1998年上海高考试题)[13]

答案:(1)(2)

★★★★25.如图所示,均匀薄壁U形管,左管上端封闭,右管开口且足够长.管的横截面积为s,内装密度为P的液体,右管内有一质量为m的活塞搁在心定卡口上,卡口与左管上端等高,活塞与管壁间无摩擦且不漏气.温度为T0时,左右管内液面高度相等,两管内空气柱长变均为L,压强均为大气压强p0.现使两边温度同时逐渐升高,问:

(1)温度升高到多少时,右管活塞开始离开卡口上升?

(2)温度升高到多少时,左管内液面下降h?(1999年上海高考试题)[14]

答案:(1)(2)

★★★★26.如图951所示,在固定的气缸A和B中分别用活塞封闭有一定质量的理想气体,活塞面积之比SA:SB=1:2.两活塞用穿过B的底部的刚性细杆相连,可沿水平方向无摩擦滑动,两个气缸都不漏气,初始时A、B中气体的体积皆为V0,温度皆为T0=300K.A中气体压强pA=1.5p0,p0是气缸外的大气压强.现对A加热,使其中气体的压强升到pA′=2.0p0,同时保持B中气体的温度小变,求此时A中气体温度TA′.(2000年北京春季高考试题)>>p.158[15]

答案:500K

★★★★27.如图所示,一定量气体放在体积为V0的容器中,室温为T0=300K,有一光滑导热活塞C(不占体积)将容器分成A、B两室,B室的体积是A室的2倍,A室容器上连接有一U形管(U形管内气体的体积忽略不计),两边水银柱高度差为76cm.右室容器中连接有一阀门K,可与大气相通(外界大气压等于76cmHg).问:

(1)将阀门K打开后,A室的体积变成多少?

(2)打开阀门K后,将容器内的气体从300K分别加热到400K和540K,U形管

内两边水银面的高度差各为多少?(2001年上海高考试题)[15]

答案:(1)(2)0,15.2cm

★★★★28.在密闭的啤酒瓶中,下方为溶有CO2的啤酒,上方为纯CO2气体,在20℃时,溶于啤酒中的CO2的质量为mA=1.050×10-3㎏,上方气体状态CO2的质量为mB=0.137×10-3㎏,压强为p0=1标准大气压.当温度升高到40℃时,啤酒中溶解的CO2的质量有所减少,变为mA′=mA-Δm,瓶中气体CO2的压强上升到p1.已知:,啤酒的体积不因溶入CO2而变化,且不考虑容器体积和啤酒体积随温度的变化.又知对同种气体,在体积不变的情况下p/T与m成正比.试计算p1等于多少标准大气压(结果保留两位有效数宁).(2001年全国高考试题)[16]

答案:1.6atm

★★★★29.如图所示是低温测量中常用的一种温度计的示意图.温度计由下端的测温泡A、上端的压强计B和毛细管C构成.毛细管较长,由不导热的材料做成,两端分别与A和B相通.已知A的容积为VA、B的容积为VB毛细管的容积可忽略不计,整个温度计是密闭的.在室温下,温度计内气体的压强为p0,测温时,室温仍为T0,将A浸入待测物体达到热平衡后,B内气体的压强为p,根据以上已知的温度、压强和体积,请算出待测温度T.[15]

答案:

★★★★30.一定质量的理想气体被活塞封闭在圆筒形的金属气缸内,如图所示.活塞的质量为30㎏,横截面积为S=100cm2,活塞与气缸底之间用一轻弹簧连接,活塞可沿气缸壁无摩擦滑动且不漏气.开始时使气缸水平放置,连接活塞和气缸底的弹簧处于自然长度l0=50cm.经测量,外界气温为t=27℃,大气压强p0=1.0×105Pa,将气缸从水平位置缓慢地竖直立起,稳定后活塞下降了10cm,再对气缸内气体缓慢加热,活塞又上升了30cm,求:(1)弹簧的劲度系数k.(2)最后气缸内气体达到的温度.[16]

答案:(1)500N/m(2)588K

★★★★★31.如图所示,一薄壁钢筒竖直放在水平桌面上,筒内有一与底面平行并可上下移动的活塞K,它将筒隔成A、B两部分,两部分的总容积V=8.31×10-2m3.活塞导热性能良好,与筒壁无摩擦、不漏气,筒的顶部轻轻放上一质量与活塞K相等的铅盖,盖与筒的上端边缘接触良好(无漏气缝隙).当筒内温度t=27℃时,活塞上方A中盛有nA=3.00mol的理想气体,下方B中盛有nB=0.400mol的理想气体,B中气体的体积占总容积的1/10.现对筒内气体缓慢加热,把一定的热量传给气体,当达到平衡时,B中气体的体积变为占总容积的1/9.问筒内的气体温度t′是多少?已知筒外大气压强为p0=1.04×l05Pa,普通气体常量R=8.31J/(mol·K).(第十四届全国中学生物理竞赛预赛试题)[22]

答案:127℃

★★★★★32.如图所示,在一内径均匀的绝热的环形管内,有三个薄金属片制成的活塞将管隔成三部分.活塞的导热性和封闭性良好,且可无摩擦地在圆环内运动.三部分中盛有同一种理想气体,容器平放在水平桌面上.起始时,Ⅰ、Ⅱ、Ⅲ三部分气体的压强都是p0,温度分别是t1=-3℃,t2=47℃,t3=27℃.三个活塞到圆环中心连线之间的夹角分别是α1=90°,α2=120°,a3=150°.

(1)求最后平衡时,三个活塞到圆环中心连线之间的夹角.

(2)已知一定质量的理想气体的内能的变化量与其温度的变化量成正比,试求达

到平衡时气体的温度和压强.(第九届全国中学生物理竞赛预赛试题)[25]

答案:(1)99°,112°,149°(2)298K,p0

★★★★★33.如图所示,三个绝热的、容积相同的球状容器A、B、C,用带有阀门K1、K2的绝热细管连通,相邻两球球心的高度差h=1.0m.初始时,阀门是关闭的,A中装有1mol的氦(He)、B中装有1mol的氪(Kr)、C中装有1mol的氙(Xe),三者的温度和压强都相同.气体均可视为理想气体.现打开阀门K1、K2,三种气体互相混合,最终每一种气体在整个容器中均匀分布,三个容器中气体的温度相同.求气体温度的改变量.已知三种气体的摩尔质量分别为:μHe=4.003×10-3㎏/mol,μKr=83.8×10-3㎏/mol,μXe=131.3×10-3㎏/mol.在体积不变时,这三种气体中任何一种每摩尔温度升高1K,所吸收的热量均为,R为普适气体常量.(第十九届全国中学生物理竞赛预赛试题)[25]

答案:降低3.3×102K

气体状态变化的图像

双基训练

★1如图所示为一定质量的某种气体的p-T图像.在A、B、C三个状态中,体积最大的状态是(    ).[1]

(A)A状态       (B)B状态       (C)C状态       (D)无法确定

答案:C

★2.在如图所示的四幅图像中,能正确表示查理定律规律的是图(  ).[l]

答案:AB

★3.一定质量的理想气体由状态A经过如图所示过程变到状态B,在此过程中气体的密度(    ).(2001年全国理科综合试题)[1.5]

(A)一直变小            (B)一直变大

(C)先变小后变大         (D)先变大后变小

答案:A

★★4.如图所示,一定质量的理想气体经历ab、bc、cd、da四个过程,下列说法中正确的是   (    ).[2]

(A)ab过程中气体压强减小     (B)bc过程中气体压强减小

(C)cd过程中气体压强增大     (D)da过程中气体压强增大

答案:BCD

纵向应用

★★5.如图所示是一定质量的理想气体的三种状态变化过程.对于这三个过程,下列说法中正确的是(   ).[2]

(A)a→d过程中气体的体积增大

(B)a→d过程中气体的体积减小

(C)b→d过程中气体的体积不变

(D)c→d过程中气体的体积增加

答案:AC

★★★6.一定质量的理想气体,由状态A通过如图所示的箭头方向经三个过程变化到状态B.气体由A到B的过程中.正确的说法是(    ).[2.5]

(A)气体的体积减小       (B)气体的体积增大

(C)气体对外放热         (D)气体温度升高

答案:AC

★★★7.如图(a)所示,p-T图上的abc表示一定质量理想气体的状态变化过程,这一过程在p-V图上的图线应是图(b)中的(  ).[3]

答案:C

★★★8.一定质量的理想气体,从状态R出发,分别经过如图所示的三种不同过程变化到状态A、B、C.有关A、B、C三个状态的物理量的比较,下列说法中正确的    (    ).[4]

(A)气体分子的平均速率vA>vB>vC

(B)单位体积内气体分子数nA<nB<nC

(C)气体分子在单位时间内对器壁单位面积的总冲量IA<IB<IC

(D)单位体积内气体分子数nA<nR,nB<nR,nC<nR

答案:B

★★★9.一定质量的理想气体状态变化的p-T图像如图所示,由图像可知(      ).[4]

(A)气体在a、b、c三个状态的密度ρa<ρc<ρb

(B)在a→b的过程中,气体的内能增加

(C)在b→c的过程中,气体分子的平均动能增大

(D)在c→a的过程中,气体放热

答案:BD

横向拓展

★★★10.一定质量的理想气体自状态A经状态C变化到状态B.这一过程在V-T图上的表示如图所示,则(  ).(1999年上海高考试题)[3]

(A)在过程AC中,外界对气体做功

(B)在过程CB中,外界对气体做功

(C)在过程AC中,气体压强不断变大

(D)在过程CB中,气体压强不断变小

答案:AC

★★★11.如图所示,A、B两点表示一定质量的某种理想气体的两个状态,当气体自状态A变化到状态B时(    ).(1994年上海高考试题)[4]

(A)体积必然变大

(B)有可能经过体积减小的过程

(C)外界必然对气体做功

(D)气体必然从外界吸热

答案:ABD

★★★12.如图所示,A、B两点代表一定质量理想气体的两个不同状态,状态A的温度为TA.状态B的温度为TB.由图可知(    ).(1994年全国高考试

试题详情

水平预测

双基训练

★1.0.5mol氢气中含有(    ).

(A)0.5个氢分子          (B)1个氢分子

(C)3.01×1023个氢分子     (D)3.01×1012个氢分子

答案:C

★★2.有人设想用降低海水的温度可以得到大量的能量,相当于一个很好的永动机,关于这样的永动机,下列说法中正确的是(        ).

(A)这样做可以成功,因为它符合能量守恒定律

(B)这样做不能成功,因为它违反能量守恒定律

(C)这样做没有违反能量守恒定律,但是不能成功

(D)这样做不能成功,因为它违反热力学第二定律

答案:CD

纵向型

★★★3.当将橡皮筋拉伸时,橡皮筋内分子的(      ).

(A)引力增大,斥力减小

(B)斥力增大,引力减小

(C)引力和斥力都增大,引力增大得较多

(D)引力和斥力都减小,斥力减小得较多

答案:D

★★★★4.如图,甲、乙两金属球完全相同,若将两球从相同的初温加热到相同的末温,且不计悬线和支持面的吸热,则(        ).

(A)甲球吸热较多         (B)乙球吸热较多

(C)两球吸热一样多       (D)无法比较哪只球吸热较多

答案:B(提示:两球受热后,体积都要膨胀,甲球因放在不导热的水平面上,受热膨胀后,球的重心升高,要克服重力做功,而耗费一部分能量,所以用来提高球体温度的能量就减少了一些(严格地讲,是甲球内能的增量就减少了一些).乙球情况刚好与甲球相反,乙球莺心的下降引起乙球重力势能的减少,重力对乙球做了功,所以乙球内能的增量要大于”供给的热量”,而两球因膨胀而引起的对大气的做功情况是几乎相同的,所以Δt<Δt,选项B正确)

横向型

★★★★5.质量M=200g的木块,静止在光滑水平面上.质量m=20g的铅弹(铅的比热容c=126J/(㎏·℃))以水平速度v0=500m/s射入木块,当它射出木块时速度变为vt=300m/s.若这一过程中损失的机械能全部转化为内能,其中42%被子弹吸收而使其升温,对铅弹穿过木块过程,求:

(1)子弹离开木块时,木块的速度.

(2)子弹克服摩擦力做的功.

(3)摩擦力对木块做的功.

(4)产生的总热量.

(5)子弹升高的温度.

答案:(1)子弹射穿木块过程中,不受外力作用,系统的总动量守恒,有:mv0=Mv+mvt,木块的速度为:v=(v0-vt)=×(500-300)m/s=20m/s(2)子弹克服摩擦力做的功:W1=mv02-mvt2=×0.02×(5002-3002)J=1600J(3)摩擦力对木块做的功:W2=Mv2-0=×0.2×202J=40J(4)这一过程中损失的机械能为:W=W1-W2=(1600-40)J=1560J.已知损失的机械能全部转化为内能,则内能的增量,即产生的总热量Q为1560J(5)已知产生的总热量中有42%被子弹吸收而使其升温,则子弹升高的温度为:

阶梯训练

分子动理论

双基训练

★1.通常分子直径的数量级是_____m;乒乓球直径是3.8cm,其数量级是_____m;地球直径是12740km,其数量级是_____m.[1]

答案:10-10,10-2,108

★2.物体的内能是分子的_____和_____的总和,宏观上由物体的______、_____和_____决定.[0.5]

答案:动能,势能,质量,温度,体积

★★3.布朗运动是说明分子运动的重要实验事实,则布朗运动是指(    ).[0.5]

(A)液体分子的运动       (B)悬浮在液体中的固体分子运动

(C)固体微粒的运动       (D)液体分子与固体分子的共同运动

答案:C

★★4.温度的宏观意义是________________________________;温度的微观意义是________________________________.[0.5]

答案:物体的冷热程度,大量分子平均动能大小的标志

纵向应用

★★5.两种液体的体积分别为V1、V2,将它们混合在一个密闭容器中,经过一段时间后总

体积V<V1+V2,其原因是(      ).[0.5]

(A)两种液体的密度不同              (B)两种液体的温度不同

(C)混合后,液体内部的压强有了变化 (D)液体分子间有空隙存在

答案:D

★★6.分子的热运动是指(  ).[0.5]

(A)扩散现象                   (B)热胀冷缩现象

(C)分子永不停息地作无规则运动    (D)布朗运动

答案:C

★★★7.下列数据中可以算出阿伏伽德罗常数的一组数据是(    ).[1]

(A)水的密度和水的摩尔质量           (B)水的摩尔质量和水分子的体积

(C)水分子的体积和水分子的质量       (D)水分子的质量和水的摩尔质量

答案:D

★★★8.在观察布朗运动时,从微粒在a点开始计时,每隔30s记下微粒的一个位置,得到b、c、d、e、f、g等点,然后用直线依次连接,如图所示,则微粒在75s末时的位置(       ).[1]

(A)一定在cd的中点

(B)一定在cd的连线上,但不一定在cd的中点

(C)一定不在cd连线的中点

(D)可能在cd连线以外的某点

答案:D

★★★9.下列现象中,最能恰当地说明分子间有相互作用力的是(      ).[1]

(A)气体容易被压缩

(B)高压密闭的钢筒中的油从筒壁渗出

(C)两块纯净的铅压紧后合在一起

(D)滴入水中的墨汁微粒向不同方向运动

答案:C

★★★10.甲、乙两个分子相距较远(此时它们的分子力可忽略).设甲固定不动,乙逐渐向甲靠近直到不能再靠近的整个过程中(    ).[1]

(A)分子力总是对乙做正功

(B)乙总是克服分子力做功

(C)先是乙克服分子力做功,然后是分子力对乙做正功

(D)先是分子力对乙做正功,然后是乙克服分子力做功

答案:D

★★★11.标准状况下,1cm3中含有_______个空气分子,运动员一次深呼吸吸入空气约4000cm3,则一次呼吸吞入的空气分子数约为___________个.[3]

答案:2.69×1019,1.08×1023

★★★★12.较大的悬浮颗粒不作布朗运动,是由于(    ).[2]

(A)液体分子不一定与颗粒相撞

(B)各个方向的液体分子对颗粒冲力的平均效果相互平衡

(C)颗粒的质量大,不易改变运动状态

(D)颗粒分子本身的热运动缓慢

答案:BC

★★★★13.在使两个分子间的距离由很远(r>10-9m)变到很难再靠近的过程中,分子间的作用力的大小将(  ).[2]

(A)先减小后增大            (B)先增大后减小

(C)先增大后减小再增大       (D)先减小后增大再减小

答案:C

★★★★14.已知铜的摩尔质量M=63.5g,铜的密度是ρ=8.9g/cm3,试估算铜原子的质量和铜原子的体积.已知NA=6.02×1023mol-1.

答案:1.1×10-25㎏,1.2×10-23cm3

横向拓展

★★★15.在做”用油膜法估测分子大小”的实验时,油酸酒精溶液的浓度为每1000ml.溶液中有纯油酸1ml,用注射器测得1mL上述溶液有200滴,把一滴该溶液滴入盛水的表面撒有痱子粉的浅盘里,待水面稳定后,测得油酸膜的近似轮廓如图所示,图中正方形小方格的边长为1cm,则每一滴油酸酒精溶液中含有纯油酸的体积是_____mL,油酸膜的面积是____cm2.根据上述数据,估测出油酸分子的直径是_______nm.

答案:5×10-6,40,1.25×10

★★★★16.下列关于分子动能的说法中正确的是(     ).[2]

(A)物体温度升高,每个分子的动能都增加

(B)物体温度升高,分子的总动能增加

(C)如果分子质量为m,平均速度为,则分子平均动能

(D)分子的平均动能等于物体内所有分子的动能之和与分子总数之比

答案:BD

★★★★17.已知氯化铯的摩尔质量为168g/mol,其分子结构如图所示,氯原子(白点)位于立方体中心,铯原子(黑点)位于立方体八个顶角上,这样的立方体紧密排列成氯化铯晶体.已知两个氯原子的最近距离为4×10-10m,则氯化铯的密度为多大?[6]

答案:4.4×103㎏/m3

能量守恒

双基训练

★1.能源的利用过程,实质上是能量的_________过程.[0.5]

答案:转化和传递

★2.常规能源是指_______;新能源有_______.[0.5]

答案:煤、石油、天然气等,核能、太阳能、风能、地热能、海洋能等

★3.做功与热传递对_______________是等效的,但从能的转化观点来看.它们的区别在于:做功是_______________________________;热传递则是_________________________.[0.5]

答案:改变物体的内能,能量的转化,能量的转移

纵向应用

★★4.相互作用的两个物体没有发生热传递,这是因为它们具有有相同的(  ).[0.5]

(A)体积     (B)热量     (C)温度     (D)比热

答案:C

★★5.如图所示的实验装置中,把浸有乙醚的一小块棉花放在厚玻璃筒内底部,当很快向下压活塞时,由于被压缩的气体骤然变热,温度升高达到乙醚的燃点,使浸有乙醚的棉花燃烧起来,此实验的目的是要说明对物体(  ).[0.5]

(A)做功可以增加物体的热量

(B)做功可以改变物体的内能

(C)做功一定会升高物体的温度

(D)做功一定可以使物态发生变化

答案:B

★★6.下列改变物体内能的物理过程中,属于对物体做功来改变物体内能的有(  ).[1]

(A)用锯子锯木料,锯条温度升高        (B)阳光照射地面,地面温度升高

(C)搓搓手就感觉手暖和些            (D)擦火柴时,火柴头燃烧起来

答案:ACD

★★★7.下列过程中,由于热传递而使物体内能改变的是(        ).[1]

(A)用打气筒给自行车打气时,打气筒下部温度升高

(B)太阳光照在物体上,物体温度升高

(C)食品放入冰箱,温度降低

(D)用铁锤连续打击物体使物体温度升高

答案:BC

★★★8.下列说法中正确的是(  ).[1]

(A)热量能够从高温物体传到低温物体,但不能从低温物体传到高温物体

(B)机械能可以全部转化为内能而不引起其他变化

(C)不可能从单一热源吸收热量并把它全部用来做功,而不引起其他变化

(D)凡是不违背能量守恒定律的过程都一定能实现

答案:BC

★★★9.空气压缩机在一次压缩过程中,活塞对空气做功为1.2×105J,空气的内能增加了0.8×105J,则空气_________(选填”吸收”或”放出”)热量为________J.[1]

答案:放出,0.4×105

★★★l0.说明下列能源利用方式中的能量转化过程:

(1)水力发电:_________________________________________.

(2)电动水泵抽水:_______________________________________.

(3)柴油机车牵引列车前进:_________________________________________.

(4)火箭发射人造卫星:_________________________________________.[1.5]

答案:(1)机械能→电能(2)电能→机械能(3)化学能→内能→机械能(4)化学能→内能→机械

★★★★11.在标准大气压下,1g100℃的水吸收2264J的热量变为1g100℃的水蒸气.在这个过程中,下列四个关系式中正确的是(  ).[2]

(A)2264J=汽的内能+水的内能     (B)2264J=汽的内能-水的内能

(C)2264J>汽的内能-水的内能      (D)2264J<汽的内能-水的内能

答案:C

★★★★12.如图所示,A、B各有一个可以自由移动的轻活塞,活塞下是水,上为空气,大气压恒定.A、B底部由带有阀门K的管道相连,整个装置与外界绝热.原先A中水面比B中高,打开阀门,使A中的水逐渐向B中流,最后达到平衡.在这个过程中(    ).(1993年全国高考试题)[2]

(A)大气压力对水做功,水的内能增加

(B)水克服大气压力做功,水的内能减少

(C)大气压力对水不做功,水的内能不变

(D)大气压力对水不做功,水的内能增加

答案:D

横向拓展

★★★13.1997年诺贝尔物理学奖授与朱棣文等三人,以表彰他们在激光冷却和捕获原子的方法上所作出的贡献.目前已应用激光将原子的温度冷却到10-12K的数量级,已经非常接近0K,下列关于”0K”说法中正确的是(      ).[1]

(A)0K即0℃,随着科学的发展是可以达到的

(B)0K即0℃,只能无限接近,但不可能达到

(C)0K即绝对零度,随着科学的发展是可以达到的

(D)0K即绝对零度,只能无限接近,但不可能达到

答案:D

★★★★14.在光滑水平面上停放一木块,一子弹水平射穿木块,对此过程,下列说法中正确的是(       ).[2]

(A)摩擦力(子弹与木块间)对木块做的功等于木块动能的增加

(B)摩擦力对木块做的功完全转化为木块的内能

(C)子弹损失的机械能等于子弹与木块增加的内能

(D)子弹损失的机械能等于木块动能与系统内能的增加量

答案:AD

★★★★15.如图所示,直立容器内部有被隔板隔开的A、B;两部分气体,A的密度小,B的密度大.抽去隔板,加热气体,使两部分气体均匀混合.设在此过程中气体吸热Q,气体内能增量为ΔE,则( ).[2]

(A)ΔE=Q        (B)ΔE<Q       (C)ΔE>Q        (D)ΔE=0

答案:B

★★★★16.在一间隔热很好的密闭房间中,把正在工作的电冰箱门打开,室内空气温度将

__________(选填”升高”、”不变”或”降低”),其原因是_________________________.(第二届全国中学物理竞赛预赛试题)[1]

答案:升高,电动机工作时部分电能转化为热能

★★★★17.长江三峡工程位于长江西陵峡中段,坝址在湖北省宜昌市三斗坪.三峡工程是一座具有防洪、发电、航运及养殖和供水巨大综合利用效益的特大型水利水电工程,其主要数据如表1、表2所示.

表1

 
坝高(m)
185

坝长(m)
2335

 
 
最大蓄水位(m)
 
175
 
总库容量(m3)
3.930×1010


 
防洪库容量(m3)
2.215×1010
 
平均年流量(m3)
4.510×l011

表2

 
总装机数(台)
26

总装机容量(kw)
1.820×107

 
 
年平均发电量(kW·h)
 
8.468×1010
 
万吨级双线5级船闸(座)
1


 
3000吨级单线垂直升船机(座)
 
1
年单向通船能力(总吨数)(t)
5×107

长江三峡具有丰富的水利资源.请根据表1、表2的有关数据完成下列问题.(1)最大蓄水位h=________m,平均年流量V=_______m3;年平均消耗水能E=________J,转化为电能的百分比η=_______.(2)若26台发电机组全部建成并发电,按设计要求年发电时间为多少天?

答案:(1)175,4.510×1011,7.9×1017,38.6%(2)193.8d

试题详情

水平预测

双基型

★1.简谐运动属于下列运动中的(    ).

(A)匀速直线运动     (B)匀加速直线运动

(C)匀变速直线运动    (D)非匀变速直线运动

答案:D(提示:作简谐运动物体的同复力与位移的大小成正比、方向与其相反,故其加速度时刻变化)

★2.机械波在介质中传播时,下列说法中正确的是(  ).

(A)各质点都在各自的平衡位置附近振动

(B)相邻质点间必自相互作用力

(C)前一质点的振动带动相邻后一质点的振动,后一质点的振动必定落后于前一质点

(D)各质点也随波的传播而迁移

答案:ABC(提示:机械波的形成实质上是振源的振动形式和能量在介质中的传播)

★★3.两个弹簧振子甲的固有频率为,乙的固有频率为10f,若它们均在频率为9f,的策动力作用下受迫振动,则(   ).

(A)振子甲的振幅较大.振动频率为f

(B)振子乙的振幅较大,振动频率为9f

(C)振子甲的振幅较大.振动频率为9f

(D)振子乙的振幅较大,振动频率为10f

答案:B(提示:作受迫振动物体的振动频率一定等于策动力的频率,与固有频率无关)

★★4.如图所示为某一时刻简谐波的图像,波的传播方向沿x轴正方向,下列说法中正确的是( ).

(A)质点A、D的振幅相等

(B)在该时划质点B、E的速度大小和方向相同

(C)在该时刻质点C、F的加速度为零

(D)在该时刻质点D正向下运动

答案:AD(提示:加速度与位移的大小成正比、方向相反;利用带动法判断各振动质点运动的方向)

纵向型

★★★5.如图所示,一轻弹簧上端悬于顶壁,下端挂一物体,在AB之间作简谐运动,其中O点为它的平衡位置,物体在A时弹簧处于自然状态.若v、x、F、a、Ek、Ep分别表示物体运动到某一位置的速度、位移、回复力、加速度、动能和势能,则(  ).

(A)物体在从O点向A点运动过程中,v、Ep减小向而x、a增大

(B)物体在从B点向O点运动过程中,v、Ek增大而x、F、Ep减小

(C)当物体运动到平衡位置两侧的对称点时,v、x、F、a、Ek、Ep的大小均相同

(D)当物体运动到平衡位置两侧的对称点时,v、x、F、a、Ek的大小均相同,但Ep的大小不同

答案:BC(提示:简谐运动具有各量关于平衡位置对称、运动过程机械能守恒等特点,注意该题振子运动到某一位置的势能等于重力势能与弹性势能之和).

★★★6.如图所示是两列相干波的干涉图样,实线表示波峰,虚线表示波谷,两列波的振幅都为10cm,波速和波长分别为1m/s和0.2m,C点为AB连线的中点,则图示时刻A、B两点的竖直高度差为______cm,图所示五点中振动加强的点是_____,振动减弱的点是_____,c点此时的振动方向_____(选填”向上”或”向下),从图示时刻再经过0.65s时,C点的位移为_____cm,O点经过的路程_____cm.

答案:40,A、B、C,D、E,向下,-20,260(提示:利用叠加原理画出各质点从图示时刻开始的振动图像)

★★★7.现提供秒表、较长的细线、小铁球等器材,请你没计一个能实际操作的实验,测出一棵大树树干的直径d,简要写出方案,测得直径的表达式,并注明你所用的符号的含义.

答案:7.取细线长度等于树干周长制作一个单摆,用秒表测出摆振动n次的时间t,则利用单摆周期公式可得树干直径

横向型

★★★★8.一列横波在x轴上传播着,在t1=0和t2=0.005s时的波形曲线如图所示.(1)由图中读出波的振幅和波长.(2)设周期大于(t2-t1),如果波向右传,波速多大?如果波向左传,波速又多大?(3)设周期小于(t2-t1].并且波速为6000m/s,求波的传播方向.

答案:(1)0.2m,8m(2)右传:在Δt时间内波传播距离2m,波速为400m/s;左传:在Δt时间内波传播距离6m,波速为1200m/s(3)由于Δt>T,故若左传,则;若右传,则,且n>1,由v=λ/T可得n值,计算结果右传时n为非整数,左传时n为整数,故该情况为左传.

★★★★9.在核物理中,研究核子与核子关联的最有效途径是”双电荷交换反应”,这类反应的前半部分过程和下述力学模型类似,两个小球A和B用轻质弹簧相连,在光滑的水平直轨道上处于静止状态,在它们左边有一垂直于轨道的固定挡板P,右边有一小球C沿轨道以速度v0向B球运动,如图所示.C与B发生碰撞并立即结成一个整体D,在它们继续向左运动的过程中,当弹簧长度变到最短时,长度突然被锁定,不再改变,然后A球与挡板P发生碰撞,碰撞后A、B都静止不动,A与P接触而不粘连,过一段时间,弹簧突然解除锁定(锁定及解除锁定均无机械能损失),已知A、B、C三球的质量均为m.试求:(1)弹簧长度刚被锁定后A球的速度.(2)在A球离开挡板P之后的运动过程中,弹簧的最大弹性势能.(2000年全国高考试题)

答案:(1)设B、C碰撞形成D时速度为v1,锁定时速度为v2,P处解除锁定并恢复原长时D的速度为v2,之后当弹簧为最大长度时又一次同速,此速度为v4,首次锁定时弹簧最大弹性势能为Ep1,A离开挡板后弹簧最大弹性势能为Ep2,则有针对不同过方程:mv0=2mv1,①2mv1=3mv2,②;③,④2mv3=3mv4,⑤可得v2=v0/3,,v0,

★★★★★10.在水平光滑的细直角槽中嵌入两个质量相等的小物体A和B,如图所示,它们之间用一长为L、质量可以忽略的刚性细杆铰接,铰接处在A、B滑动时可自由转动.已知当细杆与x轴的央角为α0时,A有一个沿x轴负方向的速度vAO,试证明:(1)细杆中点C将作圆周蒯运动.(2)A、B各自作简谐运动,且用L、α0、vAO来表示两物体的运动剧期T.

答案:(1)设C点坐标为(xC、yC),xC2+yC2=L2/4,这说明C点的轨迹是一个半径为L/2的圆(2)因为杆不可压缩,所以vA和vB沿杆方向的分量应相等,即vAcosα=vBsinα,vA=vBtanα.对A、B组成的系统来说机械能守恒(常数),其中vA=2vCx,vB=2vCy,故vC2=K′(常数).C作匀速圆周运动,故A、B均为简谐运动.由于,

阶梯训练

简谐运动   受迫振动

双基训练

★1.作简谐运动的物体每次通过平衡位置时(      ).[0.5]

(A)位移为零,动能为零     (B)动能最大,势能最小

(C)速率最大,振动加速度为零   (D)速率最大,回复力不一定为零

答案:BC

★2.作简谐运动的物体,当它每次经过同一位置时,一定相同的物理量是(   ).[0.5]

(A)速度     (B)位移     (C)回复力       (D)加速度

答案:BCD

★★3.作简谐运动的物体,回复力和位移的关系图是下图所给四个图像中的(    ).[0.5]

答案:D

★★4.水平放置的弹簧振子先后以振幅A和2A振动,振子从左边最大位移处运动到右边最大位移处过程中的平均速度分别为v1和v2,则(    ).[l]

(A)v1=2v2              (B)2v1=v2

(C)             (D)v1=v2

答案:B

★★5.如图所示,在张紧的绳上挂了a、b、c、d四个单摆,四个单摆的摆长关系为lc>lb=ld>la,先让d摆摆动起来(摆角小超过5°),则下列说法中正确的是(    ).[1]

(A)b摆发生振动,其余摆均不动

(B)所有摆均以相同频率振动

(C)所有摆均以相同摆角振动

(D)以上说法均不正确

答案:B

★★6.同一个弹簧振子从平衡位置被分别拉开5cm和2cm,松手后均作简谐运动,则它们的振幅之比A1:A2=______,最大加速度之比a1:a2=_____,振动周期之比T1:T2=______.[2]

答案:5:2,5:2,1:1

★★7.两个弹簧振子的劲度系数相同,振子质量之比为2:1,它们的振幅相同,那么它们在振动过程中最大动能之比为_____[1]

答案:1:1

★★8.支持列车车厢的弹簧减振系统,固有频率是2Hz.若列车行驶在每根长12.5m的钢轨连成的铁道上,当运行速度是_____m/s时.车厢振动得最厉害_____[1]

答案:25

★★★9.把一个筛子用四根弹簧支起来,筛子上装一个电动偏心轮,它的转动会给筛子形成一个周期性的驱动力,这样就做成了一个共振筛,筛子自由振动时每次全振动用时2s,在某电压下电动偏心轮转速为36r/min,若增大电压可以使偏心轮转速提高,增加筛子质量,可以增大筛子的固有周期,那么,要使筛子的振幅变大,可采取的措施有(1)_________、(2)_________.[1]

答案:(1)减小电压(2)减小筛子质量

★★★10.如图所示,竖立在水平地面上的轻弹簧,下端与地面固定,将一个金属球放置在弹簧顶端(球与弹簧不粘连),并用力向下压球,使弹簧作弹性压缩,稳定后用细线把弹簧拴牢.烧断细线,球将被弹起,脱离弹簧后能继续向上运动.那么该球从细线被烧断到刚脱离弹簧的这一运动过程中(    ).(1998年北京会考试题)[3]

(A)球所受合力的最大值不一定大于球的重力值

(B)在某一阶段内球的动能减小而它的机械能增加

(C)球刚脱离弹簧时的动能最大

(D)球刚脱离弹簧时弹簧的弹性势能最小

答案:BD

★★11.如图所示,小球从高处下落到竖直放置的轻弹簧上,在从接触到将弹簧压缩到最短的过程中,下列叙述中正确的是(  ).[3]

(A)球的加速度的最大值,不一定大于重力加速度g

(B)球所受弹力的最大值,一定大于其重力的2倍

(C)小球的动能逐渐减小,而系统的机械能保持不变

(D)系统的势能先减少后增加

答案:BD

纵向应用

★★★12.如图所示,有一脉冲波在a、b之间传播,下列说法中,正确的有(   ).[3]

(A)如果传播方向从a到b,则a、b之间各个质点起始振动方向均朝上

(B)如果传播方向从a到b,则a、b之间各个质点起始振动方向均朝下

(C)a、b之间各个质点起始振动速度为零

(D)a、b之间各个质点起始振动方向与波的传播方向无关

答案:B

★★★13.如图所示,物体放在轻弹簧上,沿竖直方向在A、B之间作简谐运动,今物体在A、B之间的D点和c点沿DC方向运动(D、C图上未画出)的过程中,弹簧的弹性势能减少了3.0J,物体的重力势能增加了1.0J,则在这段运动过程中(      ).[4]

(A)  物体经过D点时的运动方向是指向平衡位置的

(B)  物体的动能增加了4.0J

(C)  D点的位置一定在衡位置以上

(D)  物体的运动方向可能是向下的

答案:A

★★★14.如图所示,平台沿竖直方向作简谐运动,一物体置于振动平台上始终随平台振动.振动平台位于_____位置时,物体对平台的压力最大.[2]

答案:最低点

★★★15.一个质点在平衡位置O点的附近作简谐运动,某时刻过O点后经3s时间第一次经过M点,再经2s第二次经过M点.该质点再经______第三:次经过M点.若该质点由O点出发后在20s内经过的路程是20cm,则质点振动的振幅为_________.[3]

答案:Δt1=14s、Δt2=10/3s,A1=4cm、A2=4/3cm

★★★16.请你用能量的观点简要说明在物体作受迫振动时,当振动频率等于策动力的频率时其振幅最大.[3]

答案:振动系统是一个开放系统,与外界时刻进行着能量交换,当满足上述条件时策动力对物体总是做正功,振幅不断增大,直到它与摩擦和介质阻力做的功相等时振幅不再增大

★★★17.如图所示是某同学设计的测量物体质量的装置.其中P是光滑水平面,k是轻质弹簧,N是质量为M的带夹子的金属盒;Q是固定于盒边缘的遮光片,利用它和光电计时器能测量金属盒振动时的频率.已知弹簧振子作简谐运动时的周期丁T=2π,其中m是振子的质量,k′是常数.当空盒振动时,测得振动频率为f1;把一物体夹在盒中,并使其振动时,测得频率为f2.你认为这套装置能测量物体的质量吗?如果不能,请说明理由;如果能,请求出被测物体的质量.[3]

答案:能测质量,

横向拓展

★★★18.作简谐运动的弹簧振子,其质量为m,最大速率为v.下列说法中正确的是(  ).[4]

(A)从某时刻算起,在半个周期的时间内,弹力做的功一定为零

(B)从某时刻算起,在半个周期的时间内,弹力做的功可能是0-mv2之间的某个值

(C)从某时刻算起,在半个周期的时间内,弹力的冲量大小一定为零

(D)从某时刻算起,在半个周期的时间内,弹力的冲量大小可能是0-2mv间的某个值

答案:AD

★★★★19.如图所示,一个弹簧振子在A、B两点之间作简谐运动,某时刻物体正经过C点向上运动,速度大小为vC已知OC=a,物体的质量为M振动周期为T,则从此时刻开始的半个周期内(   ).[4]

(A)重力做功2mga        (B)重力冲量为

(C)回复力做功为零       (D)回复力的冲量为2mvC

答案:ABCD

★★★★20.如图所示,质量分别为m、M的两物块用轻弹簧相连,其中M放在水平地面上,m处于竖直光滑的导轨内.今将m向下压一段距离后放手,它就在导轨内上下作简谐运动,且m到达最高点时,M对地面的压力刚好为零,试问:(1)m的最大加速度多大?(2)M对地面的最大压力多大?[5]

答案:(1)(2)2(m+M)g

★★★★21.如图所示是一个单摆的共振曲线,读图回答下列问题:

(1)该单摆摆长多大?

(2)共振时单摆振幅多大?

(3)共振时摆球的最大加速度、最大速度多大?[6]

答案:(1)1m(2)8cm(3)0.8m/s2,0.25m/s

★★★★★22.一长列火车因惯性驶向倾角为α的小山坡,当列车速度减为零时,列车一部分在山上,如图所示.试求列车从开始上山到停下(只是一瞬间)所经历的时间,已知列车全长为L,摩擦不计.[10]

答案:

★★★★★23.如图所示,如果沿地球的直径挖一条隧道,求物体从此隧道一端自由释放到达另一端所需的时间.设地球是一个密度均匀的球体,其半径为R,不考虑阻力.[15]

答案:t=π

单摆振动图像

双基训练

★1,在研究单摆的运动规律过程中,首先确定单摆的振动周期公式T=2π的科学家是        (    ).[0.5]

(A)伽利略       (B)牛顿     (C)开普勒       (D)惠更斯

答案:D

★2.在同一地点,两个单摆的摆长之比为1:4,则它们的频率之比为(    ).[1]

(A)1:4       (B)1:2       (C)4:l       (D)2:l

答案:D

★3.若单摆的摆长不变,摆球的质量增加为原来的4倍,摆球经过平衡位置时的速度减为原来的1/2,则单摆振动的(    ).[0.5]

(A)频率不变,振幅不变        (B)频率改变,振幅变大

(C)频率改变,振幅不变        (D)频率不变,振幅变小

答案:D

★4.单摆振动的回复力是(  ).[0.5]

(A)摆球所受的重力           (B)摆球重力在垂直悬线方向上的分力

(C)悬线对摆球的拉力         (D)摆球所受重力和悬线对摆球拉力的合力

答案:B

★★5.已知在单摆a完成10次全振动的时间内,单摆b完成6次全振动,两摆长之差为1.6m,则两单摆摆长la与lb分别为(    ).(2000年北京、安徽高考试题)[1]

(A)la=2.5m,lbx=0.9m   (B)la=0.9m,lb=2.5m

(C)la=2.4m,lb=4.0m    (D)la=4,0m,lb=2.4m

答案:B

★★6.一个单摆在空气中振动,振幅越来越小,这表明(   ).[l]

(A)后一时刻摆球的位移一定小于前一时刻摆球的位移

(B)后一时刻摆球的动能一定小于前一时刻摆球的动能

(C)后一时刻摆球的势能一定小于前一时刻摆球的势能

(D)后一时刻摆球的机械能一定小于前一时刻摆球的机械能

答案:D

★★7.一弹簧振子作简谐运动,其振动图像如图所示,那么在()和()两个时刻,振子的:①速度相同;②加速度相同;③相对平衡位置的位移相同;④振动的能量相同.以上选项中正确的是(  ).[1]

(A)①④     (B)②③     (C)③④     (D)①②

答案:A

★★8.在一个单摆装置中,摆动物体是一个装满水的空心小球,球的正下方开有一小孔,当摆开始以小角度摆动时,让水从球中连续流出,直到流完为止,则此摆球的周期将(   ).[2]

(A)逐渐增大     (B)逐渐减小     (C)先增大后减小     (D)先减小后增大

答案:C

★★9.利用单摆测定重力加速度的实验中,若测得的g值偏小,可能的原因是(   ).[2]

(A)单摆振动过程中振幅有减小     (B)测摆长时,仅测了摆线长度

(C)测摆长时,将线长加了小球直径   (D)测周期时,把N次全振动误记为N+l

答案:B

★★l0.同地的甲、乙两单摆,甲振动35次时间内乙正好振动21次,若甲的摆长为45cm,则乙的摆长_______cm.[2]

答案:125

★★11.某摆钟的振动周期为2s(又称秒摆),若此摆钟走时准确,则一昼夜摆动_____次.若此摆钟一昼夜快了5min,则此钟一昼夜摆动______次.[2]

答案:43200,43350

★★12.某次单摆摆动时间测定中,秒表的示数如图所示,则t=_____.[1]

答案:1min39s

★★13.如图所示,A是半径为R的光滑圆弧轨道的最低点,B、C为两个小球(可视为质点),将B放在A点正上方h处,将C放在离A点很近的轨道上,让B、C同时从静止开始释放(不计空所阻力).正好在A点相遇,则h的高度最小是多少?[1]

答案:

纵向应用

★★★14.盛砂漏斗与悬线构成砂摆在竖直平面摆动.其下方有一薄板垂直摆动平面匀速拉动,可画出振动图像,若砂摆有两种不同摆长而薄板也分别以v1、v2两种速度拉动,且v2=2v1,得到如图所示的两种图像,则其振动周期丁.T1和T2的关系为(       ).[4]

(A)T2=T1               (B)T2=2T1.

(C)T2=4T1              (D)T2=T1/4

答案:A

★★★15.两个质量相等的弹性小球,分别挂在两根不可伸长的细绳上,两绳相互平行,重心在同一水平线上且相互接触,如图所示,第一球的摆长为L,第二球的摆长为4L.现将第一球拉开一个很小的角度后释放并同时计时,在第一球摆动周期的2倍时间内,两球的碰撞次数为( ).[2]

(A)2次      (B)3次      (C)4次      (D)5次

答案:B

★★★16.两个行星的质量之比为P,半径之比为Q,两个相同的单摆分别置于两个行星的表面,那么它们的振动周期之比为(    ).[2]

(A)PQ2           (B)        (C)     (D)

答案:D

★★★17.如图所示,绝缘线长L,一可视为质点的摆球带正电并用该线悬于O点摆动,当摆球过竖直线OC时,便进入或离开一个匀强磁场,磁场方向垂直摆动平面.摆球沿ACB圆弧来回摆动且摆角小于5°,下列说法中正确的是(   ).[3]

(A)A、B处于同一水平线上

(B)球在A、B点时线的拉力大小不等

(C)单摆的周期T=

(D)单摆向左或向右运动经过D点时线的拉力大小相等

答案:AC

★★★18.有一星球其半径为地球半径的2倍,平均密度与地球相同,今把一台在地球表面走时准确的摆钭移到该星球表面,摆钟的秒针走一圈的实际时间变为(    ).[4]

(A)0.5min       (B)      (C)      (D)2min

答案:B

★★★19.有一台摆钟置于某地,摆长L=0.250m时每昼夜慢5min.若要使钟走时准确,摆长应变为______m(其摆动视为单摆的小角摆动).[3]

答案:0.248

★★★20.升降机中有一单摆,若当它随升降机匀速上升时,它的摆动周期是2s;则当它随升降机以g/2的加速度减速上升时,周期是_____s;当它随升降机以g/2的加速度加速上升时,周期是______s.[3]

答案:2,

★★★21.在用单摆测重力加速度的实验中,从下列器材中选用最合适的(填写器材代号)

________.[2]

(A)小铁球           (B)小塑料球         (C)30cm长的摆线

(D)100cm长的摆线    (E)150cm长的摆线    (F)手表

(G)秒表            (H)米尺            (I)铁架台

答案:ADGHI

横向拓展

★★★22.有一挂钟,在北京走时准确,小心地移到广州后,每昼夜相差n(s),那么广州与北京两地的重力加速度之比为_________.[3]

答案:(86400-n)2:864002

★★★23.一块涂有碳黑的玻璃板质量为2㎏,在拉力F作用下由静止开始竖直向上作匀变速直线运动,一个装有水平振针的振动频率为5Hz的同定电动音叉在玻璃板上画出了如图所示的曲线,测得OA=1cm,OB=4cm,OC=9cm,则外力F=________N.[3]

答案:24

★★★24.一单摆摆长为l,摆线离开平衡位置的最大夹角为θ,摆球质量为m,当摆球从最大位移处运动到平衡位置的过程中,重力做功为_____,合外力冲量的大小为______.[4]

答案:Mgl(1-cosθ),

★★★25.图中各摆中线的长度都已知,摆球视为质点,且均作小角摆动.求它们的周期.[8]

Ta=________;Tb=_______;Tc=________;Td=________;Te=________;Tf=_________.

答案:,,,,,

★★★26.秒摆摆球质量为0.2㎏,它振动到最大位移时距最低点的高度为0.4m,当它完成10次全振动回到最大位移时,因有阻力作用,距最低点的高度变为0.3m.如果每振动10次给它补充一次能量,使摆球同到原高度,那么1min内总共应补充多少能量(g取10m/s2)?[3]

答案:0.6J

★★★27.如图为一列横波在f时刻的波形图,此时a质点向上运动的波速v=10m/s.

(1)此时开始经过5s时,质点b、c的位移为多少?

(2)将此时刻经过4.9s时的波形画在网上.

(3)取t时刻为时间的起点,分别作出a、b,c三点的振动图像.[5]

答案:(1)+10cm,0(2)图略(3)图略

★★★28.某行星的平均密度为地球的一半,今把一单摆从地球移到该行星上,其振动周期变为在地球上的2倍,已知地球半径为R,求该行星的半径.[4]

答案:r=R/2

★★★★29.某地有一台摆长可调的摆钟,摆长为L1时在一段标准时间内快a(min),若摆长改为L2时,在同一标准时间内慢b(min),为使其走时准确,摆长应调到多长?[7]

答案:

★★★★30.如图所示,一个质量为m、电阻为R的金属小圆环,用一根长为L的绝缘细绳悬挂于O点,离O点下方L/2处有一宽度为L/4的垂直纸面向里的匀强磁场区域,现使圆环从与悬点O等高位置A处由静止释放,下摆中金属环所在平面始终垂直磁场,则金属环在整个过程中产生多少焦耳热?[6]

答案:

★★★★31.有一水平轨道AB,在B点处与半径为300m的光滑弧形轨道BC相切,一质量为0.99㎏的木块静止于B处,现有一颗质量为10g的子弹以500m/s的水平速度从左边射入木块且未穿出,如图所示.已知木块与该水平轨道AB间的动摩擦因数μ=0.5,g取10m/s2.,试问子弹射入木块后,木块需经多长时间停止运动(cos5°=0.996)?[6]

答案:(1+π)s

★★★★32.现有一根十几米长的不可伸长的细绳,下系一铁球,从六楼窗口悬挂下垂,给你一只秒表和量程为50cm的刻度尺,请设计一个测重力加速度的实验方案.列出需要测量的物理量符号及计算重力加速度的表达式(不准许用米尺一段段测量细绳的长度).[6]

答案:,式中Δl为两次摆长之差,其值须在刻度尺量程内,T0、T1为两种摆长下单摆的周期

★★★★33.一登山运动员攀登一座高山,他想同时估测这座山的高度,身边可用的只有一条不太长的细线,请你给他想想办法.[8]

答案:地上取一小石子制一单摆,利用人体脉搏作计时器,分别在山下和山上测它的周期,R,n1为山下t时间内的振动次数,n2为山上相同时间内的振动次数,R为地球半径

★★★★★34.如图所示是一种记录地震相关情况的装置,有一质量为m的球固定在边长为l、质量可忽略不计的等边三角形的顶点A上,它的对边BC跟竖直线成夹角α,球可绕固定轴BC摆动,求摆球作微小摆动时的周期.[10]

答案:

★★★★★35.如图所示,用三根竖直的长度相同且不可伸长的细轻绳将一个细圆环水平悬挂,环上拴绳点彼此距离相等.现借助一些重量不计的辐条,将一与环等质量的重物固定于环心处,试求环的微小扭转振动周期变化了几倍?[10]

答案:

机械波波的图像

双基训练

★1.下列关于波的图像和振动图像正确的是(  ).[0.5]

(A)波的图像表示某一时刻某质点的位移

(B)振动图像表示某一质点在各个时刻的位移

(C)波的图像表示各个时刻各个质点的位移

(D)振动图像表示某一质点在某一时刻的位移

答案:B

★2.下列关于波长的说法正确的是(  ).[1]

(A)在振动过程中对平衡位置的位移总是相等的质点间的距离

(B)波峰与波峰间的距离或波谷与波谷间的距离

(C)一个周期内振动传播的距离

(D)一个正弦波形的曲线长

答案:C

★★3.在一列横波的传播方向上,某时刻有两个质点的位移相同,且不等于零,则这两个质点的间距可能(    ).[1]

(A)小于半个波长                (B)等于半个波长

(C)大于半个波长且小于波长       (D)等于波长

答案:ACD

★★4.下列关于波的说法中正确的是(    ).[1]

(A)机械波中各质点振动的频率与波源的振动频率相同

(B)在机械波传播的过程中,机械能一定守恒

(C)有机械波一定有振动,有振动也一定有机械波

(D)声波是纵波

答案:AD

★★5.已知地震波的纵波波速为v1=5km/s,横波波速为v2=3km/s,震中到某地纵波比横波早到达,时间差Δt=20s,则该地距震中的距离为_____km.[1]

答案:150

★★6.石块落入水中,激起水波使浮在湖面上的小木块在4s内振动了8次,当小木块刚开始第7次振动时,与小木块相距20m的树叶恰好开始振动,由此可知,水波的波长为________m,波速的大小为________m/s.[1]

答案:10/3,20/3

纵向应用

★★★7.如图所示,a、b、c、…、k为弹性介质中相邻间隔都相等的质点,a点先开始向上作简谐运动,振幅为3cm,周期为0.2s.在波的传播方向上,后一质点比前一质点迟0.05s开始振动,a开始振动后0.6s时,x轴上距a点2.4m的某质点第一次开始振动,那么这列波的传播速度和0.6s内质点k通过的路程分别为(  ).[3]

(A)4m/s,6cm         (B)4m/s,12cm        (C)4m/s,48cm        (D)12m/s,6cm

答案:A

★★★★8.如图所示分别为一列横波在某一时刻的图像和在x=6m处的质点从该时刻开始计时的振动图像,则这列波(        ).[3]

(A)沿x轴的正方向传播

(B)沿x轴的负方向传播

(C)波速为100m/s

(D)波速为2.5m/s

答案:BC

★★★9.如图所示为一列沿x轴正方向传播、频率为50Hz的简谐横波在t=0时刻的波形,此时P点恰好开始振动.已知波源的平衡位置在O点,P、Q两质点平衡位置坐标分别为P(12,0)、Q(56,0),则(  ).[4]

(A)波源刚开始振动时的运动方向沿+y方向

(B)这列波的波速为600m/s

(C)当t=0).11s时,Q点刚开始振动

(D)Q点刚开始振动时,P点恰位于波谷

答案:C

★★★10.一列波沿绳子传播时、绳上有相距3m的P点和Q点,它们的振动图线如图所示.其中实线为P点的图线,虚线为Q点的图线,则该列波的波长和波速的可能值为( ).[2]

(A)6m,30m/s     (B)6m,12m/s

(C)2m,12m/s     (D)2m,10m/s

答案:A

★★★11.如图所示为一列向某方向传播的简谐横波在某时刻的波形图,在波的传播方向上有一质点P在该时刻的振动方向如图.由图可知(     ).[2]

(A)  波向右传播

(B)  波向左传播

(C)  P点在该时刻前1/4周期时和后3/4周期时运动情况相同

(D)  P点在该时刻前1/4周期时和后1/4周期时运动情况相反

答案:BCD

★★★12.一列横波以10m/s的波速沿水平方向向右传播,某时刻的波形图如图中的实线所示,经过时间后波形如图中虚线所示,由此可知Δt的可能值是(    ).[3]

(A)0.3,s     (B)0.5s      (C)0.6s      (D)0.7s

答案:B

★★★13.一列横波沿x轴的负向传播,波速为6m/s,当位于x1,x1=3cm的A质点恰好在平衡位置日向上振动时,位于x2=6cm的B质点正处于x轴下方最大位移处,求出此波的波长表达式及最小频率值.[4]

答案:m(n=0,1,2,…),150Hz

★★★14.如图是一列向右传播的横波,波速为0.4m/s,M点的横坐标x=10m,图示时刻波传到N点,现从图示时刻开始计时,问:(1)经过多长时间,M点第二次到达波谷?(2)这段时间里,N点经过的路程为多少?[4]

答案:(1)29s(2)145cm

★★★15.绳上有一列正弦横波沿x轴传播,如图所示.a、b是绳子上的两点,它们在x轴方向上的距离小于一个波长,当a点运动到最低点时,b点恰好经过平衡位置向上运动,试在a、b之间画出两个波形分别表示:(1)沿x轴正方向传播的波.(2)沿x轴负方向传播的波.

答案:略

横向拓展

★★★★16.一列横波沿直线ab,向右传播,ab=2m,a、b两点的振动情况如图所示,下列说法中正确的是(     ).[5]

(A)波速可能是2/43m/s     (B)波长可能是8/3m

(C)波速可能大于2/3m/s       (D)波长可能大于8/3m

答案:CD

★★★★17.机械横波在某时刻的波形图如图实线所示,已知波的传播速度大小为1m/s.经过一段Δt后,波形变成图中虚线所示,则Δt的可能值为( ).[4]

(A)1s       (B)3s       (C)5s       (D)7s

答案:ABCD

★★★★18.在波的传播直线上有两个介质质点A、B,它们相距60cm,当A质点在平衡位置处向上振动时,B质点处于波谷位置.若波速的大小为24m/s,则波的频率可能值是    (    ).[6]

(A)30Hz     (B)410Hz        (C)400Hz        (D)490Hz

答案:ABD

★★★★19一根张紧的水平弹性长绳的a、b两点相距14.0m,b点在a点的右方,当一列简谐波沿此长绳向右传播时,若a点的位移达到正极大时,b点的位移恰为零,且向下运动.经过1.00s后,a点的位移为零,且向下运动,而b点的位移恰达到负极大.则这简谐波的波速可能等于(        ).[7]

(A)4.67m/s   (B)6m/s  (C)10m/s (D)14m/s

答案:AC

★★★★20.如图所示,实线是一列简谐横波在t1时刻的波形图,虚线是在t2=(t1+0.2)s的波形图.(1)若波速为35m/s,求质点M在t1.时刻的振动方向.(2)在t1到t2的时间内,如果M通过的路程为1m,那么波的传播方向怎样?波速多大?[5]

答案:(1)向下(2)右传,5m/s

★★★★21.一列横波沿一直线传播,某一时刻直线上相距为d,的A、B两质点均处在平衡位置,且A、B之间仅有一个波峰.若经过时间t质点B第一次到达波峰位置,则这列波可能的波速值多大?[l0]

答案:

★★★★★22.如图所示,质量为m的一系列小物块用劲度系数为k的小弹簧等间隔(间隔为d)地连接成一排,当左端物块作圆频率为ω的左右简谐运动时,此振动将自左向右传播,使各物块作相同频率、同幅度的振动,求传播速度(设).

答案:d

干涉衍射声波

双基训练

★1.一列声波从空气传入水中,已知水中声速较大,则(   ).[0.5]

(A)声波频率不变,波长变小 (B)声波频率不变,波长变大

(C)声波频率变小,波长变大 (D)声波频率变大,波长不变

答案:B

★2.障碍物的大小为10cm.则下列各种波长中的波能出现最明显的衍射现象的波长是       (    ).[0.5]

(A)5cm      (B)10cm     (C)15cm     (D)20cm

答案:D

★3.一位男学生发声时,其声音响而声调低,这说明他声带振动的(     ).[0.5]

(A)振幅小,频率大 (B)振幅大,频率小

(C)振幅小,泛音多 (D)振幅大,泛音多

答案:B

★4.按照相同的曲谱分别演奏钢琴和小提琴,我们仍能够区别出钢琴声和小提琴声,这是因为它们的(       ).[0.5]

(A)音品不同     (B)音调不同     (C)响度不同     (D)传播速度不同

答案:A

★★5.关于波的干涉现象,下列说法中正确的是(        ).[1]

(A)在振动削弱的区域,质点不发生振动

(B)在振动削弱的区域,各质点都处于波谷

(C)在振动加强的区域,各质点都处于波峰

(D)在振动加强的区域,有时质点的位移也等于零

答案:D

★★6.两列波叠加,在空间出现稳定的干涉图样,下列说法中正确的是( ).[1]

(A)振动加强的区域内各质点都在波峰上

(B)振动加强区域内各质点都有位移为零的时刻

(C)振动加强是指合振动的振幅变大,振动质点的能量变大

(D)振动加强和减弱区域的质点随波前进

答案:BC

★★7.如图所示是波遇到小孔或障碍物后的图像,图中每两条实线间的距离表示一个波长,其中正确的图像是(   ).[2]

答案:B

★★8.宋代科学家沈括所著《梦溪笔谈》中有这样一段话”古法以牛黄为矢眼(箭壶),卧以为枕,取其中虚,附地枕之,数里外有人马声,则闻之.”这是利用了_______的原理.[1]

答案:声音的共振

★★★9.两列振幅、波长相同的简谐横波,以相同的速率沿相反方向在同一介质中传播,如图所示为某一时刻的波形图,其中实线为向右传播的波.虚线为向左传播的波,a、b、c、d、e为五个等距离的质点,两列波传播的过程中,下列说法中正确的是(    ).[3]

(A)质点a、b、c、d、e始终静止不动        (B)质点b、d始终静止不动

(C)质点a、c、e始终静止不动             (D)质点a、c、e以振幅2A作简谐运动

答案:BD

★★★10.如图所示为两列相向传播的振幅、波长都相同的简谐横波(脉冲波),当它们相遇后,下列图像中可能存在的是(   ).[3]

答案:BD

★★★11.如图所示是声波1和声波2在同一种介质中传播时某时刻的波形图,则    (    ).[1]

(A)波1速度比波2速度大

(B)波2的音品比波1好

(C)波2响度比波1响度大

(D)波2音调比波1高

答案:D

横向拓展

★★★★12.将两端开口的玻璃管竖直插入深水槽中,今敲击一个固有频率为500Hz的音叉并同时把它放在管口上端,逐渐上提玻璃管,测得该过程中产生第一、二次共振的空气柱长度相差34cm,求声速.[10]

答案:340m/s

★★★★13.如图7-49所示,广场上有一个半径为45m的圆,AB是直径,在圆心O点和A点处分别安装两个有相同声源的扬声器,它们发出的声波波长是10m.有一人站在B处几乎听不到声音,他沿着圆周逆时针向A走,在走到A之前,他还有几次几乎听不到声音?[10]

答案:8次

★★★★★14.将一根长为100多厘米的均匀弦线,沿水平的x轴放置,拉紧并使两端固定,现对离固定的右端25cm处(取该处为原点O,如图(a)所示)的弦上一点施加一个沿垂直于弦线方向(即y轴方向)的扰动,其位移随时间的变化规律如图(b)所示.该扰动将沿弦线传播而形成波(孤立的脉冲波).已知该波在弦线中的传播速度为2.5cm/s,且波在传播和反射过程中都没有能量损失.

(1)试在图(a)中准确地画出自O点沿弦向右传播的波在t=2.5s时的波形图.

(2)该波向右传播到固定点时将发生反射,反射波向左传播,反射点总是固定不动的,这可看成向右传播的波和向左传播的波相叠加,使反射点的位移始终为零.由此观点出发,试在图(a)中准确地画出t=12.5s时的波形图.

(3)在图(a)中准确地画出,t=10.5s时的波形图.(第十六届全国中学生物理竞赛预赛试题)[15]

答案:

试题详情

水平预测

双基型

★1.对于任何一个质量不变的物体,下列说法中正确的是(    ).

(A)物体的动景发生变化,其速率一定变化

(B)物体的动量发生变化,其速率不一定变化

(C)物体的速率发牛变化,其动量一定变化

(D)物体的速率发牛变化,其动量不一定变化

答案:BC(提示:速率是标量,而动量是矢量)

★2.两个物体在光滑水平面上相向运动,在正碰以后都停下来,那么这两个物体在碰撞以前    (    ).

(A)质量一定相等            (B)速度大小一定相等

(C)动量大小一定相等         (D)动能一定相等

答案:C(提示:根据动量守恒定律求解)

★★3.质量为m的钢球自高处落下,以速率v1碰地,竖直向上弹回,碰撞时间极短,离地的速率为v2.在碰撞过程中,地面对钢球的冲量的方向和大小为(        ).

(A)向下,m(v1-v2)             (B)向下,m(v1+v2)

(C)向上,m(v1-v2)             (D)向上,m(v1+v2)

答案:D(提示:注意冲量的矢量性,以及它和动量变化量之间的关系)

纵向型

★★4.物体在恒力作用下作直线运动,在t1时间内物体的速度由零增大到v,F对物体做功W1,给物体冲量I1.若在t2时间内物体的速度由v增大到2v,F对物体做功W2,给物体冲量I2,则( ).

(A)W1=W2,I1=I2            (B)W1=W2,I1>I2           (C)W1<W2,I1=I2            (D)W1>W2,I1=I2

答案:C(提示:结合动量定理和动能定理来分析求解)

★★★5.如图所示,质量为m的小球在水平面内作匀速圆周运动,细线长L,偏角θ,线的拉力为F,小球作圆周运动的角速度为ω,周期为T,在T/2时间内质点所受合力的冲量为(        ).

(A)      (B)

(C)2mωθLsinθ           (D)2mωL

答案:C(提示:由于合外力是变力,不能直接求其冲量,但可以根据动量定理求其动量的变化量)

★★★6.原来静止的两小车,用一条被压缩的轻质弹簧连接,如图所示.如果A车的质量为mA=2㎏,B车的质量为A车的2倍,弹簧弹开的时间为0.1s,弹开后B车的速度为vB=1m/s,则B车所受的平均作用力是  (    ).

(A)0.4N     (B)40N         (C)4N          (D)20N

答案:B(提示:先对A、B组成的系统运用动量守恒定律,然后对B车运用动量定理求出其作用力)

★★★7.如图所示,质量为50g的小球以12m/s的水平速度抛出,恰好与斜面垂直碰撞,其碰撞后的速度的大小恰好等于小球抛出时速度的一半.小球与斜面碰撞过程中所受到的冲量的大小是( ).

(A)1.4N·s        (B)0.7N·s        (C)1.3N·s        (D)1.05N·s

答案:C(提示:先根据平抛运动的知识求得小球与斜面碰撞前的速度,再结合动量定理求解)

★★★8.如图所示,在光滑的水平面上放有两个小球A和B,其质量mA<mB,B球上固定一轻质弹簧.若将A球以速率v去碰撞静止的B球,下列说法中正确的是    (    ).

(A)当弹簧压缩量最大时,两球速率都最小

(B)当弹簧恢复原长时,B球速率最大

(C)当A球速率为零时,B球速率最大

(D)当B球速率最大时,弹性势能不为零

答案:B(提示:A、B小球组成的系统动量守恒,同时两球的动能和弹簧的弹性势能之和保持不变)

★★★★9.水平拉力F1、F2分别作用在水平面上的物体上一段时间后撤去,使物体都由静止开始运动而后又停下.如物体在这两种情况下的总位移相等,且F1>F2,那么在这样的过程中   (    ).

(A)F1比F2的冲量大      (B)F1比F2的冲量小

(C)F1与F2的冲量相等     (D)F1与F2的冲量大小无法比较

答案:B(提示:可以结合全过程的v-t图像来帮助求解,在图像中,外力撤去后物体的加速度相同)

横向型

★★★10.如图所示,一轻质弹簧两端连着物体A,B,放在光滑的水平面上,若物体A被水平速度为v0的子弹射中,且后者嵌在物体A的中心,已知物体A的质量是物体B质量的3/4,子弹质量是物体B的1/4,弹簧被压缩到最短时,求物体A、B的速度.

答案:子弹和A、B木块组成的系统动量守恒:,v′=v0/8

★★★★11.如图所示,在光滑的水平而上有一质量为M的长条木板,以速度v0向右作匀速直线运动,将质量为m的小铁块轻轻放在小板上的A点(这时小铁块相对地面速度为零),小铁块相对木板向左滑动.由于小铁块和木板间有摩擦,最后它们之间相对静止,已知它们之间的动摩擦因数为μ,问:

(1)小铁块跟木板相对静止时,它们的共同速度多大?

(2)它们相对静止时,小铁块与A点距离多远?

(3)在全过程中有多少机械能转化为热能?

答案:(1)木板与小铁块组成的系统动量守恒:Mv0=(M+m)v′,(2)由功能关系可得,摩擦力在相对位移上所做的功等于系统动能的减少量,,(3)根据能量守恒定律,系统损失的动能转化为热能:

★★★★★12.如图所示,光滑水平面上有两个质量分别为m1,和m2的小球1和2,它们在一条与右侧竖直墙壁垂直的直线上前后放置.设开始时球2静止,球1以速度v0对准球2运动,不计各种摩擦,所有碰撞都足弹性的,如果要求两球只发生两次碰撞,试确定m1/m2比值的范围.

答案:12.分别就m1>m2,m1=m2,m1<m2三种情形作具体分析,即可求得为使两球只碰撞两次,m1/m2所应满足的条件.由弹性碰撞的知识可知:,,式中v1和v2取正值表示速度方向向右,取负值表示向左.第一次碰撞后,v2必为正;v1可能为正、零或负,由m1与m2的比值决定.现分别讨论如下:(1)m1>m2:球2以-v2左行,与以速度v1,右行的球1发生第二次碰撞,碰后球1与球2的速度分别为,.因m1>m2,故v2′>0,与墙壁碰撞后以速度-v2′左行.为了不与球1发生第三次碰撞,首先要求球1左行,即:(m1-m2)2-4m1m2<0,解得:.其次还要求碰撞后的球2追不上球1,v2′<-v1′,即:4m1(m1-m2)≤4m1m2-(m1-m2)2,解得:,由以上两个不等式,加上条件,得出的取值范围为:.(2)m1=m2:由完全弹性碰撞的规律,质量相同的两个球相碰后互换速度,所以第二次碰撞后球1和球2不会再次相碰.(3)m1<m2:第一次碰撞后,球1左行,球2右行.球2碰墙后为了能追上球1作第二次碰撞,要求-v2>v1,即:2m1>m2

-m1,解得:,所以,的取值范围应为:.综上所述,为了使两球能够作二次碰撞,且只能作二次碰撞的条件是:

阶梯训练

动量和冲量

双基训练

★1.下列关于动量的论述中正确的是(    ).[0.5]

(A)质量大的物体动量一定大           (B)速度大的物体动量一定大

(C)两物体动能相等,动量小一定相等 (D)两物体动能相等,动量一定相等

答案:C

★2.关于物体的动量和动能,下列说法中正确的是(  ).[0.5]

(A)一物体的动量不变,其动能一定不变

(B)一物体的动能不变,其动量一定不变

(C)两物体的动量相等,其动能一定相等

(D)两物体的动能相等,其动量一定相等

答案:A

★3.两个具有相等动量的物体A、B,质量分别为mA和mB,且mA>mB,比较它们的动能,则    (    ).[1]

(A)B的动能较大      (B)A的动能较大

(C)动能相等         (D)不能确定

答案:A

★4.放在水平桌面上的物体质量为m,用一个水平推力F推它,作用时间为t,物体始终不动,那么在t时间内,推力对物体的冲量应为______.[1]

答案:Ft

★★5.甲、乙两物体的质量之比为m:m=1:4,若它们在运动过程中的动能相等,则它们动量大小之比p:p是(    ).[1]

(A)1:1       (B)1:2       (C)1:4       (D)2:1

答案:B

★★6.如图所示,两个质量相等的物体在同一高度沿倾角不同的两个光滑斜面由静止自由滑下,到达斜面底端的过程中,两个物体具有的相同的物理量是(        ).[2]

(A)重力的冲量       (B)弹力的冲量

(C)合力的冲量       (D)刚达到底端时的动量

(E)刚达到底端时动量的水平分量(F)以上几个量都不对

答案:F

纵向应用

★★7.质量为2㎏的物体作竖直上抛运动,4s后回到出发点,不计空气阻力,在此过程中物体动量的改变和所受的冲量分别为(g取10m/s2)(       ).[2]

(A)80㎏·m/s和80N·s,方向均为竖直向下

(B)80㎏·m/s,方向竖直向上,80N·s,方向竖直向下

(C)40㎏·m/s和40N·s,方向均为竖直向下

(D)80㎏·m/s和40N·s,方向均为竖直向下

答案:A

★★8.质量不等的两个物体静止在光滑的水平面上,两物体在外力作用下获得相同的动能,则下列说法中正确的是(       ).[2]

(A)质量大的物体动量变化小       (B)质量大的物体受到的冲量大

(C)质量大的物体末动量小         (D)质量大的物体动量变化率一定大

答案:B

★★9.以初速度v0=40m/s竖直向上抛出物体,质量为4㎏则第2秒末的动量为____㎏·m/s,第5秒末动量为____㎏·m/s,从第2秒末到第5秒末动量的变化量为____㎏·m/s(g取10m/s2).[2.5]

答案:80,-40,-120

★★★10.从水平地面上方同一高度处,使a球竖直上抛,使b球平抛,且两球质量相等,初速度大小相同,最后落于同一水平地面上(空气阻力不计).下列说法中正确的是(      ).[2.5]

(A)两球着地时的动量相同     (B)两球着地时的动能相同

(C)重力对两球的冲量相同     (D)重力对两球所做的功相同

答案:BD

★★★11.要计算竖直上抛一个物体的过程中,手对抛出物作用力的冲量,如不计空气阻力,所需的已知条件为下列几种组合中的(      ).[4]

(A)物体的质量m,它能上升的最大高度H

(B)抛出时的初速v0,它能上升的最大高度H

(C)抛出时用力F的大小,物体上升到最高处所需的时间t

(D)物体的重力G,它在空中的时间t′

答案:AD

★★★12.用绳子拴一个质量是0.1㎏的小球,由静止开始以2m/s2的加速度竖直向上运动,头3s内绳子拉力对物体的冲量的大小为______N·s;头3s内物体动量变化的大小为_____㎏·m/s(g值取10m/s2).[3]

答案:3.6,0.6

★★★13.质量为0.4㎏的小球以10m/s的速度从5m高的平台边缘水平抛出,小球落地时动量的大小是______㎏·m/s,方向是____________,小球运动全过程中动量的变化是_____㎏·m/s(g取10m/s2).[3]

答案:,与水平方向夹角45°,4

★★★14.如果某物体作匀速圆周运动的动量大小为p,经过一段时间后其速度方向改变了θ角,它的动量变化的大小为______.[3]

答案:

★★★15.甲、乙两物体质量相等,并排静止在光滑的水平面上.现用一水平恒力F推动甲物体,同时在与F力相同方向上给物体乙一个瞬间冲量I,使两物体开始运动.当两物体重新相遇时,经历的时间t=______.[3]

答案:

★★★16.质量为1.5㎏的物体,以4m/s的初速度竖直上抛,不计空气阻力.求物体抛出时和落回抛出点时的动量及这段时间内动量的变化革和重力的冲量(g取10m/s2).

答案:6㎏·m/s,方向竖直向上;6㎏·m/s,方向竖直向下;12㎏·m/s,方向竖直向下;12N·s,方向竖直向下

★★★17.以初速度v0=10m/s水平抛出一个质量为1㎏的物体,若在抛出3s后它末与地面及其它物体相碰,求它在3s内重力的冲量,3s内物体动量的变化量,第3秒末的动量(g取10m/s2).[3]

答案:I=Ft=mgt=30N·s,Δp=30㎏·m/s,p=mv=1×10㎏·m/s=10㎏·m/s

★★★★18.如图所示,物体质量m=2㎏,放在光滑水平桌面上,在恒定的牵引力F作用下由位置A运动到位置B,速度由2m/s增加到4m/s,力F与水平面成60°角,求在此过程中力F的冲量.[4]

答案:8N·s

横向拓展

★★★★19.一个质量为m的小球,从高度为H的地方自由落下,与水平地面碰撞后向上弹起,设碰撞时间为定值t,则在碰撞过程中,下列关于小球对地面的平均冲击力与球弹起的高度h的关系中正确的是(设冲击力远大于重力)(      ).[5]

(A)h越大,平均冲击力越大

(B)h越小,平均冲击力越大

(C)平均冲击力大小与h无关

(D)若h一定,平均冲击力与小球质量成正比

答案:AD

★★★★20.如图610所示,质量为4㎏的平板车静止在光滑水平面上,一质量为1㎏的玩具小车在1s内由静止从车的左端A点加速运动到车的右端B点,AB间距0.2m,在这段时间内小车对平板车的水平冲量大小为多少?[5]

答案:0.32N·s

★★★★21.如图所示,绳子一端崮定于M点,另一端系一质量为m的质点以角速度ω绕竖直轴作匀速圆周运动,绳子与竖直轴之间的夹角为θ.已知a、b为直径上的两点,求质点从a点运动到b点绳子张力的冲量的大小.[10]

答案:

动量定理

双基训练

★1.在一条直线上运动的物体,其初动量为8㎏·m/s,它在第1秒内受到的冲量为-3N·s,第2秒内受到的冲量为5N·s.它在第2秒末的动量为(  ).[0.5]

(A)10㎏·m/s     (B)11㎏·m/s      (C)13㎏·m/s      (D)16㎏·m/s

答案:A

★2.某物体在运动过程中,受到的冲量为-1N·s,则(   ).[1]

(A)物体原动量方向一定与这个冲量方向相反

(B)物体的末动量一定是负值

(C)物体的动量一定要减少

(D)物体动量的增量一定与所规定的止方向相反

答案:D

★3.人从高处跳到低处时,为了安全,一般都让脚尖先着地,这样做是为了(   ).[0.5]

(A)减小冲量

(B)减小动量的变化量

(C)增大与地面的作用时间,从而减小冲力

(D)增大人对地面的压强,起到安全作用

答案:C

★★4.物体在恒定合外力作用下运动,则(  ).[1]

(A)物体一定作直线运动

(B)物体的动量变化率一定恒定

(C)物体的动量增量与时间成正比

(D)单位时间内物体动量的增量与物体的质量无关

答案:BCD

★★5.玻璃杯从同一高度落下,掉在石头上比掉在草地上容易碎,这是由于玻璃杯在与石头的撞击过程中(       ).[1.5]

(A)玻璃杯的动量较大         (B)玻璃杯受到的冲量较大

(C)玻璃杯的动量变化较大     (D)玻璃杯的动量变化较快

答案:D

★★6.质量为1.0㎏的小球从20m处自由下落到软垫上,弹后上升的最大高度为5.0m,小球与软垫接触的时间为1.0s,接触时间内小球受到合力的冲量大小为(空气阻力)不计,g取10m/s2)  (    ).[1.5]

(A)10N·s        (B)20N·s        (C)30N·s        (D)40N·s

答案:D

★★7.以15m/s的速度平抛一个小球,小球的质量为1㎏,经2s小球落地,不计空气阻力,g取10m/s..小球落地时的速度大小为_____m/s.在这一过程中,小球的动量变化的大小为_____㎏·m/s.[2.5]

答案:25,20

纵向应用

★★8.小球的质量为2m,以速度v沿水平方向垂直撞击墙壁,球被反方向弹回速度大小是,球与墙撞击时间t,那么在撞击过程中,球对墙的平均冲力大小是(       ).[1.5]

(A)           (B)           (C)       (D)

答案:C

★★★9.质量为m的物体,以初速度v0竖直上抛,然后又回到原抛出点.若不计空气阻力,物体所受的总冲量和平均冲力分别是(以竖直向上方正方向)(        ).[2]

(A)-mv0,       (B)-2mvo,-mg     (C)-2mvo,mg     (D)2mv0,-mg

答案:B

★★★l0.如图所示,把重物G压在纸带上,若用一水平力迅速拉动纸带,纸带将会从重物下抽出;若缓慢拉动纸带,纸带也从重物下抽山,但重物跟着纸带一起运动一段距离.下列解释上述现象的说法中正确的是(        ).[2]

(A)在缓慢拉动纸带时,纸带给重物的摩擦力大

(B)在迅速拉动纸带时,纸带给重物的摩擦力小

(C)在缓慢拉动纸带时,纸带给重物的冲量大

(D)在迅速拉动纸带时,纸带给重物的冲量小

答案:CD

★★★11.竖直上抛某物体,物体达到最高点后又回到抛出点,设物体所受空气阻力大小不变,则(        ).[3]

(A)上升过程中重力的冲量比下落过程中重力的冲量小

(B)全过程中物体的动量增量方向向下

(C)空气阻力的冲量值上升与下落过程相等

(D)空气阻力在全过程中的合冲量方向向上

答案:ABD

★★★12.水力采煤是利用高速水流冲击煤层而进行的.假如煤层受到3.6×106N/m2的压强冲击即可被破碎,若高速水流沿水平方向冲击煤层,不考虑水的反向溅射作用,则冲击煤层的水流速度至少应为(        ).[4]

(A)30m/s     (B)40m/s     (C)45m/s     (D)60m/s

答案:D

★★★13.一质量为100g的小球从0.80m高处自由下落到一厚软垫上.若以小球接触软垫到小球陷到最低点经历了0.20s,则这段时间内软垫对小球的冲量为_____N·s(g取10m/s2,不计空气阻力).[2.5]

答案:0.6

★★★14.跳伞员从飞机上跳下,经过一段时间速度增大到收尾速度50m/s时才张开伞,这时,跳伞员受到很大的冲力.设张伞时间经1.5s,伞开后跳伞员速度为5m/s,速度方向始终竖直向下,则冲力为体承的_____倍.[3]

答案:4

★★★15.质量为50g的机枪子弹的出膛速度为1000m/s,假设机枪每分钟发射120发子弹,则在射击时机枪手需用多大的力抵住机枪?[3]

答案:100N

★★★16.质量为0.2㎏的球,从5.0m高处自由下落到水平钢板上又被竖直弹起,弹起后能达到的最大高度为4.05m,如果球从开始下落到弹起达到最大高度所用时间为1.95s,不考虑空气阻力(g取10m/s2),求小球对钢板的作用力.[4]

答案:78N

横向拓展

★★★★17.两个质量不同的物体,以相同的初动量开始沿同一水平面滑动,设它们与水平面间的动摩擦因数相同,则它们滑行的距离大小关系是(    ).[4]

(A)质量大的物体滑行距离较大

(B)质量小的物体滑行距离较大

(C)两物体滑行距离一样大

(D)条件不足,无法比较

答案:B

★★★★18.一粒钢珠从静止状态开始自由下落,然后陷入泥潭中.若把在空中下落的过程称为过程Ⅰ,进入泥潭直到停住的过程称为过程Ⅱ,则( ).(1995年全国高考试

题)[4]

(A)过程Ⅰ中钢珠动量的改变量等于重力的冲量

(B)过程Ⅱ中阻力的冲量的大小等于过程Ⅰ中重力冲量的大小

(C)过程Ⅱ中钢珠克服阻力所做的功等于过程Ⅰ与过程Ⅱ中钢珠所减少的重力势能之和

(D)过程Ⅱ中损失的机械能等于过程Ⅰ中钢珠所增加的动能

答案:AC

★★★★19.枪筒长为L,子弹质量为m,设子弹被击发后在枪筒内作匀加速直线运动,运动的时间为t,则(        ).[5]

(A)子弹离开枪口时的动能为

(B)子弹在枪筒内运动过程中外力的冲量为

(C)子弹在枪筒内运动过程中,合外力对它做的功是

(D)子弹受到的平均冲力是

答案:D

★★★★20.在光滑的水平面上,质量为M的平板小车以速度v0作匀速直线运动.质量为m的物体竖直掉在车上.由于物体和车之间的摩擦,经时间t后它们以共同的速度前进,在这个过程中,小车所受摩擦力的大小为_____.[4]

答案:

★★★★21.以2m/s的速度作水平匀速运动的质量为0.1㎏的物体,从某一时刻起受到一个始终与速度方向垂直、大小为2N的力的作用,在作用0.1π(s)后,物体的速度大小是_______m/s,这0.1π(s)内,力对物体的冲量大小为______N·s.[5]

答案:2,0.4

★★★★22.有一质量为50g的小球,以10m/s的速度垂直射到竖直的墙壁上又被垂直墙壁反弹,落到离墙5m远的水平地面上.若已知小球击墙点离地高5m,球与墙作用时间为0.05s,求小球与墙撞时墙对球的平均作用力.[4]

答案:15N

★★★★23.光滑斜面高h=0.8m,质量m=1㎏的滑块从固定的斜面顶端由静止释放,如图所示.滑块滑到底端的过程中(g取l0m/s2):[5]

(1)中力对滑块所做的功为_____J.

(2)滑块的动能增量为_____J.

(3)重力对滑块的冲量为______N·s.

(4)滑块的动量增量为_____㎏·m/s.

答案:(1)8,(2)8,(3)8,(4)4

★★★★★24.如图所示,长为L的轻绳一端系于固定点O,另一端系一质量为m的小球,将小球从O点正下方L/4处,以水平初速度向右抛出,经一定时间绳被拉直,以后小球将以O为支点在竖直平面内摆动.已知绳刚被拉直时,绳与竖直方向成60°角.求:(1)小球水平抛出的初速度v0.(2)在绳被拉紧的瞬间,支点O受到的冲量.[8]

答案:(1)(2)绳对支点O的冲量大小为,方向沿绳向外.注意绳拉紧瞬间重力<<绳拉力,故忽略了重力对小球的冲量.

★★★★★25.长为L、质量为m的柔软绳子盘放在水平桌面上,用手将绳子的一端以恒定的速度v向上提起,求当提起高度为x(x<l)时手的作用力.[10]

答案:

动量守恒定律

双基训练

★1.质量为M的小车在光滑的水平地面上以v0匀速运动.当车中的砂子从底部的漏斗中小断流下时,车子速度将(    ).[0.5]

(A)减小     (B)不变     (C)增大     (D)无法确定

答案:B

★2.在光滑水平直路上停着一辆较长的木板车,车的左端站立一个大人,车的右端站立一个小孩.如果大人向右走,小孩(质量比大人小)向左走.他们的速度大小相同,则在他们走动过程中   (    ).[1]

(A)车可能向右运动       (B)车一定向左运动

(C)车可能保持静止       (D)无法确定

答案:B

★★3.质量为m的平板小车静止在光滑的水平面上,一个质量为M的人立于小车的一端.当人从车的一端走向另一端的过程中,下列说法中正确的是(       ).[2]

(A)人对小车压力的冲量,使小车与人沿同方向运动

(B)人对小车摩擦力的冲量,使小车产生与人运动方向相反的动量

(C)人与小车的动量在任一时刻都大小相等而方向相反

(D)人与车的瞬时速度总是大小相等力向相反

答案:BC

★★4.质量分别为60㎏和70㎏的甲、乙两人,分别同时从原来静止的在光滑水平面上的小车两端.以3m/s的水平初速度沿相反方向跳到地面上.若小车的质量为20㎏.则当两人跳离小车后,小车的运动速度为(     ).[2]

(A)19.5m/s.方向与甲的初速度方向相同

(B)19.5m/s,方向与乙的初速度方向相同

(C)1.5m/s,方向与甲的初速度方向相同

(D)1.5m/s,方向与乙的初速度方向相同

答案:C

★★5.质量相同的物体A、B静止在光滑的水平面上,用质量和水平速度相同的子弹a、b分别射击A、B,最终a子弹留在A物体内,b子弹穿过B,A、B速度大小分别为vA和vB,则     (    ).[2]

(A)vA>vB              (B)vA<vB              (C)vA=vB        (D)条件不足,无法判定

答案:A

★★6.在光滑的水平面上有两个静止小车,车上各站着一个运动员.两车(包含负载)的总质量均为M.设甲车上的人接到一个质量为m、沿水平方向抛来的速度为v的篮球;乙车上的人把原来在车上的一个同样的篮球沿水平方向以同样速度抛出去,则这两种情况下,甲、乙两车所获得速度大小的关系是( ).[2]

(A)v>v                   (B)v<v

(C)v=v                     (D)不同的M,m及v值结论不同

答案:B

★★7.质量为m=100㎏的小船静止在水面上,船上左、右两端各站着质量分别为m=40㎏,m=60㎏的游泳者,当他们在同一水平线上,甲朝左,乙朝右,同时以相对河岸3m/s的速率跃入水中时,小船运动方向为_______,运动速率为_____m/s.[2]

答案:向左,0.6

★★8.如图所示,将两条完全相同的磁铁分别固定在质量相等的小下上,水平面光滑,开始时甲下速度大小为3m/s,乙车速度大小为2m/s,方向相反并在同一直线上,当乙车的速度为零时.甲车速度为_____m/s,方向_____.[2]

答案:1,方向向右

★★9.在水平轨道上放置一门质量为M的炮车,发射质量为m的炮弹,炮下与轨道间摩擦不计,当炮身与水平方向成θ角发射炮弹时,炮弹相对地面出射的速度为v0,则此时炮身后退的速度v′=________.[2]

答案:

★★10.如图所示,一辆质量为M的小车以速度v1光滑水平面上运动,一质量为m、速度为v2物体以俯角为θ的方向落到车上并埋在车里的砂中,此时小车的速度为_____.[2]

答案:

纵向应用

★★★11.在质量为M的小车中挂有一单摆,摆球的质量为m0,小车和单摆一起以恒定的速度v沿光滑水平面运动,与位于正对面的质量为m的静止木块发生碰撞,碰撞的时间极短,在此碰撞瞬间,下列说法中可能发生的是(    ).[2.5]

(A)小车、木块、摆球的速度都发生变化,分别变为v1、v2、v3,满足(M+m)v=Mv1+m2+m0v3

(B)摆球的速度不变,小车和木块的速度分别变为v1和v2,满足Mv=Mv1+mv2

(C)摆球的速度不变,小车和木块的速度都变为v1,满足Mv=(M+m)v1

(D)小车和摆球的速度都变为v1,木块的速度变为v2,满足(M+m0)v=(M+m0)v1+mv2

答案:BC

★★★12.甲、乙两个质量都是M的小车静置在光滑水平地面上.质量为m的人站在甲车上并以速度v(对地)跳上乙车,接着仍以对地的速率v反跳回甲车.对于这一过程,下列说法中正确的是( ).[3]

(A)最后甲、乙两车的速率相等

(B)最后甲、乙两车的速率之比v:v=M:(m+M)

(C)人从甲车跳到乙车时对甲的冲量I1,从乙车跳回甲车时对乙车的冲量I2,应是I1=I2

(D)选择(C)中的结论应是I1<I2

答案:BD

★★★13.一人从泊在码头边的船上往岸上跳,若该船的缆绳并没拴在码头上,则下列说法中正确的有(  ).[3]

(A)船越轻小,人越难跳上岸     (B)人跳跃时对船速度大于对地速度

(C)船越重越大,人越难跳上岸       (D)人跳时对船速度等于对地速度

答案:AB

★★★14.如图所示,在一个足够大的光滑平面内有A、B两个质量相同的木块,中间用轻质弹簧相连,今对B施以水平冲量FΔt(Δt极短),此后A、B的情况是(       ).[3]

(A)在任意时刻,A、B的加速度大小相同

(B)弹簧伸长到最长时,A、B的速度相同

(C)弹簧恢复到原长时.A、B的动量相同

(D)弹簧压缩到最短时,系统总动能最少

答案:ABD

★★★15.在同一高度同时释放A、B和C三个物体,自由下落距离h时,物体A被水平飞来的子弹击中,子弹留在A内;B受到一个水平方向的冲量,则A、B和C落地时间t1、t2和t3的关系是(    ).[3]

(A)t1=t2=t3             (B)t1>t2>t3          (C)t1<t2<t3          (D)t1>t2=t3

答案:D

★★★16.火车机车拉着一列车厢以v0速度在平直轨道上匀速前进,在某一时刻,最后一节质量为m的车厢与前面的列车脱钩,脱钩后该车厢在轨道上滑行一段距离后停止,机车和前面车厢的总质量M不变.设机车牵引力不变,列车所受运动阻力与其重力成正比,与其速度无关.则当脱离了列车的最后一节车厢停止运动的瞬间,前向机车和列车的速度大小等于______.[3]

答案:

★★★17.如图所示,有一条光滑轨道,其中一部分是水平的,有质量为2m的滑块A以速率15m/s向右滑行,又有另一质量为m的滑块B从高为5m处由静止下滑,它们在水平而相碰后,B滑块刚好能回到原出发点,则碰撞后A的瞬时速度大小为_____m/s,方向为______.[3]

答案:5,水平向右

★★★18.质量为M的气球下吊一架轻的绳梯,梯上站着质量为m的人.气球以v0速度匀速上升,如果人加速向上爬,当他相对于梯的速度达到v时,气球的速度将变为______.[3]

答案:

★★★19.在光滑水平面上作直线运动的小车质量是90㎏,速度是1m/s,一个质量60㎏的人以2m/s的速度迎面跳上小车,并跟小车一起运动.此时车的速度为________m/s.在此过程中,人对小车的冲量大小是_____N·s,方向是_____.[3]

答案:0.2,108,与车行方向相反

★★★20.质量为2㎏的装砂小车,以水平速度3m/s沿光滑水平面匀速运动.一个质量为1㎏的小球,从高0.2m处自由落下,恰落入小车的砂中.这以后,小车的速度为

______m/s.[2.5]

答案:2

★★★21.质量为30㎏的小孩推着质量为10㎏的冰车,在水平冰面上以2.0m/s的速度滑行,不计冰面摩擦,若小孩突然以5.0m/s的速度(对地)将冰车推出后,小孩的速度变为_______m/s.这一过程中,小孩对冰车所做的功为______J.[2.5]

答案:1.0,105

★★★22.气球质量为200㎏,载有质量为50㎏的人,静止在空中距地面20m的地方,气球下悬一根质量可忽略不汁的绳子,此人想从气球上沿绳慢慢下滑至安全到达地面,则这根绳至少多长?[3]

答案:25m

★★★23.如图所示,有A、B两质量均为M的小车,在光滑的水平面上以相同的速率v0在同一直线上相向运动,A车上有一质量为m的人,他至少要以多大的速度(对地)从A车跳到B车上,才能避免两车相撞?[3]

答案:

横向拓展

★★★★24.平板车B静止在光滑水平向上.在其左端另有物体A以水平初速度v0向车的右端滑行,如图所示.由于A、B存在摩擦,则B速度达到最大时,应出现在(设B车足够长)(   ).[3]

(A)A的速度最小时              (B)A、B的速度相等时

(C)A在B上相对滑动停止时       (D)B车开始作匀速直线运动时

答案:ABCD

★★★★25.汽车拉着拖车在平直的公路上匀速行驶,突然拖车与汽车脱钩,而汽车的牵引力不变,各自受的阻力不变,则在拖车停止运动前(      ).[3.5]

(A)汽车和拖车的总动量不变       (B)汽车和拖车的总动能不变

(C)汽车和拖车的总动量增加       (D)汽车和拖车的总动能增加

答案:AD

★★★★26.如图所示,质量相同的木块A和B,其间用一轻质弹簧相连,置于光滑的水平桌面上,C为竖直坚硬挡板.今将B压向A,弹簧被压缩,然后突然释放B,若弹簧刚恢复原长时,B的速度大小为v,那么当弹簧再次恢复原长时,B的速度大小应为(   ).[3]

(A)0           (B)v/2          (C)v        (D)

答案:A

★★★★27.在一个足够大的光滑平面内,有两质量相同的木块A、B,中间用一轻质弹簧相连.如图所示.用一水平恒力F拉B,A、B一起经过一定时间的匀加速直线运动后撤去力F.撤去力F后,A、B两物体的情况足( ).[3.5]

(A)在任意时刻,A、B两物体的加速度大小相等

(B)弹簧伸长到最长时,A、B的动量相等

(C)弹簧恢复原长时,A、B的动量相等

(D)弹簧压缩到最短时,系统的总动能最小

答案:ABD

★★★★28.如图所示,一辆小车装有光滑弧形轨道,总质量为m,停放在光滑水平向上.有一质量也为m的速度为v的铁球,沿轨道水平部分射入,并沿弧形轨道上升h后,又下降而离开小下,离车后球的运动情况是(  ).[3.5]

(A)作平抛运动,速度方向与车运动方向相同

(B)作平抛运动,水平速度方向跟车相反

(C)作自由落体运动

(D)小球跟车有相同的速度

答案:C

★★★★29.如图所示,(a)图表示光滑平台上,物体A以初速度v0滑到上表面粗糙的水平小车上,车与水平面间的动摩擦因数不汁,(b)图为物体A与小车的v-t图像,由此可知( ).[4]

(A)小车上表面至少的长度

(B)物体A与小车B的质量之比

(C)A与小车上B上表面的动摩擦因数

(D)小车B获得的动能

答案:ABC

★★★★30.质量为m=3㎏的物体在离地面高度为h=20m处,_正以水平速度v=20m/s运动时,突然炸裂成两块,其中一块质壁为m1=1㎏.仍沿原运动方向以v1=40m/s的速度飞行,炸裂后的另一块的速度大小为______m/s.两块落到水平地面上的距离为______m(小计空气阻力,g取10m/s2).[3.5]

答案:10,60

★★★★31.如图所示.在光滑水平面上有A、B两辆小车,水平面左侧有一竖直墙,在小车B上坐着一个小孩,车B与小孩的总质量是下A质量的10倍.从静止开始,小孩把午A以速度v(对地)推出,车A返回后,小孩抓住并再次把它推出,每次推出的小下A的速度都是v(对地)、方向向左,则小孩把车A总共推出_____次后,车A返回时,小孩不能再接到(小车与竖直墙相撞无能量损失).[4.5]

答案:6

★★★★32.甲、乙两冰船在冰面上沿一直线以相同的速度v0甲在前、乙在后同向匀速滑行.今从甲船上以相对甲船v的速度水平向乙船抛出一个质量为m的砂袋,已知甲船(连操纵者、砂袋)和乙船(连操纵者)原先的质量均为M.问:当砂袋落入乙船中后两船速度各变为多大?[5]

答案:,

★★★★33.如图所示,质量为m2和m3的物体静止在光滑水平面上,两者之间有压缩着的弹簧,有质量为m1的物体以v0速度向右冲来,为了防止冲撞,m2物体将m3物体发射出去,m3与m1碰撞后粘合在一起.问m3的速度至少应多大,才能使以后m3和m2不发生碰撞?[4]

答案:

★★★★34.如图所示,两只小船平行逆向航行,航线邻近,当它们头尾相齐时,由每一只船上各投质量m=50㎏的麻袋到对而船上去,结果载重较小的一只船停了下来,另一只船则以v=8.5m/s的速度向原方向航行.设两只船及船上的载重总重分别为m1=500㎏、m2=1000㎏.问在交换麻袋前两只船的速率为多大(水的阻力不计)?[4.5]

答案:v1=1m/s,v2=9m/s

★★★★35.如图所示,甲、乙两辆完全一样的小车,质量郁为M,乙车内用绳吊一质重为M/2的小球,当乙车静止时,甲车以速度v与乙车相碰,碰后连为一体,求刚

碰后两车的速度及当小球摆到最高点时的速度.[4.5]

答案:v/2,

★★★★36.如图所示.A、B是静止在水平地面上完全相同的两块长木板.A的左端和B的右端相接触.两板的质量皆为M=2.0㎏,长度皆为l=1.0m,C是一质量为m=1.0㎏的小物块.现给它一初速度v0=2.0m/s,使它从B板的左端开始向右滑动.已知地面是光滑的,而C与A、B之间的动摩擦因数皆为μ=0.10.问最后A、B、C各以多大的速度作匀速运动?g取10m/s2(2001年北京、内蒙、安徽高考试题)[8]

答案:vA=0.563m/s,vB=0.155m/s,vC=0.563m/s

★★★★37.如图所示,在光滑桌面上放一质量为M的玩具小车.在小车的平台(小车的一部分)上有一质量为m的小球将弹簧压缩一定距离后用细线捆住.用平将小车固定在桌面上,然后烧断细线,小球就弹出,落在车上A点,=s.如果小车不固定而烧断细线,球将落在车上何处?设小车足够长,球不致落在车外.(1987年全国高考试题)[6]

答案:

★★★★★38.如图所示,一排人站在沿x轴水平轨道旁.原点O两侧的人的序号都记为n(n=1,2,3,…),每人只有一个砂袋,x>0一侧的每个砂袋质量为m=14㎏,x<0一侧的每个砂袋的质量m′=10㎏.一质量为M=48㎏的小车以某一初速度从原点出发向正x轴方向滑行,不计轨道阻力.当车每经过一人身旁时,此人把砂袋以水平速度v朝与车速相反方向沿车面扔到车上,v的大小等于扔此砂袋之前瞬间车速大小的2n倍(n是此人的序号).(1)空车出发后,车上堆积了几个砂袋后,车就反向滑行?(2)车上最终有大小砂袋共多少个?(1995年全国高考试题)[10]

答案:(1)3个(2)11个

★★★★★39.两块光滑长木板OA与OB形成夹角α=2°的V字形,如图所示,固定在光滑的水平面上,一个小球从OB板的C点处以速度v=2m/s并与OB板成60°的水平方向开始运动,与OA板发生碰撞后又折回OB板碰撞,已知OC=4cm.设所有碰撞都是弹性的,试问:(1)小球经过几次碰撞后又回到C点?(2)此过程所经历的时间为多少?(3)此过程中小球离O点的最近距离多大?[12]

答案:(1)3次(2)2s(3)

动量守恒定律的应用

双基训练

★1.相向运动的A、B两辆小车相撞后,一同沿A原来的方向前进,这是由于(   ).[0.5]

(A)A车的质量一定大于B车的质量     (B)A车的速度一定大于B车的速度

(C)A车的动量一定大于B车的动量     (D)A车的动能一定大于B车的动能量

答案:C

★2.一个静止的质量为m的不稳定原子核,当它完成一次α衰变.以速度v发射出一个质量为mα的α粒子后,其剩余部分的速度等于(      ).[0.5]

(A)      (B)-v       (C)        (D)

答案:D

★3.在两个物体碰撞前后,下列说法中可以成立的是(    ).[1]

(A)作用后的总机械能比作用前小,但总动量守恒

(B)作用前后总动量均为零,但总动能守恒

(C)作用前后总动能为零,而总动量不为零

(D)作用前后总动景守恒,而系统内各物体的动量增量的总和不为零

答案:AB

★★4.在光滑的水平面上有两个质量均为m的小球A和B,B球静止,A球以速度v和B球发生碰撞,碰后两球交换速度.则A、B球动量的改变量ΔpA、ΔpB和A、B系统的总动量的改变Δp为(    ).[1]

(A)△pA=mv,△pB=-mv,△p=2mv     (B)△pA,△pB=-mv,Δp=0

(C)ΔpA=0,ΔpB=mv,Δp=mv     (D)△pA=-mv,ΔpB=mv,Δp=0

答案:D

★★5.向空中发射一物体,不计空气阻力,当此物体的速度恰好沿水平方向时,物体炸裂成a、b两块,若质量较大的a块的速度方向仍沿原来的方向,则(   ).[1]

(A)b的速度方向一定与原来速度方向相同

(B)在炸裂过程中,a、b受到的爆炸力的冲量一定相同

(C)从炸裂到落地这段时间里,a飞行的水平距离一定比b的大

(D)a、b一定同时到达水平地面

答案:D

★★6.大小相同质量不等的A、B两球,在光滑水平面上作直线运动,发生正碰撞后分开.已知碰撞前A的动量pA=20㎏·m/s,B的动量pB=-30㎏·m/s,碰撞后A的动量pA=-4㎏·m/s,则:[2]

(1)碰撞后B的动量pB=_____㎏·m/s.

(2)碰撞过程中A受到的冲量=______N·s.

(3)若碰撞时间为0.01s,则B受到的平均冲力大小为_____N.

答案:(1)-6(2)-24(3)2400

纵向应用

★★7在光滑的水平面上有A、B两个小球向右沿同一直线运动,取向右为正方向,两球的动量分别为pA=5㎏·m/s,pB=7㎏·m/s,如图所示.若两球发生正碰,则碰后两球的动量增量ΔpA、ΔpB可能是(      ).[2]

(A)ΔpA=3㎏·m/s,ΔpB=3㎏·m/s

(B)ΔpA=-3㎏·m/s,ΔpB=3㎏·m/s

(C)ΔpA=3㎏·m/s,ΔpB=-3㎏·m/s

(D)ΔpA=-10㎏·m/s,△pB=10㎏·m/s

答案:B

★★★8.一个不稳定的原子核质量为M,处于静止状态.放出一个质量为m的粒r后反冲.已知放出的粒子的动能为E0,则原子核反冲的动能为(  ).[2.5]

(A)E0             (B)                     (C)                      (D)

答案:C

★★★9.如图所示,两个完全相同的小球A、B用等长的细线悬于O点.线长L.若将A由图示位置静止释放,则B球被碰后第一次速度为零时的高度可能是(    ).[2.5]

(A)L/2             (B)L/4

(C)L/8              (D)L/10

答案:ABC

★★★10.质量为m的小球A在光滑的水平面上以速度v与静止在光滑水平面上的质量为2m的小球B发生正碰,碰撞后,A球的动能变为原来的1/9,那么碰撞后B球的速度夫小可能是   (    ).[2]

(A)      (B)      (C)      (D)

答案:AB

★★★11.质量相同的三个小球,在光滑水平面上以相同的速度运动,分别与原来静止的三个小球A、B、C、相碰(a碰A,b碰B,c碰C).碰后a球继续沿原来方向运动;b球静止;c球被反弹而向后运动.这时A、B、C三球中动量最大的是(   ).[2]

(A)A球         (B)B球         (C)C球         (D)条件不足,无法判断

答案:C

★★★12.在一条直线上相同运动的甲、乙两个小球,它们的动能相等,已知甲球的质量大于乙球的质量.它们正碰后可能发生的情况是(    ).[2]

(A)甲球停下,乙球反向运动        (B)甲球反向运动,乙球停下

(C)甲、乙两球都反向运动         (D)甲、乙两球都反向运动,且动能仍相等

答案:AC

★★★13.在光滑水平面上,动能为E0、动量的大小为p0的小钢球l与静止小钢球2发生碰撞.碰撞前后球l的运动方向相反.将碰撞后球l的动能和动量的大小分别记为E1、p1,球2的动能和动量的大小分别记为E2、p2,则必有( ).(1998年全国高考试题)[2.5]

(A)E1<E0                    (B)p1<p0                      (C)E2>E0                     (D)p2>p0

答案:ABD

★★★14.如图所示,在支架的圆孔上放一质量为M的木球,一质量为,m的子弹以速度v从下面击中木球而穿出,使木球向上运动到h高处,求子弹穿过木球后上升的高度.[3.5]

答案:

★★★15.如图636所示,在高为h的光滑平台上放一个质量为m2的小球,另一个质量为m1的球沿光滑弧形轨道从距平台高为h处由静止开始下滑,滑至平台上与球m2发生正碰.若m1=m2,求小球m2最终溶点距平台边缘水平距离的取值范围____________.[4]

答案:h<s<2h

横向拓展

★★★16.一个质量为m的小球甲以速度V在光滑水平面上运动,与一个等质量的止小球乙正碰后,甲球的速度变为v,那么乙球获得的动能等于(        )[3]

(A)            (B)

(C)                   (D)

答案:B

★★★★17.如图所示,木块A的右侧为光滑曲面,且下端极薄,其质量为2.0㎏,静止于光滑水平面上,一质量为2.0㎏的小球B以2.0m/s的速度从右向左运动冲上A的曲面,与A发生相互作用.[6]

(1)B球沿A曲面上升的最大高度(设B球不能飞出去)是(    ).[2]

(A)0.40m           (B)0.20m   

(C)0.10m           (D)0.05m

(2)B球沿A曲面上升到最大高度处时的速度是(   ).[2]

(A)0               (B)1.0m/s        (C)0.71m/s       (D)0.50m/s

(3)B球与A曲面相互作用结束后,B球的速度是(   ).[2]

(A)0               (B)1.0m/s        (C)0.71m/s       (D)0.50m/s

答案:(1)C(2)B(3)A

★★★★18.在光滑的水平导轨上有A、B两球,球A追卜并与球B正碰,碰前两球动量分别为pa=5㎏·m/s,pB=7㎏·m/s,碰后球B的动量p′=10㎏·m/s,则两球质量mA、mB的关系可能是    (    ).[5]

(A)mB=mA             (B)mB=2mA            (C)mB=4mA            (D)mB=6mA

答案:C

★★★★19.A、B两滑块在一水平长直气垫导轨上相碰.用频闪照相机在t0=0,t1

=Δt,t2=2Δt,t3=3Δt各时刻闪光四次,摄得如图所示照片,其中B像有重叠,mB=mA,由此可判断(    ).[6]

(A)  碰前B静止,碰撞发生在60cm处,t=2.5Δt时刻

(B)  碰后B静止,碰撞发生在60cm处,t=0.5Δt时刻

(C)  碰前B静止,碰撞发生在60cm处,t=0.5Δt时刻

(D)  碰后B静止,碰撞发生在60cm处,t=2.5Δt时刻

答案:AB

★★★★20.平直的轨道上有一节车厢,车厢以12m/s的速度作匀速直线运动.某时刻与一质量为其一半的静止的平板车挂接时,车厢顶边缘上一个小钢球向前滚出,如图所示,平板车与车厢顶高度差为1.8m,设平板车足够长,问钢球落在平板车上何处(g取10m/s2)?[6]

答案:钢球距平板车左端距离x=s2-s1=2.4m

★★★★21.如图所示,在光滑水平面上停有一辆质量为M的小车,车身长为l,一个质量为m的质点A放在车的尾部.A与车之间的动摩擦冈数为μ,现给质点A以水平速度v0向右运动,设A与小车的前后挡板碰撞中动能不损失.问:    (1)质点A与小车相对静止时,小牟速度多大?

(2)质点A相对小车静止前与小车前后挡板碰撞的总次数是多少?[5]

答案:(1)(2)

★★★★22.如图所示,一辆小车静止在光滑水平面上在C、D两端置有油灰阻挡层,整辆小车质量1㎏,在车的水平底板上放有光滑小球A和B,质量分别为mA=1㎏,mB=3㎏,A、B小球间置一被压缩的弹簧,其弹性势能为6J,现突然松开弹簧,A、B小球脱离弹簧时距C、D端均为0.6m.然后两球分别与油灰阻挡层碰撞,并被油灰粘住,问:[6]

(1)A、B小球脱离弹簧时的速度大小各是多少?

(2)整个过程小车的位移是多少?

答案:(1)vA=3m/s,vB=-1m/s(2)0.24m

★★★★★23.如图所示,运动的球A在光滑水平面上与一个原来静止的球B发生弹性碰撞,A、B质量关系如何,可以实现使B球获得:(1)最大的动能;(2)最大的速度;(3)最大的动量.[12]

答案:(1)mA=mB(2)mA>>mB(3)mA<<mB

★★★★★24.一段凹槽A倒扣在水平长木板C卜,槽内有一小物块B,它到槽两内侧的距离均为l/2,如图所示,小板位于光滑水平的桌面上,槽与木板间的摩擦不计,小物块与木板间的动摩擦因数为μ,A、B、C三者质量相等,原来都静止.现使槽A以大小为v0的初速向右运动,已知v

试题详情

水平预测

(60分钟)

双基型

★1.改变汽车的质量和速度,都能使汽车的动能发生变化.在下列几种情况中,关于汽车的动能的说法正确的是(    ).

(A)质量不变,速度增大到原来的2倍,汽车的动能变为原来的2倍

(B)速度不变,质量增大到原来的2倍,汽车的动能变为原来的2倍

(C)质量减半,速度增大到原来的4倍,汽车的动能不变

(D)速度减半,质量增大到原来的4倍,汽车的动能不变

答案:BD

★2.一质量为2kg的小球从10m高的塔顶以某一初速下落,当下落2m后,速度达到7m/s,此时小球的动能大小为______J,重力势能为______J,机械能为______J.

答案:49,160,209

★★3.如图所示,质量分别为m1和m2的两个物体,m1<m2,在大小相等的两个力F1和F2的作用下沿水平方向移动了相同的距离.若F1做的功为W1,F2做的功为W2,则(   ).

(A)W1>W2      (B)W1<W2

(C)W1=W2       (D)条件不足,无法确定

答案:C

★★4.下列情况中,运动物体机械能一定守恒的是(    ).

(A)作匀速直线运动的物体   (B)作平抛运动的物体

(C)物体不受摩擦力      (D)物体只受重力

答案:BD

★★5.两立方体金属块密度之比为1:2,体积之比为1:4,将它们放在离开地面同样高的地方,则所具重力势能大小之比是______.

答案:1:8

纵向型

★★★6.如图所示,质量为m的小物体相对静止在楔形物体的倾角为θ的光滑斜面上,楔形物体在水平推力F作用下向左移动了距离s,在此过程中,楔形物体对小物体做的功等于(     ).

(A)0     (B)mgscosθ    (C)Fs    (D)mgstanθ

答案:D(提示:利用楔形物体对小物体的支持力的竖直方向的分力与重力平衡条件,可求出支持力的大小)

★★★7.快艇在水上行驶,所受水的阻力和艇的速度平方成正比.若快艇以速度v行驶时,发动机的功率为P,当快艇的速度为3v时,发动机的功率应为(     ).

(A)3P    (B)9P    (C)27P    (D)81P

答案:C(提示:快艇以某一速度运动时,牵引力与阻力平衡,即,f=kv2,F=f,所以)

★★★8.如图所示,在水平桌面上的A点有一个质量为m的物体以初速度v0被抛出,不计空气阻力,当它到达B点时,其动能为( ).

(A)(B)

(C)mgH-mgh(D)

答案:B(提示:利用动能定理

★★★9.子弹以700m/s的速度射穿一块木板后速度减为500m/s,则继续射穿完全相同的第二块木板后的速度将减为______m/s.

答案:100(提示:利用动能定理,子弹射穿两块木板时阻力所做的功相同,动能的减少量相同)

★★★10.一位搬运工人在10min内,将质量为25kg的面粉40袋搬到1.5m高的卡车上,那么这位搬运工人所做的功是______J,其做功的功率是______W.

答案:1.5×104,25

横向型

★★★★11.质量为150kg的摩托车,由静止开始沿倾角为10°的斜坡以1m/s2.的加速度上行驶,若所受阻力是车重的0.03倍,则行驶12.5m时摩托车的功率为多少?若摩托车的额定功率为4.5kW,它能维持匀加速行驶的时间是多少(sin10°=0.17)?

答案:(1)摩托车行驶12.5m时的速度大小为,牵引力大小为代入数据得F=450N.此时摩托车的功率为P=Fv=2.25×103W(2)摩托车作匀加速度运动时的牵引力大小为F=450N,则作匀加速运动的最大速度为,则摩托车作匀加速运动的时间

★★★★12.如图所示,在一根不可伸长的细线上系一个质量为m的小球,当把小球拉到使细线与水平面成θ=30°角时,轻轻释放小球.不计空气阻力,试求小球落到悬点正下方的B点时对细线的拉力.

答案:如图所示,当小球下落到C点,细绳偏下与水平成θ角,细绳张紧,小球速度.v垂直于细绳方向的分量.从C到B,机械能守恒,设到B点时的速度为vB

.在B点应用牛顿第二定律,所以,

★★★★★13.如图所示,轻质长绳水平地跨存相距为2L,的两个小定滑轮A、B上,质量为m的小物块悬挂在绳上的O点,O与A、B两滑轮的距离相等,在轻绳两端C、D分别施加竖直向下的恒力F=mg,先托住物块,使绳处于水平拉直状态,由静止释放物块,在物块下落过程中,保持C、D两端力F不变.问:

(1)当物块下落距离h为多大时,物块的加速度为零?

(2)存物块下落上述距离的过程中克服C端恒力F做功W为多少?

(3)物块下落过程中最大速度和最大距离H各为多少?

答案:(1)物块下落时受到三个力的作用:重力mg、绳AO、BO的拉力F.当两绳拉力的向上合力R等于重力mg时,三力互成120°夹角.由右图可知,下落距离(2)物块下落h时,C、D两端上升距离,所以物块克服C端恒力F做功(3)物块下落h时的速度是最大速度.根据做功与动能变化的关系得最大速度,当物块下落最大距离H时,C、D两端上升的距离为,而由动能定理:

★★★★★14.如图所示,质量均为m的两个小球固定在长度为l的轻杆两端,直立在相互垂直的光滑墙壁和地板交界处.突然发生微小的扰动使杆无初速倒下,求当杆与竖直方向成角α时,A球对墙的作用力.

答案:如图所示,开始杆以A球为中心,杆长l为半径运动,所以,根据机械能守恒定律,由以上二式可得,则杆对墙的作用力为

阶梯训练

功和功率

双基训练

★1.______和______是做功的两个不可缺少的因素.[0.5]

答案:力,物体在力方向上的位移

★2.如图所示,用300N拉力F在水平面上拉车行走50m.已知拉力和水平方向夹角是37°,则拉力F对车做功是_____J.若车受到的阻力是200N,则车克服阻力做功是______J.[1]

答案:1.2×104,1.0×104

★3.用与斜面平行的10N的拉力沿斜面把一个物体从斜面底端拉到顶端需时间2.5s,已知斜面长3.0m,物体在斜面顶端时的速度为2.0m/s,在这过程中拉力的平均功率为______w,在斜面顶端的瞬时功率为______w.[1]

答案:12,20

★★4.关于功率的概念,下列说法中正确的是(    ).[1]

(A)功率是描述力对物体做功多少的物理量

(B)由P=W/t可知,功率与时间成反比

(C)由P=Fv可知只要F不为零,v也不为零,那么功率P就一定不为零

(D)某个力对物体做功越快,它的功率就一定大

答案:D

★★5.如图所示,物体质量为2kg,光滑的动滑轮质量不计,今用一竖直向上的恒力向上拉,使物体匀速上升4m距离,则在这一过程中拉力做的功为______J.[1]

答案:80

★★★6.关于作用力与反作用力做功的关系,下列说法中正确的是(   ).[1]

(A)当作用力做正功时,反作用力一定做负功

(B)当作用力不做功时,反作用力也不做功

(C)作用力与反作用力所做的功一定是大小相等、正负相反的

(D)作用力做正功时,反作用力也可以做正功

答案:D

★★★7.如图所示,两个互相垂直的力F1和F2作用在同一物体上,使物体运动,物体发生一段位移后,力F1对物体做功为4J,力F2xkb对物体做功为3J,则力F1与F2的合力对物体做功为(    ).[1.5]

(A)7J    (B)5J    (C)3.5J   (D)1J

答案:A

纵向应用

★★8.如图所示,B物体在拉力F的作用下向左运动,在运动的过程中,A、B间有相互作用的摩擦力,则摩擦力做功的情况是(    ).[1](A)A、B都克服摩擦力做功(B)摩擦力对A不做功,B克服摩擦力做功(C)摩擦力对A做功,B克服摩擦力做功(D)摩擦力对A、B都不做功

答案:B

★★9.汽车在平直公路上行驶,它受到的阻力大小不变,若发动机的功率保持恒定,汽车在加速行驶的过程中,它的牵引力F将______,加速度a将(选填“增大”或“减小”).[1]

答案:减小,减小

★★★10.用力将重物竖直提起,先是从静止开始匀加速上升,紧接着匀速上升.如果前后两过程的运动时间相同,不计空气阻力,则(   ).[1]

(A)加速过程中拉力做的功比匀速过程中拉力做的功多

(B)匀速过程中拉力做的功比加速过程中拉力做的功多

(C)两过程中拉力做的功一样多

(D)上述三种情况都有可能

答案:D

★★★11.如图所示,质量为m的物体在与水平方向成θ角的拉力作用下,在水平面上匀速移动位移s.已知物体与平向间的动摩擦因数为μ,则外力做功大小为(    ).[2]

(A)μmgs(B)μmgscosθ(C)(D)

答案:D

★★★12.关于汽车在水平路上运动,下列说法中正确的是(     ).[1]

(A)汽车启动后以额定功率行驶,在速率达到最大以前,加速度是在不断增大的

(B)汽下启动后以额定功率行驶,在速度达到最大以前,牵引力应是不断减小的

(C)汽车以最大速度行驶后,若要减小速度,可减小牵引功率行驶

(D)汽车以最大速度行驶后,若再减小牵引力,速率一定减小

答案:BCD

★★★13.一列火车在恒定功率的牵引下由静止从车站出发,沿直轨道运动,行驶5min后速度达到20m/s,设列车所受阻力恒定,则可以判定列车在这段时间内行驶的距离(    ).[1.5]

(A)一定大于3km   (B)可能等于3km

(C)一定小于3km   (D)以上说法都不对

答案:A

★★★14.如图所示,质量为m的物体放在光滑水平面上,都是从静止开始,以相同的加速度移动同样的距离.第一次拉力F1方向水平,第二次拉力F2与水平成α角斜向上拉.在此过程中,两力的平均功率为P1和P2,则(    ).[1.5]

(A)P1>P2

(B)P1=P2

(C)P1<P2

(D)无法判断

答案:B

★★★15.轮船以恒定的功率加速行驶,当其速度为4m/s时的加速度为a,当其速度增加到8m/s时其加速度减为a/4,如果轮船行驶时所受的阻力不变,那么该轮船行驶的最大速度为______m/s.[2]

答案:12

★★★16.一列质量为2×103t的列车,以36km/h的速度匀速驶上坡度为0.01的坡路(即每前进100m升高1m),如果列车受到的阻力是车重的0.005倍,那么机车的功率是______kW.[2]

答案:1000

★★★17.汽车发动机的额定功率为60kW,满载时在水平直路上最大的行驶速度可达20m/s,这时汽车所受阻力为______N,若汽车实际速度保持15m/s的速度不变,则汽车发动机实际功率是______kW(设汽车所受阻力不变).[2]

答案:3×103,45

★★★18.在水平直轨道上,机车牵引着质量为m=5000kg的车厢,以v=36km/h的速度匀速行驶,机车对车厢的输出功率P=5000W.如果使车厢与动力车脱开,车厢将滑行多长的距离而停止.[2.5]

答案:500

横向拓展

★★★19.如图所示,劈a放在光滑的水平面上,斜面光滑,把b物体放在斜面的顶端由静止开始滑下,则在下滑过程中,a对b的弹力对b做的功为W1对a的弹力对a做的功为W2,下列关系中正确的是(    ).[1.5]

(A)W1=0,W2=0

(B)W1≠0,W2=0

(C)W1=0,W2≠0

(D)W1≠0,W2≠0

答案:D

★★★20.如图所示,木块M上表面是水平的,当木块m置于M上,并与M一起沿固定的光滑斜面由静止开始下滑,在下滑过程中(    ).[2]

(A)重力对m做正功

(B)M对m的支持力做负功

(C)M对m的摩擦力做负功

(D)m所受的合外力对m做负功

答案:AB

★★★21,对于在水平面内作匀速圆周运动的圆锥摆的摆球,下列说法中正确的是(    ).[1.5]

(A)重力做功,摆线对球的拉力不做功

(B)重力不做功,摆线对球的拉力做功

(C)重力和拉力都做功

(D)重力和拉力都不做功

答案:D

★★★22.设在平直公路上以一定速度行驶的自行车,所受阻力约为车、人总重力的0.02倍,则骑车人的最接近于(     ).[2]

(A)10-1kW    (B)10-3kW

(C)1kW     (D)10kW

答案:A

★★★23.如图所示,质量为m的小滑块,由静止开始从倾角为θ的固定的光滑斜面顶端A滑至底端B,A点距离水平地面的高度为h,求:

(1)滑块从A到B的过程中重力的平均功率.

(2)滑块滑到B点时重力的瞬时功率.[3]

答案:(1)(2)

★★★★24.如图所示,一恒力F通过一定滑轮拉物体沿光滑水平面前进了s,在运动过程中,F与水平方向保持θ角,则拉力F对物体做的功为(   ).[3]

(A)Fscosθ      (B)2Fscosθ

(C)Fs(1+cosθ)    (D)

答案:CD

★★★★25.如图所示,甲、乙两个容器形状不同,现有两块完全相同的金属块用细线系着分别浸没入同样深度,这时两容器的水面相平齐,如果将金属块匀速提升一段位移,但仍浸没在水面以下,不计水的阻力,

则(   ).[2]

(A)在甲容器中提升时,拉力做功较多

(B)在乙容器中提升时,拉力做功较多

(C)在两个容器中提升时,拉力做功相同

(D)做功多少无法比较

答案:C

★★★★26.如图所示,水平传送带正以v=2m/s的速度运行,两端的距离为l=10m.把一质量为m=1kg的物体轻轻放到传送带上,物体在传送带的带动下向右运动.如物体与传送带间的动摩擦因数μ=0.1,则把这个物体从传送带左端传送到右端的过程中,摩擦力对其做了多少

功?摩擦力做功的平均功率有多大?[3]

答案:2J,

★★★★27.汽车质量为m,额定功率为P,在水平长直路面上从静止开始沿直线行驶,设行驶中受到的恒定阻力为f.

(1)求汽车所能达到的最大速度.

(2)求汽车从一开始即以加速度a作匀加速运动,汽车能保持匀加速运动的最长时间.

(3)汽车在后,加速度和速度分别是怎样变化的[3.5]

答案:(1)(2)(3)加速度变小,最后变为零;速度不断增大,最后匀速

★★★★28.汽车发动机的功率为60kW,汽车的质量为4t,当它行驶在坡度为0.02的长直公路上时,所受阻力为车重的0.1倍(g取10m/s2),问:

(1)汽车所能达到的最大速度多大?

(2)若汽车从静止开始以0.6m/s2的加速度作匀加速直线运动,则此过程能维持多长时间?

(3)当汽车匀加速行驶的速度达到最大值时,汽车做功多少?

(4)在10s末汽车的即时功率为多大?[5]

答案:(1)12.5m/s(2)14s(3)4.2×105J(4)43.2kW

★★★★29.跳绳是一种健身运动.设某运动员的质量是50kg,他1min跳绳180次,假定在每次跳跃中,脚与地面的接触时间占跳跃一次所需时间的,则该运动员跳绳时,克服重力做功的平均功率是多大?[5]

答案:75W

★★★★30.如图所示,用恒力F通过光滑的定滑轮,将静止于水平面上的物体从位置A拉到位置B,物体可视为质点,定滑轮距水平面高为h,物体在位置A、B时,细绳与水平面的夹角分别为α和β,求绳的拉力F

对物体做的功.[7]

答案:

★★★★★31.长度为L的矩形板,以速度v沿光滑水平面上平动时,垂直滑向宽度为l的粗糙地带.板从开始受阻到停下来所经过路程为s,而l<s<L.求板面与粗糙地带之间的动摩擦因数.[10]

答案:

★★★★★32.一粗细均匀的铁杆AB长为L,横截面积为S,将杆的全长分为n段,竖直插入水中,求第n段铁杆浸没于水中,浮力所做功的大小.[10]

答案:

★★★★★33.将放在地上的木板绕其一端沿地面转动角α,求摩擦力所做的功.已知木板长度为L,质量为M,木板与地面间的摩擦因数为μ.[5]

答案:

动能和动能定理

双基训练

★1.有两个物体甲、乙,它们在同一直线上运动,两物体的质量均为m,甲速度为v,动能为Ek;乙速度为-v,动能为Ek′,那么(    ).[0.5]

(A)Ek′=-Ek     (B)Ek′=Ek      (C)Ek′<Ek      (D)Ek′>Ek

答案:B

★2.一个质量是2kg的物体以3m/s的速度匀速运动,动能等于______J.[1]

答案:9

★3.火车的质量是飞机质量的110倍,而飞机的速度是火车速度的12倍,动能较大的是______.[1]

答案:飞机

★4.两个物体的质量之比为100:1,速度之比为1:100,这两个物体的动能之比为______.[1]

答案:1:100

★★5.一个物体的速度从0增加到v,再从v增加到2v,前后两种情况下,物体动能的增加量之比为______.[1]

答案:1:3

★★6.甲、乙两物体的质量之比为,它们分别在相同力的作用下沿光滑水平面从静止开始作匀加速直线运动,当两个物体通过的路程相等时,则甲、乙两物体动能之比为______.[1]

答案:1:1

★★★7.自由下落的物体,下落1m和2m时,物体的动能之比是______;下落1s和2s后物体的动能之比是______.[1.5]

答案:1:2;1:4

纵向应用

★★8.甲、乙两物体的质量比m1:m2=2:1,速度比v1:v2=1:2,在相同的阻力作用下滑行至停止时通过的位移大小之比为_____.[1.5]

答案:1:2

★★9.一颗质量为10g的子弹,射入土墙后停留在0.5m深处,若子弹在土墙中受到的平均阻力是6400N.子弹射入土墙前的动能是______J,它的速度是______m/s.[1.5]

答案:3200,800

★★10.甲、乙两个物体的质量分别为,并且=2,它们与水平桌面的动摩擦因数相同,当它们以相同的初动能在桌面上滑动时,它们滑行的最大距离之比为(   ).[1.5]

(A)1:1    (B)2:1    (C)1:2    (D)

答案:

★★★11.两个物体a和b,其质量分别为ma和mb,且ma>mb,它们的初动能相同.若它们分别受到不同的阻力Fa和Fb的作用,经过相等的时间停下来,它们的位移分别为sa和sb,则(    ).[1.5]

(A)Fa>Fb,sa>sb      (B)Fa>Fb,sa<sb

(C)Fa<Fb,sa>sb      (D)Fa<Fb,sa<sb

答案:B

★★★12.一个小球从高处自由落下,则球在下落过程中的动能(     ).[2]

(A)与它下落的距离成正比   (B)与它下落距离的平方成正比

(C)与它运动的时间成正比   (D)与它运动的时间平方成正比

答案:AD

★★★13.质量为2kg的物体以50J的初动能在粗糙的水平面上滑行,其动能的变化与位移的关系如图所示,则物体在水平面上滑行的时间为(    ).[3]

(A)5s(B)4s(C)(D)2s

答案:C

★★★14.以速度v飞行的子弹先后穿透两块由同种材料制成的平行放置的固定金属板,若子弹穿透两块金属板后的速度分别变为0.8v和0.6v,则两块金属板的厚度之比为(     ).[2]

(A)1:1    (B)9:7    (C)8:6    (D)16:9

答案:B

★★★15.质点所受的力F随时间变化的规律如图所示,力的方向始终在一直线上.已知t=0时质点的速度为零.在右图所示的t1、t2、t3和t4各时刻中,质点动能最大的时刻是(    ).(2002年全国高考试题)[1]

(A)t1       (B)t2       (C)t3       (D)t4

答案:B

★★★16.在平直公路上,汽车由静止开始作匀加速运动,当速度达到某一值时,立即关闭发动机后滑行至停止,其v-t图像如图5-22所示.汽车牵引力为F,运动过程中所受的摩擦阻力恒为f,全过程中牵引力所做的功为W1,克服摩擦阻力所做的功为W2,则下列关系中正确的是(     ).[2]

(A)F:f=1:3    (B)F:f=4:1

(C)W1:W2=1:1    (D)W1:W2=1:3

答案:C

★★★17.质量为m的物体,作加速度为a的匀加速直线运动,在运动中连续通过A、B、C三点,如果物体通过AB段所用时间和通过BC段所用的时间相等,均为T,那么物体在BC段的动能增量和在AB段的动能增量之差为______.[2]

答案:ma2T2

★★★18.质量m=10kg的物体静止在光滑水平面上,先在水平推力F1=40N的作用下移动距离s1=5m,然后再给物体加上与F1反向、大小为F2=10N的水平阻力,物体继续向前移动s2=4m,此时物体的速度大小为______m/s.[2]

答案:8

★★★19.乌鲁木齐市达坂城地区风力发电网每台风力发电机4张叶片总共的有效迎风面积为s,空气密度为ρ、平均风速为v.设风力发电机的效率(风的动能转化为电能的百分比)为η,则每台风力发电机的平均功率P=______.[2]

答案:

★★★20.如图所示,一个物体从斜面上高h处由静止滑下并紧接着在水平面上滑行一段距离后停止,测得停止处与开始运动处的水平距离为s,不考虑物体滑至斜面底端的碰撞作用,并认为斜面与水平面对

物体的动摩擦因数相同,求动摩擦因数μ.[2]

答案:h/s

★★★21.一颗质量m=10g的子弹,以速度v=600m/s从枪口飞出,子弹飞出枪口时的动能为多大?若测得枪膛长s=0.6m,则火药引爆后产生的高温高压气体在枪膛内对子弹的平均推力多大?[2.5]

答案:1.8×1023J,3×103N

★★★★22.质量为m的小球被系在轻绳的一端,在竖直平面内作半径为R的圆周运动.运动过程中,小球受到空气阻力的作用,在某一时刻小球通过轨道最低点时绳子的拉力为7mg,此后小球继续作圆周运动,转过半个圆周恰好通过最高点,则此过程中小球克服阻力所做的功为(    ).[3]

(A)mgR(B)(C)(D)

答案:B

★★★★23.一小球用轻绳悬挂在某固定点,现将轻绳水平拉直,然后由静止开始释放小球,考虑小球由静止开始运动到最低位置的过程(    ).[3]

(A)小球在水平方向的速度逐渐增大

(B)小球在竖直方向的速度逐渐增大

(C)到达最低位置时小球线速度最大

(D)到达最低位置时绳中的拉力等于小球重力

答案:AC

★★★★24.如图所示,板长为L,板的B端静止放有质量为m的小物体,物体与板的动摩擦因数为μ.开始时板水平,在缓慢转过一个小角度α的过程中,小物体保持与板相对静止,则在这个过程中(   ).[2]

(A)摩擦力对小物体做功为μmgLcosα(1-cosα)

(B)摩擦力对小物体做功为mgLsinα(1-cosα)

(C)弹力对小物体做功为mgLcosαsinα

(D)板对小物体做功为mgLsinα

答案:D

★★★★25.一人坐在雪橇上,从静止开始沿着高度为15m的斜坡滑下,到达底部时速度为10m/s.人和雪橇的总质量为60kg,下滑过程中克服阻力做的功等于______J(g取10m/s2).(1995年全国高考试题)[2]

答案:6×103

★★★★26.一辆汽车质量为m,从静止开始起动,沿水平面前进了距离s后,就达到了最大行驶速度.设汽车的牵引力功率保持不变,所受阻力为车重的k倍,求:(1)汽车的牵引功率.(2)汽车从静止到开始匀速运动所需的时间.[3]

答案:(1)(2)

横向拓展

★★★★27.一个物块从斜面底端冲上足够长的斜面后,返回到斜面底端.已知小物块的初动能为E,它返回斜面底端的速度大小为v,克服摩擦阻力做功为.若小物块冲上斜面的初动能变为2E,则有(    ).[3]

(A)返回斜面底端时的动能为E     (B)返回斜面底端时的动能为

(C)返回斜面底端时的速度大小为2v   (D)克服摩擦阻力做的功仍为

答案:AC

★★★★28.如图所示,物体自倾角为θ、长为L的斜面顶端由静止开始滑下,到斜面底端时与固定挡板发生碰撞,设碰撞时无机械能损失.碰后物体又沿斜面上升,若到最后停止时,物体总共滑过的路程为s,则物体与斜面间的动摩擦因数为(     ).[3]

(A)(B)(C)(D)

答案:C

★★★★29.如图所示,斜面倾角为θ,滑块质量为m,滑块与斜面的动摩擦因数为μ,从距挡板为s0的位置以v0的速度沿斜面向上滑行.设重力沿斜面的分力大于滑动摩擦力,且每次与P碰撞前后的速度大小保持不变,斜面足够长.求滑块从开始运动到最后停止滑行的总路程s.[3.5]

答案:

★★★★30.在光滑水平面上有一静止的物体,现以水平恒力F1推这一物体,作用一段时间后,换成相反方向的水平恒力F2推这一物体.当F2作用时间与F1的作用时间相同时,物体恰好回到出发点,此时物体的动能为32J.求运动过程中F1和F2所做的功.[4]

答案:8J,24J

★★★★31.如图所示为推行节水工程的转动喷水“龙头”,“龙头”距地面为h,其喷灌半径可达10h,每分钟喷出水的质量为m,所用的水从地下H深的井里抽取.设水以相同的速率喷出,水泵的效率为η不计空气阻力.试求:(1)喷水龙头喷出水的初速度.(2)水泵每分钟对水所做的功.(3)带动水泵的电动机的最小输出功率.[5]

答案:(1)(2)mg(H+26h)(3)

★★★★32.如图所示,质量m=0.5kg的小球从距地面高H=5m处自由下落,到达地面恰能沿凹陷于地面的半圆形槽壁运动,半圆槽半径R=0.4m.小球到达槽最低点时的速率为10m/s,并继续滑槽壁运动直至槽左端边缘飞出,竖直上升,落下后恰好又沿槽壁运动直至从槽右端边缘飞出,竖直上升、落下,如此反复几次.设摩擦力大小恒定不变:(1)求小球第一次离槽上升的高度h.(2)小球最多能飞出槽外几次(g取10m/s2)?[5]

答案:(1)4.2m(2)6次

★★★★33.人的心脏在一次搏动中泵出的血液约为70mL,推动血液流动的平均压强约为1.6×104Pa,设心脏主动脉的内径约为2.5cm,每分钟搏动75次,问;(1)心脏推动血液流动的平均功率是多大?(2)血液从心脏流出的平均速度是多大?[5]

答案:(1)1.4W(2)0.18m/s

★★★★★34.一辆车通过一根跨过定滑轮的绳PQ提升井中质量为m的物体,如图所示.绳的P端拴在车后的挂钩上,Q端拴在物体上.设绳的总长不变,绳的质量、定滑轮的质量和尺寸、滑轮上的摩擦都忽略不计.开始时,车在A点,左右两侧绳都已绷紧并且是竖直的,左侧绳绳长为H.提升物体时,车加速向左运动,沿水平方向从A经过B驶向C.设A到B的距离也为H,车过B点时的速度为vB,求在车由A移到B的过程中,绳Q端的拉力对物体所做的功.[8]

答案:

★★★★★35.如图(a)所示,把质量均为m的两个小钢球用长为2L的线连接,放在光滑的水平面上.在线的中央作用一个恒定的拉力,其大小为F,其方向沿水平方向且与开始时连线的方向垂直,连线非常柔软且不会伸缩,质量可忽略不计.试问:(1)当两连线的张角为2θ时,如图(b)所示,在与力F垂直的方向上钢球所受的作用力是多大?(2)钢球第一次碰撞时,在与力F垂直的方向上钢球的对地速度为多大?(3)经过若下次碰撞,最后两个钢球一直处于接触状态下运动,则由于碰撞而失去的总能量为多少?[10]

答案:(1)(2)(3)Fl

势能

双基训练

★1.一个质量为1kg的物体,位于离地面高1.5m处,比天花板低2.5m.以地面为零势能位置时,物体的重力势能等于______J;以天花板为零势能位置时,物体的重力势能等于______J(g取10m/s2).[1]

答案:15,-25

★2.关于重力势能,下列说法中正确的是(    ).[1]

(A)重力势能的大小只由重物本身决定

(B)重力势能恒大于零

(C)在地面上的物体具有的重力势能一定等于零

(D)重力势能实际上是物体和地球所共有的

答案:D

纵向应用

★★3.关于重力势能与重力做功,下列说法中正确的是(  ).[1]

(A)物体克服重力做的功等于重力势能的增加

(B)在同一高度,将物体以初速v0向不同的方向抛出,从抛出到落地过程中,重力做的功相等,物体所减少的重力势能一定相等

(C)重力势能等于零的物体,不可能对别的物体做功

(D)用手托住一个物体匀速上举时,手的支持力做的功等于克服重力的功与物体所增加的重力势能之和.

答案:AB

★★4.甲、乙两物体,质量大小关系为m=5m,从很高的同一处自由下落2s,重力做功之比为_____,对地面而言的重力势能之比为_____.[1]

答案:5:1,1:5

★★5.把一根长为l、质量为m且分布均匀的木棒,从平卧在水平地面的位置缓缓提升至竖直,这个过程中棒的重力势能增加_____,外力需做功_____.[1]

答案:,

★★★6.如图所示,一个质量为M的物体放在水平地面上,物体上方安装一个长度为L、劲度系数为k的轻弹簧,现用手拉着弹簧上端的P点缓慢向上移动,直到物体离开地面一段距离.在这一过程中,P点的位移(开始时弹簧为原长)是H,则物体重力势能增加了      (    ).[2]

(A)MgH            (B)

(C)     (D)

答案:C

★★★7.如图所示,一质量m=0.5㎏的米尺,放在水平桌面上,一端伸出桌面d=20cm.现用手缓缓下压伸出的B端,直到另一端A抬起24cm.在这过程中,尺的重力势能增加_____J,手对尺做功_____J.[2]

答案:0.45,0.45

★★★8.某海湾共占面积1.0×107m2,涨潮时水深20m,此时关上水坝闸门,可使水位保持20m不变.退潮时,坝外水位降至18m.假如利用此水坝建水力发电站,且重力势能转变为电能的效率是10%,每天有两次涨潮,问该电站一天能发出多少电能?[2.5]

答案:4×1010J

横向拓展

★★★9.为了测定一根轻弹簧压缩最短时能储存的弹性势能大小,可以将弹簧固定在一带有凹槽轨道一端,并将轨道固定在水平桌面边缘上,如图所示,用钢球将弹簧压缩至最短,而后突然释放,钢球将沿轨道飞出桌面,实验时:(1)需要测定的物理量是____________________.(2)计算弹簧最短时弹性势能的关系式是EP=__________.[2.5]

答案:(1)桌子的高度h、钢球的水平射程s、钢球的质量m   (2)

★★★★10.如图所示,一升降机在箱底装有若干个弹簧,设在某次事故中,升降机吊索在空中断裂,忽略摩擦力,则升降机在从弹簧下端触地后直到最低点的一段运动过程中(        ).(2001年上海高考试题)[2.5]

(A)升降机的速度不断减小

(B)升降机的加速度不断变大

(C)先是弹力做的负功小于重力做的正功,然后是弹力做的负功大于重力做的正功

(D)到最低点时,升降机加速度的值一定大于重力加速度的值

答案:CD

★★★★11.如图所示,一质量为m、边长为a的正方体与地面之间的动摩擦因数μ=0.1.为使它水平移动距离为a,可以采用将它翻倒或向前匀速平推两种方法,则( ).[2.5]

(A)将它翻倒比平推前进做的功少

(B)将它翻倒比平推前进做的功多

(C)两种情况做功一样多

(D)两种情况做功多少无法比较

答案:B

★★★★12.两个底面积都是S的圆桶,放在同一水平面上,桶内装水,水面高度分别为h1和h2,如图所示.已知水的密度为ρ,现把连接两桶阀门打开,最后两桶水面高度相等,则在这过程中重力做的功等于(   ).[2.5]

(A)ρgS(h1一h2)

(B)

(C)

(D)

答案:D

★★★★13.在一次演示实验中,一个压紧的弹簧沿一粗糙水平面射出一个小球,测得弹簧压缩的距离d和小球在粗糙水平面滚动的距离s如下表所示.由此表可以归纳出小球滚动的距离s跟弹簧压缩的距离d之间的关系,并猜测弹簧的弹性势能EP跟弹簧压缩的距离d之间的关系分别是(选项中k1、k2是常量)(    ).[2]

实验序号
1
2
3
4
d(cm)
0.50
1.00
2.00
4.00
s(cm)
4.98
20.02
80.10
319.50

(A)s=k1d,EP=k2d

(B)s=k1d,EP=k2d2

(C)s=k1d2,EP=k2d

(D)s=k1d2,Ep=k2d2

答案:D

★★★★14.如图所示,劲度系数为k1的轻质弹簧两端分别与质量为m1、m2的物块拴接,劲度系数为k2的轻质弹簧上端与m2拴接,下端压在桌面上(不拴接),整个系统处于平衡状态.现施力将m1缓慢竖直上提,直到下面那个弹簧的下端刚脱离桌面.在此过程中,m2的重力势能增加了_____,m1的重力势能增加了_____.[3]

答案:,

★★★★15.如图所示,面积很大的水池,水深为H,水面上浮着一正方体木块,木块边长为a,密度为水的1/2,质量为m.开始时,木块静止,有一半没入水中,现用力F将木块缓慢地压到池底,不计摩擦,求:(1)从木块刚好完全没入水中到停在池底的过程中,池水势能的改变量.(2)从开始到木块刚好完全没入水的过程中,力F所做的功.(2000年广东高考试题)[7]

答案:(1)2mg(H-a),(2)

★★★★★16.如图所示,质量分别是mA和mB的两木块A和B,固定在劲度系数为k的轻弹簧的两端,竖直地放置在水平桌面上.用一竖直向下的作用力压在A上,使A静止不动,然后突然撤去此作用力.要使B离开桌面,此竖直向下的作用力至少应为多大?[10]

答案:(mA+mB)g

机械能守恒定律

双基训练

★1.在只有重力做功的情况下,_________________________,这个结论叫作机械能守恒定律.[0.5]

答案:物体的动能和势能发生转化,但机械能的总量保持不变

★★2.下列情况中,运动物体机械能一定守恒的是(  ).[0.5]

(A)物体所受的合外力为零

(B)物体不受摩擦力

(C)物体受到重力和摩擦力

(D)物体只受重力

答案:D

★★3.关于机械能是否守恒,下列叙述中正确的是(  ).[1]

(A)作匀速直线运动的物体的机械能一定守恒

(B)作匀变速运动的物体机械能可能守恒

(C)外力对物体做功为零时,机械能一定守恒

(D)只有重力对物体做功,物体机械能一定守恒

答案:BD

★★★4.下列说法中正确的是(      ).[1.5]

(A)一个物体所受的合外力为零,它的机械能一定守恒

(B)一个物体所受的合外力恒定不变,它的机械能可能守恒

(C)一个物体作匀速直线运动,它的机械能一定守恒

(D)一个物体作匀加速直线运动,它的机械能可能守恒

答案:BD

纵向应用

★★★5.a、b、c三球自同一高度以相同速率抛出,a球竖直上抛,b球水平抛出,c球竖直下抛.设三球落地的迷率分别为va、vb,vc则(  ).[1.5]

(A)va>vb>vc

(B)va=vb>vc

(C)va>vb=vc

(D)va=vb=vc

答案:D

★★★6.质量为m的物体,以初速度v0由固定的光滑斜面的底端沿斜面向上滑动,在滑动过程中,当高度为h时,该物体具有的机械能为(        ).[1.5]

(A)

(B)

(C)mgh

(D)

答案:A

★★★7.如图所示,质量相同的两个小球,分别用长l和2l的细绳悬挂在天花板上,分别拉起小球使线伸直呈水平状态,然后轻轻释放.当小球到达最低位置时( ).[2]

(A)两球运动的线速度相等

(B)两球运动的角速度相等

(C)两球的向心加速度相等

(D)细绳对两球的拉力相等

答案:CD

★★★8.当重力对物体做正功时,物体的(      ).[1.5]

(A)重力势能一定增加,动能一定减少

(B)重力势能一定减少,动能一定增加

(C)重力势能一定减少,动能不一定增加

(D)重力势能不一定减少,动能一定增加

答案:C

★★★9.以下运动中机械能守恒的是(    ).[1.5]

(A)物体沿斜面匀速下滑

(B)物体从高处以g/3的加速度竖直下落

(C)不计阻力,细绳一端拴一小球,使小球在竖直平面内作圆周运动

(D)物体沿光滑的曲面滑下

答案:CD

★★★10.图中的四个选项,木块均在固定的斜面上运动,其中图(A)(B)(C)中的斜面是光滑的,图(A)(B)中的F为木块所受的外力,方向如图中箭头所示,图(A)(B)(D)中的木块向下运动,图(C)中的木块向上运动.在这四个图所示的运动过程中,机械能守恒的是图(      ).(2002年全国春季高考试题)[1.5]

答案:C

★★★11.跳伞运动员在刚跳离飞机、其降落伞尚未打开的一段时间内,下列说法中正确的是( ).(2001年上海高考试题)[1.5]

(A)空气阻力做正功   

(B)重力势能增加    

(C)动能增加    

(D)空气阻力做负功

答案:CD

★★★12.如图所示,一艘快艇发动机的冷却水箱离水面的高度为0.8m,现用导管与船底连通到水中,要使水能流进水箱(不考虑导管对水的阻力),快艇的航行速度至少应达到(       ).[1.5]

(A)2.0m/s        (B)4.0m/s        (C)6.0m/s        (D)8.0m/s

答案:B

★★★13.枪竖直向上以初速度v0发射子弹,忽略空气阻力,当子弹离枪口距离为____时,子弹的动能是其重力势能的一半.[1.5]

答案:

★★★14.在验证机械能守恒定律的实验中,要验证的是重锤重力势能的减少等于它动能的增加,以下步骤中仅是实验中的一部分,在这些步骤中多余的或错误的有______(填代号).[1.5]

(A)用天平称出重锤的质量.

(B)把打点计时器固定在铁架台上,并用导线把它和低压交流电源连接起来.

(C)把纸带的一端固定在重锤上,另一端穿过打点计时器的限位孔,把重锤提升到一定的高度.

(D)接通电源,释放纸带.(E)用秒表测出重锤下落的时间.

答案:AE

★★★15.在”验证机械能守恒定律”的实验中,已知打点计时器所用电源的频率为50Hz,查得当地的重力加速度g=9.80m/s2,测得所用的重物的质量为1.00㎏.实验中得到一条点迹清晰的纸带如图所示,把第一个点记作0,另选连续的4个点A、B、C、D作为测量的点.经测量知道A、B、C、D各点到O点的距离分别为62.99cm、70.18cm、77.76cm、85.73cm.根据以上数据,可知重物由O点运动到C点,重力势能的减少量等于_____J,动能的增加量等于__________J(取三位有效数字).[2]

答案:7.62,7.56

★★★16.如图所示,一根长l的细线,一端固定在顶板上,另一端拴一个质量为m的小球.现使细线偏离竖直方向α=60Δ°角后,从A点处无初速地释放小球.试问:

(1)小球摆到最低点O时的速度多大?

(2)小球摆到左方最高点的高度(相对最低点)多高?

(3)若在悬点正下方处有一钉子,O′P=l/3,不计悬线与钉碰撞时的能量损失,则小球碰钉后向左摆动过程中能达到的最大高度有何变化?[3]

答案:(1)(2)l/2(3)仍与A点等高

★★★17.如图所示,一小球从倾角为30°的固定斜面上的A点水平抛出,初动能为6J,问球落到斜面上的B点时动能有多大?[4]答案:14J

★★★★18.如图所示,通过定滑轮悬拌两个质量为m1、m2的物体(m1>m2),不计绳子质量、绳子与滑轮问的摩擦,在m1向下运动一段距离的过程中,下列说法中正确的是    (    ).[2]

(A)m1势能的减少量等于m2动能的增加量

(B)m1势能的减少量等于m2势能的增加量

(C)m1机械能的减少量等于m2机械能的增加量

(D)m1机械能的减少量大于m2机械能的增加量

答案:C

★★★★19.一物体静止在升降机的地板上,在升降机加速上升的过程中,地板对物体的支持力所做的功等于(    ).(1999年全国高考试题)[2]

(A)物体势能的增加量

(B)物体动能的增加量

(C)物体动能的增加量加上物体势能的增加量

(D)物体动能的增加量加上克服重力所做的功

答案:CD

★★★★20.如图所示,一轻质弹簧竖直放置,下端固定在水平面上,上端处于a位置,当一重球放在弹簧上端静止时,弹簧上端被压缩到b位置.现将重球(视为质点)从高于a位置的c位置沿弹簧中轴线自由下落,弹簧被重球压缩到最低位置d.以下关于重球运动过程的正确说法应是(  ).[3]

(A)重球下落压缩弹簧由a至d的过程中,重球作减速运动

(B)重球下落至b处获得最大速度

(C)由a至d过程中重球克服弹簧弹力做的功等于小球由c下落至d处时重力势能减少量

(D)重球在b位置处具有的动能等于小球由c下落到b处减少的重力势能

答案:BC

★★★★21_如图所示,长度相同的三根轻杆构成一个正三角形支架,在A处固定质量为2m的小球,B处固定质量为m的小球,支架悬挂在O点,可绕过O点并与支架所在平面相垂直的同定轴转动.开始时OB与地面相垂直,放手后支架开始运动,在不计任何阻力的情况下,下列说法中正确的是( ).(2000年上海高考试题)[2.5]

(A)A球到达最低点时速度为零

(B)A球机械能减少量等于B球机械能增加量

(C)B球向左摆动所能达到的最高位置应高于A球开始运动时的高度

(D)当支架从左向右返回摆动时,A球一定能回到起始高度

答案:BCD

★★★★22.如图所示,一个粗细均匀的U形管内装有同种液体,在管口右端盖板A密闭,两液面的高度差为h,U形管内液柱的总长度为4h.现拿去盖板,液体开始运动,当两液面高度相等时,右侧液面下降的速度为(   ).[3]

(A)      (B)       (C)       (D)

答案:D

★★★★23.如图所示,粗细均匀、全长为h的铁链,对称地挂在轻小光滑的定滑轮上.受到微小扰动后,铁链从静止开始运动,当铁链脱离滑轮的瞬间,其速度大小为(   ).[3]

(A)     (B)       (C)      (D)

答案:C

★★★★24.长l的线的一端系住质量为,的小球,另一端固定,使小球在竖直平面内以绳的固定点为圆心恰能作完整的圆周运动,卜列说法中正确的是(       ).[3]

(A)小球、地球组成的系统机械能守恒

(B)小球作匀速圆周运动

(C)小球对绳拉力的最大值与最小值相差6mg

(D)以最低点为参考平面,小球机械能的最小值为2mgl

答案:AC

★★★★25.质量m=5㎏的小球系于弹簧的一端,套在光滑竖直圆环上,弹簧的另一端固定在环上的A点,环半径R=0.5m,弹簧原长l0=R=0.5m.当球从图中位置C滑至最低点B时,测得vA=3m/s,则在B点时弹簧的弹性势能EP=____J.[3]

答案:15

★★★★★26.如图所示,小球质量为m,用长为l的细绳悬挂在一枚细钉上,用一大小为F的水平恒力拉球,至细绳偏转角度为θ(θ<90°)时撤去F,如在运动中绳子始终处于伸直状态.求:(1)小球能上升的最大高度.(2)小球又回到最低点时,细绳上张力的大小.[4]

答案:(1)当时,;当试题详情

水平预测

(60分钟)

双基型

★1.下列有关曲线运动的说法中正确的是(    ).

(A)物体的运动方向不断改变

(B)物体运动速度的大小不断改变

(C)物体运动的加速度大小不断改变

(D)物体运动的加速度方向不断改变

答案:A

★2,关于互成角度的两个初速度不为零的匀加速直线运动的合成结果,下列说法中正确的是(    ).,

(A)一定是直线运动            (B)一定是曲线运动

(C)可能是直线运动,也可能是曲线运动   (D)以上说法都不对

答案:C

纵向型

★★★3.如图所示,A、B、C三个物体放在旋转圆台上相对静止,它们跟圆台间的最大静摩擦力均等于各自重力的k倍.A的质量为2m,B和C的质量均为m,A、B离轴的距离为R,C离轴的距离为2R,则当圆台旋转时(   ).

(A)B所受的摩擦力最小

(B)圆台转速增大时,C比B先滑动

(C)当圆台转速增大时,B比A先滑动

(D)C的向心加速度最大

答案:ABD

★★★4.地球绕太阳公转的周期为T1,轨道半径为R1,月球绕地球公转的周期为T2,轨道半径为R2,则太阳的质量是地球质量的______倍.

答案:

★★★5.如图所示,实线为某质点平抛轨迹的一部分,测得AB、BC间水平距离△s1=△s2=0.4m,高度差△h1=

0.25m,△h2=0.35m,问:

(1)质点平抛的初速度v0为多大?

(2)抛出点到A点的水平距离和竖直距离各为多少?

答案:(1)4m/s(2)水平距离0.8m,竖直距离0.2(提示:△h2-△h1=gT2,△s2=△s1=v0T,,,)

横向型

★★★★6.如图所示,光滑的水平面上钉两个相距40cm的钉子A和B,长1m的细线一端系着质量为0.4kg的小球,另一端固定在钉子A上.开始时,小球和A、B在同一直线上,小球始终以2m/s的速率在水平面上作匀速圆周运动.

若细线能承受的最大拉力是4N,则从开始到细绳断开所经历的时间是多长?

答案:0.8π(s)(线在小球运动了两个半周时断掉)

★★★★★7.飞船沿半径为R的圆周绕地球运转,周期为T,如图所示.如果飞船要返回地面,可在轨道上某一点A处将速率降低到适当数值,从而使飞船沿着以地心为焦点的椭圆轨道运行,椭圆与地球表面在B点相切.已知地球半径为r,则飞船由A点运动到B点所需的时间t=______.

答案:(提示:运用开普勒第一定律)

★★★★★8.宇宙飞行器和小行星都绕太阳在同一平面内作圆周运动,飞行器的质量比小行星的质量小得多,飞行器的速率为v0,小行星的轨道半径为飞行器的轨道半径的6倍,有人企图借助小行星与飞行器的碰撞使飞行器飞出太阳系,于是他便设计了如下方案:Ⅰ.当飞行器在其圆周轨道的适当位置时,突然点燃飞行器上的喷气发动机,使飞行器获得所需速度,沿圆周轨道的切线方向离开轨道.Ⅱ.飞行器到达小行星的轨道时正好位于小行星的前缘,速度的方向与小行星在该处的速度方向相同,正好可被小行星碰撞.Ⅲ.小行星与飞行器的碰撞是弹性正碰,不计燃烧的燃料质量.(1)通过计算证明按上述方案能使飞行器飞出太阳系.(2)设在上述方案中,飞行器从发动机获得的能量为E1,如果不采取上述方案而是令飞行器在圆轨道上突然点燃发动机,经过极短时间后立即关闭发动机,于是飞行器获得足够的速度沿圆轨道切线方向离开轨道后直接飞出太阳系,采

用这种方法时,飞行器从发动机获取的能量的最小值用E2表示,问为多少?(第十七届全国中学生物理竞赛复赛试题)

答案:(1)略(2)0.71(提示:设通过方案I使飞行器的速度由v0变成u0,飞行器到达小行星轨道时的速度为u,根据开普勒第二定律、能量守恒关系以及万有引力定律和牛顿第二定律,可以用v0表示u0和u;再设小行星运行速度为V,运用万有引力提供向心力,可用v0,表示V;再根据碰撞规律用v0表示出飞行器与小行星碰后的速度u1;再根据能量守恒算出飞行器从小行星的轨道上飞出太阳系应具有的最小速度u2;最终得u2<u1)

阶梯训练

曲线运动运动的合成与分解

双基训练

★1.画出图中沿曲线ABCDE运动的物体在A、B、C、D、E各点的速度方向.[1]

答案:略

★★2.关于曲线运动,下列说法中正确的是(   ).[0.5]

(A)物体作曲线运动时,它的速度可能保持不变

(B)物体只有受到一个方向不断改变的力的作用,才可能作曲线运动

(C)所有作曲线运动的物体,所受合外力方向与速度方向肯定不在一条直线上

(D)所有作曲线运动的物体,加速度方向与所受合外力方向始终一致

答案:CD

★★3,炮筒与水平方向成60°角,炮弹从炮口射出时的速度是800m/s.该速度在竖直方向的分速度为______m/s,在水平方向的分速度是______m/s.[1]

答案:693,400

纵向应用

★★4.如图所示,一个物体在O点以初速度v开始作曲线运动,已知物体只受到沿x轴方向的恒力F作用,则物体速度大小变化情况是(    )[0.5]

(A)先减小后增大   (B)先增大后减小

(C)不断增大     (D)不断减小

答案:A

★★★5.如图所示,两根细直硬杆a、b分别沿与各自垂直的方向以v1、v2的速率运动,并保持两杆始终垂直.此时两杆交点O的运动速度大小v=______.[1]

答案:

★★★6.降落伞在下落一定时间以后的运动是匀速的.设无风时某跳伞员着地的速度是5.0m/s.现有正东风,风速大小是4.0m/s,跳伞员将以多大的速度着地?这个速度的方向怎样?[1.5]

答案:,与竖直方向偏西成arctan0.8

横向拓展

★★★★7.小船在静水中的航行速度为v1,若小船在水流速度为v2的小河中渡河,已知河的宽度为d,求船到达对岸所需的最短时间和通过的最小位移.[4]

答案:.若

★★★★★8.如图所示,长为L的轻细直杆一端可绕水平地面上的O点在竖直平面内转动,另一端固定一质量为M的小球,杆一直靠在正方体箱子的左上角边上,箱子的质量为m,边长为,杆与水平方向的夹角为θ.现将杆由θ=45°角的位置由静止释放,不计一切摩擦,当杆与水平方向的夹角θ=30.时,小球的运动速率v=______.[6]

答案:

★★★★★9.如图所示,顶杆AB可在竖直滑槽K内滑动,其下端由凹轮M推动,凸轮绕O轴以匀角速度ω转动.在图示的瞬时,OA=r,凸轮轮缘与A接触,法线n与OA之间的夹角为α,试求此瞬时顶杆AB的速度.(第十一届全国中学生物理竞赛预赛试题)[5]

答案:ωrtanα

★★★★★10.如图所示,两条位于同一竖直平面内的水平轨道相距为h,轨道上有两个物体A和B,它们通过一根绕过定滑轮O的不可伸长的轻绳相连接,物体A在下面的轨道上以匀速率v运动,在轨道间的绳子与过道成30°角的瞬间,绳子BO段的中点处有一与绳子相对静止的小水滴P与绳子分离,设绳子长BO远大于滑轮直径,求:(1)小水滴P脱离绳子时速度的大小和方向.(2)小水滴P离开绳子落到下面轨道所需要的时间.(第十五届全国中学生物理竞赛复赛试题)[10]

答案:(1)(2)

平抛运动

双基训练

★1.关于平抛运动,下列说法中正确的是(    ).[0.5]

(A)平抛运动是匀速运动

(B)平抛运动是匀变速曲线运动

(C)平抛运动不是匀变速运动

(D)作平抛运动的物体落地时速度方向一定是竖直向下的

答案:B

★2.作平抛运动的物体,在水平方向通过的最大距离取决于(    ).[0.5]

(A)物体所受的重力和抛出点的高度   (B)物体所受的重力和初速度

(C)物体的初速度和抛出点的高度    (D)物体所受的重力、高度和初速度

答案:C

纵向应用

★★★3.高空匀速水平飞行的轰炸机,每隔2s放下一颗炸弹.若不计空气阻力,下列说法中正确的是(    ).[1]

(A)这些炸弹落地前均在同一条竖直线上

(B)空中两相邻炸弹间距离保持不变

(C)这些炸弹落地时速度的大小及方向均相等

(D)这些炸弹都落在水平地面的同一点

答案:AC

★★★4.物体以v0的速度水平抛出,当其竖直分位移与水平分位移大小相等时,下列说法中正确的是(    ).[1.5]

(A)竖直分速度与水平分速度大小相等

(B)瞬时速度的大小为

(C)运动时间为

(D)运动位移的大小为

答案:BCD

★★★5.甲、乙两球位于同一竖直直线上的不同位置,甲比乙高h,将甲、乙两球分别以大小为v1和v2的初速度沿同一水平方向抛出,不计空气阻力,下列条件中有可能使乙球击中甲球的是(    ).[1.5]

(A)同时抛出,且v1<v2     (B)甲迟抛出,且v1<v2

(C)甲早抛出,且v1>v2        (D)甲早抛出,且v1<v2

答案:D

横向拓展

★★★6.如图所示,在离地高为h、离竖直光滑墙的水平距离为s1处有一小球以v0的速度向墙水平抛出,与墙碰后落地,不考虑碰撞的时间及能量损失,则落地点到墙的距离s2为多大?[4]

答案:

★★★★7.如图所示,从倾角为θ的斜坡顶端以初速度v0水平抛出一小球,不计空气阻力,设斜坡足够长,则小球抛山后离开斜坡的最大距离H是多少?[5]

答案:

★★★★8.甲从高H处以速度v1水平抛出小球A,乙同时从地面以初速度v2竖直上抛小球B,在B尚未到达最高点之前,两球在空中相遇,则(   ).[2]

(A)两球相遇时间      (B)抛出前两球的水平距离

(C)相遇时A球速率    (D)若,则两球相遇在

答案:BD

★★★★9.如图所示,光滑斜面长为b,宽为a,倾角为θ,一物块沿斜面左上方顶点P水平射出,恰从右下方顶点Q离开斜面,问入射初速度v0,应多大?[4]

答案:

★★★★10.如图所示,一颗子弹从水平管中射出,立即由a点射入一个圆筒,b点和a点同处于圆筒的一条直径上,已知圆筒半径为R,且圆筒以速度v向下作匀速直线运动.设子弹穿过圆筒时对子弹的作用可忽略,且圆筒足够长,OO′为圆筒轴线,问:(1)子弹射入速度为多大时,它由b点上方穿出?(2)子弹射入速度为多大时,它由b点下方穿出?[4.5]

答案:(1)(2)

★★★★★11.如图所示,从离地面的高度为h的固定点A,将甲球以速度v0抛出,抛射角为α,,若在A点前力‘适当的地方放一质量非常大的平板OG,让甲球与平板作完全弹性碰撞,并使碰撞点与A点等高,则当平板倾角θ为恰当值时,甲球恰好能回到A点.另有一小球乙,在甲球自A点抛出的同时,从A点自由落下,与地面作完全弹性碰撞.试讨论v0、α、θ应满足怎样的一些条件,才能使乙球与地面碰撞一次后与甲球同时回到A点.(第十三届全国中学生物理竞赛预赛试题)[15]

答案:A球沿原路径返回:;A球沿另一路经返回:

匀速圆周运动

双基训练

★1.对于匀速圆周运动的物体,下列说法中错误的是(   ).[0.5]

(A)线速度不变    (B)角速度不变

(C)周期不变     (D)转速不变

答案:A

★2.关于向心加速度的物理意义,下列说法中正确的是(    ).[0.5]

(A)它描述的是线速度方向变化的快慢

(B)它描述的是线速度大小变化的快慢

(C)它描述的是向心力变化的快慢

(D)它描述的是角速度变化的快慢

答案:A

★★3.如图所示,甲、乙两球作匀速圆周运动,向心加速度随半径变化.由图像可以知道(    ).[1]

(A)甲球运动时,线速度大小保持不变

(B)甲球运动时,角速度大小保持不变

(C)乙球运动时,线速度大小保持不变

(D)乙球运动时,角速度大小保持不变

答案:AD

★★4.如图所示,小物体A与圆柱保持相对静止,跟着圆盘一起作匀速圆周运动,则A受力情况是受(    ).[0.5]

(A)重力、支持力

(B)重力、向心力

(C)重力、支持力和指向圆心的摩擦力

(D)重力、支持力、向心力和摩擦力

答案:C

纵向应用

★★★5.质量为m的小球,用长为l的线悬挂在O点,在O点正下方处有一光滑的钉子O′,把小球拉到与O′在同一水平面的位置,摆线被钉子拦住,如图所示.将小球从静止释放.当球第一次通过最低点P时,(   ).[1]

(A)小球速率突然减小

(B)小球加速度突然减小

(C)小球的向心加速度突然减小

(D)摆线上的张力突然减小

答案:BCD

★★★6.一轻杆一端固定质量为m的小球,以另一端O为圆心,使小球在竖直平面内作半径为R的圆周运动,如图所示,则(   ).p.32[1]

(A)小球过最高点时,杆所受弹力可以为零

(B)小球过最高点时的最小速度是

(C)小球过最高点时,杆对球的作用力可以与球所受重力方向相反,此时重力一定大于杆对球的作用力

(D)小球过最高点时,杆对球的作用力一定跟小球所受重力的方向相反

答案:AC

★★★7.质量为m的小球在竖直平面内的圆形轨道的内侧运动,经过最高点而不脱离轨道的最小速度是v,则当小球以2v的速度经过最高点时,对轨道压力的大小是(   ).[1]

(A)0     (B)mg    (C)3mg   (D)5mg

答案:C

★★★8.火车轨道在转弯处外轨高于内轨,其高度差由转弯半径与火车速度确定.若在某转弯处规定行驶的速度为v,则下列说法中正确的是(    ).[1.5]

①当火车以v的速度通过此弯路时,火车所受重力与轨道面支持力的合力提供向心力

②当火车以v的速度通过此弯路时,火车所受重力、轨道面支持力和外轨对轮缘弹力的合力提供向心力

③当火车速度大于v时,轮缘挤压外轨

④当火车速度小于v时,轮缘挤压外轨

(A)①③   (B)①④   (C)②③   (D)②④

答案:A

★★★9.如图所示,两个质量不同的小球用长度不等的细线拴在同一点,并在同一水平面内作匀速圆周运动,则它们的(     ).[2]

(A)运动周期相同     (B)运动线速度一样

(C)运动角速度相同    (D)向心加速度相同

答案:AC

★★★10.如图所示,一个大轮通过皮带拉着小轮转动,皮带和两轮之间无滑动,大轮的半径是小轮的2倍,大轮上的一点s离转动轴的距离是半径的5,20,当大轮边缘上P点的向心加速度是10m/s2时,大轮上的S点和小轮上的Q点的向心加速度为aS=______m/s2,aQ=______m/s2[1.5]

答案:5,20

★★★11.如图所示,半径为r的圆筒绕竖直中心轴OO′转动,小物块A靠在圆筒的内壁上,它与圆筒的静摩擦因数为μ,现要使A不下落,则圆筒转动的角速度ω至少应为______.[1]

答案:

★★★12.如图所示,在半径为R的半圆形碗的光滑表面上,一质量为m的小球以角速度ω在水平面内作匀速圆周运动,该平面离碗底的距离h=______.[1.5]

答案:

★★★13.一个圆盘边缘系一根细绳,绳的下端拴着一个质量为m的小球,圆盘的半径是r,绳长为l,圆盘匀速转动时小球随着一起转动,并且细绳与竖直方向成θ角,如图所示,则圆盘的转速是______.[1]

答案:

★★★14.甲、乙两个质点都作匀速圆周运动,甲的质量是乙的2倍,甲的速率是乙的4倍,甲的圆周半径是乙的2倍,则甲的向心力是乙的______倍.[1]

答案:16

★★★15.如图所示,一圆环,其圆心为O,若以它的直径AB为轴作匀速转动,则:(1)圆环上P、Q两点的线速度大小之比是______.(2)若圆环的半径是20cm,绕AB轴转动的周期是0.01s,环上Q点的向心加速度大小是______m/s2.[2]

答案:(1)(2)

★★★16.如图所示,质量为m的小球用长为L的细绳悬于光滑斜面上的O点,小球在这个倾角为θ的斜面内作圆周运动,若小球在最高点和最低点的速率分别为v1和v2,则绳在这两个位置时的张力大小分别是多大?[2]

答案:

★★★17.如图所示,长为l的绳子下端连着质量为m的小球,上端悬于天花板上,把绳子拉直,绳子与竖直线夹角为60°,此时小球静止于光滑的水平桌面上.问:

(1)当球以作圆锥摆运动时,绳子张力T为多

大?桌面受到压力N为多大?

(2)当球以作圆锥摆运动时,绳子张力及桌面受到压力各为多大?[5]

答案:(1)(2)T=4mg,N=0

横向拓展

★★★★18.如图所示,M、N是两个共轴的圆筒,外筒半径为R,内筒半径比R小很多,可以忽略不计,筒的两端是封闭的,两筒之间抽成真空,两筒以相同的角速度ω绕其中心轴线(图中垂直于纸面)作匀速转动.设从M筒内部可以通过平行于轴线的窄缝S,不断地向外射出两种不同速率v1和v2的微粒.微粒从S处射出时的初速度的方向沿筒的半径方向,微粒到达N筒后就附着在N筒上,如果R、v1和v2都不变,而ω取某一合适的值,则(   ).[2]

(A)有可能使微粒落在N筒上的位置都在a处一条与S缝平行的窄条上

(B)有可能使微粒落在N筒上的位置都在某处如b处一条与S缝平行的窄条上

(C)有可能使微粒落在N筒上的位置分别在某两处如b和c处与S缝平行的窄条上

(D)只要时间足够长,N筒上将到处落有微粒

答案:ABC

★★★★19.如图所示,一圆盘可以绕其竖直轴在水平面内运动,圆柱半径为R,甲、乙两物体的质量分别为M和m(M>m),它们与圆盘之间的最大静摩擦力均为正压力的μ倍,两物体用长为L的轻绳连在一起,L<R.若将甲物体放在转轴位置上,甲、乙连线正好沿半径方向拉直,要使两物体与圆盘不发生相对滑动,则圆盘旋转的角速度最大不得超过(两物体看作质点)(     ).[3]

(A)(B)(C)(D)

答案:D

★★★★20.如图所示,小球由细线AB、AC拉住静止,AB保持水平,AC与竖直方向成α角,此时AC对球的拉力为T1.现将AB线烧断,小球开始摆动,当小球返同原处时,AC对小球拉力为T2,则T1与T2之比为(   ).[2]

(A)1:1    (B)1:cos2α    (C)cos2α:1    (D)sin2α:cos2α

答案:B

★★★★21.如图所示,质点P以O为圆心、r为半径作匀速圆周运动,周期为了T,当质点P经过图中位置A时,另一质量为m、初速度为零的质点Q受到沿OA方向的拉力F作用从静止开始在光滑水平面上作直线运动,为使P、Q在某时刻速度相同,拉力F必须满足条件______.[3]

答案:   (n=0,1,2,3,···)

★★★★22.劲度系数为k=103N/m的轻弹簧长l=0.2m,一端固定在光滑水平转台的转动轴上,另一端系一个质量为m=2kg的物体.当转台匀速转动时,物体也随台一起转动,当转台以转速n=180r/min转动时,弹簧伸长了______m.[2]

答案:0.49

★★★★23.质量为m的小球用绳子系住在竖直平面内作圆周运动,则小球运动到最低点和最高点时绳子所受拉力大小之差为______.[2]

答案:6mg

★★★★24.如图所示,直径为d的纸筒以角速度ω绕轴O匀速转动,从枪口发射的子弹沿直径穿过圆筒.若子弹在圆筒旋转不到半周时在圆筒上留下a、b两个弹孔,已知aO和b0夹角为φ,则子弹的速度大小为______.[1.5]

答案:

★★★★25.如图所示,在水平转台的光滑水平横杆上穿有两个质量分别为2m和m的小球A和B,A、B间用劲度系数为k的轻质弹簧连接,弹簧的自然长度为L,当转台以角速度ω绕竖直轴匀速转动时,如果A、B仍能相对横杆静止而不碰左右两壁,求:

(1)A、B两球分别离开中心转轴的距离.

(2)若转台的直径也为L,求角速度ω的取值范围.[4]

答案:(1)(2)

★★★★26.如图所示,在半径为R的水平圆板中心轴正上方高为h处,水平抛出一小球,圆板作匀速转动.当圆板半径OA与初速度方向一致时开始抛出小球,要使球与圆板只碰一次,且落点为A,则小球的初速度v0应为多大?圆板转动的角速度为多大?[5]

答案:  (n=0,1,2,3,···)

★★★★27.如图所示,A、B两球的质量分别为m1与m2,用一劲度系数为k的弹簧相连,一长为l1的细线与A球相连,置于水平光滑桌面上,细线的另一端拴在竖直轴OO′上.当A球与B球均以角速度ω绕OO′轴作匀速圆周运动时,弹簧长度为l2.问:(1)此时弹簧伸长量多大?绳子张力多大?(2)将线突然烧断瞬间,两球加速度各多大?[5]

答案:

(1)

(2)

★★★★28.如图所示,一根轻质细杆的两端分别固定着A、B两只质量均为m的小球,O点是一光滑水平轴,已知AO=a,BO=2a,使细杆从水平位置由静止开始转动,当B球转到O点正下方时,它对细杆的拉力大小是多大?[4]

答案:

★★★★29.如图所示,细绳一端系着质量M=0.6kg的物体,静止在水平平板上,另一端通过光滑小孔吊着质量m=0.3kg的物体,M的中点与圆孔距离为0.2m,并知M和水平面的最大静摩擦力为2N,现使此平板绕中心轴线转动,问角速度ω在什么范围内,物体会与平板处于相对静止状态(g取10m/s2)?[3]

答案:

★★★★30.如图所示,有一只狐狸以不变的速度v1沿着直线AB逃跑,一猎犬以不变的速率v2追击,其运动方向始终对准狐狸,某时刻狐狸在F处,猎犬在D处,FD⊥AB,且FD=L,试求猎犬此时的加速度大小.[6]

答案:

万有引力  宇宙速度

双基训练

★1.对于万有引力定律的表达式,下列说法中正确的是(    ).[0.5]

(A)公式中G为引力常量,它是由实验测得的,而不是人为规定的

(B)当r趋于零时,万有引力趋于无限大

(C)两物体受到的引力总是大小相等的,而与m1、m2是否相等无关

(D)两物体受到的引力总是大小相等、方向相反,是一对平衡力

答案:AC

★2.以下关于宇宙速度的说法中正确的是(    ).[0.5]

(A)第一宇宙速度是人造地球卫星运行时的最大速度

(B)第一宇宙速度是人造地球卫星运行时的最小速度

(C)人造地球卫星运行时的速度一定小于第二宇宙速度

(D)地球上的物体无论具有多大的速度都不可能脱离太阳的束缚

答案:AC

★3.航天飞机中的物体处于失重状态,是指这个物体(   )[0.5]

(A)不受地球的吸引力

(B)受到地球吸引力和向心力的作用而处于平衡状态

(C)受到向心力和离心力的作用而处于平衡状态

(D)对支持它的物体的压力为零

答案:D

★★4.设想把物体放到地球的中心,则此物体与地球间的万有引力是(    ).[0.5]

(A)零            (B)无穷大

(C)与放在地球表面相同    (D)无法确定

答案:A

★★5.关于同步卫星(它相对于地面静止不动),下列说法中正确的是(    ).[0.5]

(A)它一定在赤道上空

(B)同步卫星的高度和速率是确定的值

(C)它运行的线速度一定小于第一宇宙速度

(D)它运行的线速度一定介于第一宇宙速度和第二宇宙速度之间

ABC

★★6.假如作圆周运动的人造卫星的轨道半径增大到原来的2倍后仍作圆周运动,则(   ).[1]

(A)根据公式v=ωr可知,卫星运动的线速度将增大到原来的2倍

(B)根据公式可知,卫星所需的向心力将减小到原来的

(C)根据公式可知,地球提供的向心力将减小到原来的

(D)根据上述(B)和(C)中给出的公式可知,卫星运动的线速度将减小到原来的

答案:CD

纵向应用

★★★7.若已知某行星绕太阳公转的半径为r,公转周期为T,万有引力常量为G,则由此可求出(     ).[1]

(A)某行星的质量   (B)太阳的质量

(C)某行星的密度   (D)太阳的密度

答案:B

★★★8.一个半径是地球3倍、质量是地球36倍的行星,它表面的重力加速度是地面重力加速度的(   ).[1.5]

(A)4倍   (B)6倍   (C)13.5倍    (D)18倍

答案:A

★★★9.人造地球卫星运行时,其轨道半径为月球轨道半径的,则此卫星运行的周期大约是(   ).p.35[1.5]

(A)1d至4d    (B)4d至8d    (C)8d至16d   (D)大于16d

答案:B

★★★10.两颗人造地球卫星,它们质量的比m1:m2=1:2,它们运行的线速度的比是v1:v2=1:2,那么(    ).[1.5]

(A)它们运行的周期比为8:1    (B)它们运行的轨道半径之比为4:1

(C)它们所受向心力的比为1:32 (D)它们运动的向心加速度的比为1:16

答案:ABCD

★★★11.由于某种原因,人造地球卫星的轨道半径减小了,那么卫星的(     ).[1]

(A)速率变大,周期变小    (B)速率变小,周期变大

(C)速率变大,周期变大    (D)速率变小,周期变小

答案:A

★★★12.一个人造天体飞临某个行星,并进入行星表面的圆轨道,已经测出该天体环绕行星一周所用的时间为T,那么这颗行星的密度是______.[2]

答案:

★★★13.人造卫星离地面的距离等于地球半径R,卫星的绕行速度为v,地面上的重力加速度为g,则该三个量的关系是v=______.[1.5]

答案:

★★★14.地球表面的重力加速度为g,地球半径为R,自转周期为T,求地球的同步卫星离地面的高度.[2]

答案:

★★★15.如图所示,在距一质量为M、半径为R、密度均匀的球体R处有一质量为m的质点,此时球体对质点的万有引力为F1.当从球体中挖去一半径为的球体时,剩下部分对质点的万有引力为F2,求F1:F2.[3]

答案:

★★★16.某行星绕太阳C沿椭圆轨道运行,它的近日点A到太阳的距离为r,远日点B到太阳的距离为R.若行星经过近日点时的速率为vA,则该行星经过远日点B时的速率vB=_____.[1]

答案:

横向拓展

★★★★17.同步卫星离地球球心的距离为r,运行速率为v1,加速度大小为a1,地球赤道上的物体随地球自转的向心加速度大小为a2,第一宇宙速度为v2,地球半径为R,则(   ).[2]

(A)a1:a2=r:R   (B)a1:a2=R2:r2       (C)v1:v2=R2:r2       (D)

答案:AD

★★★★18.如图所示,发射地球同步卫星时,先将卫星发射至近地圆轨道1,然后经点火将卫星送入椭圆轨道2,然后再次点火,将卫星送入同步轨道3.轨道1、2相切于Q点,2、3相切于P点,则当卫星分别在1、2、3轨道上正常运行时,下列说法中正确的是(   ).p.36[1.5]

(A)卫星在轨道3上的速率大于在轨道1上的速率

(B)卫星在轨道3上的角速度大于在轨道1上的角速度

(C)卫星在轨道1上经过Q点时的加速度大于它在轨道2上经过Q点时的加速度

(D)卫星在轨道2上经过P点时的加速度等于它在轨道3上经过P点时的加速度

答案:D

★★★★19.一物体在地球表面重16N,它在以5m/s2的加速度加速上升的火箭中的视重为9N,则此火箭离地球表面的距离为地球半径的多少倍?[3]

答案:3倍

★★★★20.宇航员站在星球表面上某高处,沿水平方向抛出一小球,经过时间t小球落回星球表面,测得抛出点和落地点之间的距离为L.若抛出时的速度增大为原来的2倍,则抛出点到落地点之间的距离为.已知两落地点在同一水平面上,该星球半径为R,求该星球的质量.(1998年全国高考试题)[5]

答案:

★★★★★21.1997年8月26日在日本举行的国际天文学大会上,德国MaxPlanck学会的一个研究小组宣布了他们的研究成果:银河系的中心可能存在一个大黑洞,他们的根据是用口径为3.5m的天文望远镜对猎户座中位于银河系中心附近的星体进行近六年的观测所得的数据.他们发现,距离银河系中心约60亿千米的星体正以2000km/s的速度围绕银河系中心旋转.根据上面的数据,试在经典力学的范围内(见提示②),通过计算确认如果银河系中心确实存在黑洞的话,其最大半径是多少?引力常数G=6.67×10-20km3/(kg·s2)

提示:①黑洞是一种密度极大的天体,其表面的引力是如此之强,以至于包括光在内的所有物质都逃脱不了其引力作用.

②计算中可以采用拉普拉斯经典黑洞模型,在这种模型中,在黑洞表面上的所有物质,即使初速度等于光速c也逃脱不了其引力的作用.(第十六届全国中学生物理竞赛预赛试题)[10]

答案:5.3×105

试题详情

水平预测

(60分钟)

双基型

★1.下列几种运动,运动状态发生变化的是(   ).

(A)汽车沿着有一定倾角的公路(直线)匀速前进

(B)火车沿水平面内的弯曲轨道匀速前进

(C)气球被风刮着沿水平方向向正东匀速飘移

(D)降落伞与伞兵一起斜向下匀速降落

答案:B(提示:只要速度的大小或方向发生变化,我们就认为物体的运动状态发生变化)

★★2.找出右图中至少六对作用力与反作用力.

答案:人拉细绳的力与细绳拉人的力;细绳拉猴子的力与猴子拉细绳的力;细绳拉树的力与树拉细绳的力;细绳拉测力计的力与测力计拉细绳的力;猴子受到地球的引力与猴子对地球的引力;人对地面的压力与地面对人的支持力等)

纵向型

★★3.文艺复兴时代意大利的著名画家和学者达·芬奇曾提出如下原理:如果力F在时间t内使质量为m的物体移动一段距离,那么:(1)相同的力在相同的时间内使质量是一半的物体移动2倍的距离;(2)或者相同的力在一半的时间内使质量是一半的物体移动相同的距离;(3)或者相同的力在2倍的时间内使质量是2倍的物体移动相同的距离;(4)或者一半的力在相同的时间内使质量是一半的物体移动相同的距离;(5)或者一半的力在相同的时间内使质量相同的物体移动一半的距离.在这些原理中正确的是_______.

答案:(1)、(4)、(5)(提示:)

★★★4.同样的力作用在质量为m1的物体上时,产生的加速度是a1;作用在质量是m2的物体上时,产生的加速度是a2.那么,若把这个力作用在质量是(m1+m2)的物体上时,产生的加速度应是(   ).

(A)    (B)   (C)   (D)

答案:C

★★★5.如图所示,物体A放存固定的斜面B上,在A上施加一个竖直向下的恒力F,下列说法中正确的有(   ).

(A)若A原来是静止的,则施加力F后,A仍保持静止

(B)若A原来是静止的,则施加力F后,A将加速下滑

(C)若A原来是加速下滑的,则施加力F后,A的加速度不变

(D)若A原来是加速下滑的,则施加力F后,A的加速度将增大

答案:AD(提示:注意对物体A正确的受力分析,然后根据牛顿第二定律求解)

横向型

★★★6.在地球赤道上的A处静止放置一个小物体,现在设想地球对小物体的万有引力突然消失,则在数小时内,小物体相对于A点处的地面来说(   ).

(A)水平向东飞去       (B)向上并渐偏向东方飞去

(C)向上并渐偏向西方飞去   (D)一直垂直向上飞去

答案:C(提示:地球自转方向由西向东,万有引力突然消失后物体将保持原来的速度切向作匀速直线运动)

★★★7.1966年曾在地球的上空完成了以牛顿第二定律为基础的测定质量的实验.实验时,用双子星号宇宙飞船(质量为m1)去接触正在轨道上运行的火箭组(质量为m2).接触以后,开动飞船尾部的推进器,使飞船和火箭组共同加速,如图所示.推进器的平均推力F等于895N,推进器开动7.0s,测出飞船和火箭组的速度改变是0.91m/s.已知双子星号宇宙飞船的质量m1=3400kg,求火箭组的质量m2.

答案:3485kg(提示:先求出整体加速度,用整体法求出m1和m2的质量和,然后求出m2的质量)

★★★★8.如图所示,倾角为α的传送带,以一定的速度将送料机送来的料--货物,传送到仓库里.送料漏斗出口P距传送带的竖直高度为H.送料管PQ的内壁光滑且有一定的伸缩性(即,在PQ管与竖直夹角θ取不同值时,通过伸缩其长度总能保持其出口Q很贴近传送带).为使被送料能尽快地从漏斗出口P点通过送料直管运送到管的出口Q点,送料直管与竖直方向夹角应取何值,料从P到Q所用时间最短,最短时间是多少?[8]

答案:(提示:方法一:作图法,如图,以P为最高点画一个圆,使它恰与传送带相切,切点为Q,那么PQ就是所求的斜面.因为沿其他斜面下滑到达圆周上的时间都相等,所以到达传送带上的时间必大于从P到Q的时间.因为Q为切点,所以半径OQ与斜面垂直,∠QOC=α,又因为△PQO为等腰三角形,所以当送料直管与竖直方向夹角为时,料从P到Q所用时间最短.方法二:函数法,作P到传送带的垂线,垂线长为h(为定值),垂足为M,设∠MPQ=θ,写出料沿PQ运动所需时间的关系式,然后求最小值,也可得到同样的结论)

★★★★★9.10个相同的扁木块一个紧挨一个地放在水平地面上,如图所示.每块木块的质量m=0.40kg,长l=0.50m.木块原来都静止,它们与地面间的静、动摩擦因数都为μ1=0.10.左边第一块木块的左端点放一块质量M=1.0kg的小铅块,它与木块间的静、动摩擦因数都为μ2=0.20.现突然给铅块一个向右的初速度v0=4.3m/s,使其在木块上滑行,试确定它最后是落在地上还是停在哪一块小块上(设铅块的线度与l相比可忽略).

答案:停在最后一块木块上(提示:先对铅块、木块受力分析,可以发现当铅块滑到倒数上第三块木块上时,木块不会滑动,而当铅块滑到倒数上第二块木块上时,木块开始滑动(此时铅块对木块的摩擦力大于地面对木块的摩擦力).通过计算可以得到铅块滑到倒数上第三块木块末时的速度v1=1.58m/s,铅块滑上第二块小块时,铅块相对木块的加速度计算可得为a1=-2.25m/s2,铅块滑到倒数上第二块木块末时,相对木块的速度v2=0.49m/s.当铅块滑上最后一块木块上时,计算可得铅块相对木块的加速度为a2=-  3.5m/s2,铅块还能在最后一块木块上滑行的距离s计算可得s=0.034m,小于木块的长度,所以铅块最后停在最后一块上)

阶梯训练

牛顿第一定律

双基训练

★1.历史上首先正确认识力和运动的关系,推翻“力是维持物体运动的原因”的物理学家是(    ).[0.5]

(A)阿基米德   (B)牛顿   (C)伽利略    (D)以上三个都不是

答案:C

★2.运动着的物体,若所受的一切力突然同时消失,那么它将(   ).[0.5]

(A)立即停止       (B)先慢下来,然后停止

(C)作变速直线运动    (D)作匀速直线运动

答案:D

★3.一辆汽车分别以6m/s和4m/s的速度运动时,它的惯性大小(   ).[0.5]

(A)一样大        (B)速度为4m/s时大

(C)速度为6m/s时大   (D)无法比较

答案:A

★★4.关于物体的惯性,下列说法中正确的是(    ).[1]

(A)运动速度大的物体不能很快地停下来,是因为物体速度越大,惯性也越大

(B)静止的火车启动时,速度变化慢,是因为静止的物体惯性大的缘故

(C)乒乓球可以被快速抽杀,是因为乒乓球惯性小

(D)在宇宙飞船中的物体不存在惯性

答案:C

★★5.关于运动和力的关系,以下论点正确的是(   ).[2]

(A)物体所受的合外力不为零时,其速度一定增加

(B)物体运动的速度越大,它受到的合外力一定越大

(C)一个物体受到的合外力越大,它的速度变化一定越快

(D)某时刻物体的速度为零,此时刻它受到的合外力一定为零

答案:C

纵向应用

★★6.放在水平地面上的小车,用力推它就运动,不推它就不动.下列说法中正确的是(     ).[2]

(A)用力推小车,小车就动,不推小车,小车就不动.说明力是维持物体运动的原因,力是产生速度的原因

(B)放在地面上的小车原来是静止的,用力推小车,小车运动,小车的速度由零增加到某一数值,说明小车有加速度,因此力是运动状态变化的原因

(C)小车运动起米后,如果是匀速运动的话,小车除了受推力作用外,同时还受到摩擦阻力的作用

(D)小车运动起来后,如果推力变小,推力小于摩擦阻力的话,小车的速度将变小

答案:BCD

★★7.火车在水平的长直轨道上匀速运动,门窗紧密的车厢里有一位旅客向上跳起,结果仍然落在车厢地板上的原处,原因是(    ).[2]

(A)人跳起的瞬间,车厢地板给他一个向前的力,使他与火车一起向前运动

(B)人跳起后,车厢内的空气给他一个向前的力,使他与火车一起向前运动

(C)人在跳起前、跳起后直到落地,沿水平方向人和车始终具有相同的速度

(D)人跳起后,车仍然继续向前运动,所以人落回地板后确实偏后一些,只是离地时间短,落地距离太小,无法察觉而已

答案:C

★★★8.物体运动时,若其加速度大小和方向都不变,则物体(   ).[2]

(A)一定作曲线运动    (B)可能作曲线运动

(C)一定作直线运动    (D)可能作匀速圆周运动

横向拓展

★★★9.如图所示,一个劈形物体M放存固定的粗糙斜面上,其上面呈水平.在其水平面上放一光滑小球m.当劈形物体从静止开始释放后,观察到m和M有相对运动,则小球m在碰到斜面前的运动轨迹是(    ).[2]

(A)沿水平向右的直线   (B)沿斜面向下的直线

(C)竖直向下的直线    (D)无规则的曲线

答案:C

★★★10.航天器正在远离星球的太空中航行,若航天器内的一个宇航员将一个铅球推向另一个宇航员,下列说法中正确的是(   ).[1.5]

(A)铅球碰到宇航员后,宇航员不觉得痛

(B)铅球碰到宇航员后,会对宇航员造成伤害

(C)铅球推出后作匀速直线运动

(D)太空中宇航员拿着铅球不觉得费力

答案:BCD

牛顿第二定律

双基训练

★1.关于牛顿第二定律,正确的说法是(   ).[1]

(A)物体的质量跟外力成正比,跟加速度成反比

(B)加速度的方向一定与合外力的方向一致

(C)物体的加速度跟物体所受的合外力成正比,跟物体的质量成反比

(D)由于加速度跟合外力成正比,整块砖的重力加速度一定是半块砖重力加速度的2倍

答案:BC

★2.课本中实验是用以下什么步骤导出牛顿第二定律的结论的(   ).[1]

(A)同时改变拉力F和小车质量m的大小

(B)只改变拉力F的大小,小车的质最m不变

(C)只改变小车的质量m,拉力F的大小不变

(D)先保持小车质量m不变,研究加速度a与F的关系,再保持F不变,研究a与m的关系,最后导出a与m及F的关系

答案:D

★3.物体静止在光滑的水平桌面上.从某一时刻起用水平恒力F推物体,则在该力刚开始作用的瞬间(     ).[1]

(A)立即产生加速度,但速度仍然为零    (B)立即同时产生加速度和速度

(C)速度和加速度均为零          (D)立即产生速度,但加速度仍然为零

答案:A

★4.合外力使一个质量是0.5kg的物体A以4m/s2的加速度前进,若这个合外力使物体B产生2.5m/s2的加速度,那么物体B的质量是______kg.[1]

答案:0.8

★5.完成下表空格中的内容.[2]

物理量
国际单位
 
 
名称
 
符号
 
名称
 
符号
单位制
 
长度
 

 
基本单位
质量
 
千克
 
 
时间
 

 
 
速度
 
 
 
 
加速度
 
 
 
导出单位

 
 
 
 

答案:

物理量
国际单位
 
 
名称
 
符号
 
名称
 
符号
单位制
 
长度
L

m
基本单位
质量
m
千克
kg
基本单位
时间
t

s
基本单位
速度
v
米/秒
m/s
导出单位
加速度
a
米/秒2
m/s2
导出单位

F

N
导出单位

★★6.在牛顿第二定律公式F=kma中,比例系数k的数值(   ).[2]

(A)在任何情况下都等于1

(B)是由质量m、加速度a利力F三者的大小所决定的

(C)是由质量m、加速度a和力F三者的单位所决定的

(D)在国际单位制中一定等于1

答案:CD

★★7.用2N的水平力拉一个物体沿水平面运动时,物体可获得1m/s2的加速度;用3N的水平力拉物体沿原地面运动,加速度是2m/s2,那么改用4N的水平力拉物体,物体在原地面上运动的加速度是______m/s2,物体在运动中受滑动摩擦力大小为______N.[2]

答案:3,1

纵向应用

★★8.一轻质弹簧上端固定,下端挂一重物体,平衡时弹簧伸长4cm,现将重物体向下拉1cm然后放开,则在刚放开的瞬时,重物体的加速度大小为(    ).[1.5]

(A)2.5m/s2     (B)7.5m/s2     (C)10m/s2      (D)12.5m/s2

答案:A

★★9.力F1单独作用在物体A上时产生的加速度为a1=5m/s2,力F2单独作用在物体A上时产生的加速度为a2=-1m/s2.那么,力F1和F2同时作用在物体A上时产生的加速度a的范围是(     ).[1.5]

(A)0≤a≤6m/s2        B)4m/s2≤a≤5m/s2

(C)4m/s2≤a≤6m/s2        (D)0≤a≤4m/s2

答案:C

★★10.航空母舰上的飞机跑道长度有限.飞机回舰时,机尾有一个钩爪,能钩住舰上的一根弹性钢索,利用弹性钢索的弹力使飞机很快减速.若飞机的质量为M=4.0×103kg,同舰时的速度为v=160m/s,在t=2.0s内速度减为零,弹性钢索对飞机的平均拉力F=______N(飞机与甲板间的摩擦忽略不计).[2]

答案:3.2×105

★★11.某人站在升降机内的台秤上,他从台秤的示数看到自己体重减少20%,则此升降机的运动情况是______,加速度的大小是______m/s.(g取10m/s2).[2]

答案:匀加速下降或匀减速上升,2

★★12.质量为10kg的物体,原来静止在水平面上,当受到水平拉力F后,开始沿直线作匀加速运动,设物体经过时间t位移为s,且s、t的关系为s=2t2,物体所受合外力大小为______N,第4s末的速度是______m/s,4s末撤去拉力F,则物体再经10s停止运动,则F=______N,物体与平面的摩擦因数μ=______(g取10m/s2).[4]

答案:40,16,56,0.16

★★★13.在粗糙的水平面上,物体在水平推力作用下由静止开始作匀加速直线运动,作用一段时间后,将水平推力逐渐减小到零,则在水平推力逐渐减小到零的过程中(    ).[2]

(A)物体速度逐渐减小,加速度逐渐减小

(B)物体速度逐渐增大,加速度逐渐减小

(C)物体速度先增大后减小,加速度先增大后减小

(D)物体速度先增大后减小,加速度先减小后增大

答案:D

★★14.如图所示,物体P置于水平面上,用轻细线跨过质量不计的光滑定滑轮连接一个重力G=10N的重物,物体P向右运动的加速度为a1;若细线下端不挂重物,而用F=10N的力竖直向下拉细线下端,这时物体P的加速度为a2,则(    ).[2]

(A)a1>a2     (B)a1=a2

(C)a1<a2     (D)条件不足,无法判断

答案:C

★★★15.在做“验证牛顿第二定律”的实验时(装置如图所示):[5]

(1)下列说法中正确的是(    ).

(A)平衡运动系统的摩擦力时,应把装砂的小桶通过定滑轮拴在小车上

(B)连接砂桶和小车的轻绳应和长木板保持平行

(C)平衡摩擦力后,长木板的位置不能移动

(D)小车应靠近打点计时器,且应先接通电源再释放小车

答案:BCD

(2)研究在作用力F一定时,小车的加速度a与小车质量M的关系,某位同学设计的实验步骤如下:

(A)用天平称出小车和小桶及内部所装砂子的质量.

(B)按图装好实验器材.

(C)把轻绳系在小车上并绕过定滑轮悬挂砂桶.

(D)将打点计时器接在6V电压的蓄电池上,接通电源,放开小车,打点计时器在纸带上打下一系列点,并在纸带上标明小车质量..

(E)保持小桶及其中砂子的质量不变,增加小车上的砝码个数,并记录每次增加后的M值,重复上述实验.

(F)分析每条纸带,测量并计算出加速度的值.

(G)作a-M关系图像,并由图像确定a、M关系.

①该同学漏掉的重要实验步骤是______,该步骤应排在______步实验之后.

②在上述步骤中,有错误的是______,应把______改为______.③在上述步骤中,处理不恰当的是______,应把______改为______.

答案:1平衡摩擦力,B2D,蓄电池,学生电源G,a-M,

★★★16.利用上题装置做“验证牛顿第二定律”的实验时:[8]

(1)甲同学根据实验数据画出的小车的加速度a和小车所受拉力F的图像为右图所示中的直线Ⅰ,乙同学画出的图像为图中的直线.直线Ⅰ、Ⅱ在纵轴或横轴上的截距较大.明显超出了误差范围,下面给出了关于形成这种情况原因的四种解释,其中可能正确的是(   ).

(A)实验前甲同学没有平衡摩擦力

(B)甲同学在平衡摩擦力时,把长木板的末端抬得过高了

(C)实验前乙同学没有平衡摩擦力

(D)乙同学在平衡摩擦力时,把长木板的末端抬得过高了

(2)在研究小车的加速度a和小车的质量M的关系时,由于始终没有满足M》m(m为砂桶及砂桶中砂的质量)的条件,结果得到的图像应是如下图中的图(   ).

(3)在研究小车的加速度a和拉力F的关系时,由于始终没有满足M》m的关系,结果应是下图中的图(    ).

答案:(1)BC(2)D(3)D

★★★17.物体在水平地面上受到水平推力的作用,在6s内力F的变化和速度v的变化如图所示,则物体的质量为______kg,物体与地面的动摩擦因数为______.[3]

答案:4,0.025

★★★18.如图所示,在固定的光滑水平地面上有质量分别为mA和mB的木块A、B.A、B之间用轻质弹簧相连接,用水平向右的外力F推A,弹簧稳定后,A、B一起向右作匀加速直线运动,加速度为a以向右为正方向.在弹簧稳定后的某时刻,突然将外力F撤去,撤去外力的瞬间,木块A的加速度是aA=______,小块B的加速度是aB=______.[3]

答案:,a

★★★19.长车上载有木箱,木箱与长车接触面间的静摩擦因数为0.25.如长车以v=36km/h的速度行驶,长车至少在多大一段距离内刹车,才能使木箱与长车间无滑动(g取10m/s2)?p.27[3]

答案:20m

★★★20.质量为24kg的气球,以2m/s的速度竖直匀述上升.当升至离地面300m高处时,从气球上落下一个体积很小(与气球体积相比)、质量为4kg的物体.试求物体脱离气球5s后气球距地面的高度(g取10m/s2).[3]

答案:335m

★★★21.质量为20kg的物体若用20N的水平力牵引它,刚好能在水平面上匀速前进.问:若改用50N拉力、沿与水平方向成37°的夹角向斜上方拉它,使物体由静止出发在水平而上前进2.3m,它的速度多大?在前进2.3m时撤去拉力,又经过3s,物体的速度多大(g取10m/s2)?[5]

答案:2.3m/s

★★★22.一质量为2kg的物体放在光滑水平面上,初速度为零.先对物体施加向东的恒力F=8N,历时1s,随即把此力改为向西,大小不变历时1s,接着把此力改为向东,大小不变历时1s……如此反复,只改变力的方向,共历时4s.在这4s内,画出此过程的a-t图和v-t图,并求这4s内物体经过的位移.[5]

答案:a-t图、v-t图,如图.位移为8m

★★★23.如图所示,半径分别为r和R的圆环竖直叠放(相切)于水平面上,一条公共斜弦过两圆切点且分别与两圆相交于a、b两点.在此弦上铺一条光滑轨道,且令一小球从b点以某一初速度沿轨道向上抛出,设小球穿过切点时不受阻挡.若该小球恰好能上升到a点,则该小球从b点运动到a点所用时间为多少?[5]

答案:

★★★24.伽利略的题目:如图所示,试证明,质点从竖直平面内的圆环上的各个点沿弦的方向安装的斜面向滑到最低点D所用的时间都相等,都等于从最高点A自由下落到最低点D所用的时间,假设斜面与质点间无摩擦.[3]

答案:略

横向拓展

★★★25.惯性制导系统已广泛应用于弹道式导弹工程中,这个系统的重要元件之一是加速度计.加速度计的构造原理的示意图如图所示.滑导弹长度方向安装的固定光滑杆上套一质量为m的滑块,滑块两侧分别与劲度系数均为k的弹簧相连,两弹簧的另一端与固定壁相连.滑块原来静止,弹簧处于自然长度.滑块上有指针,可通过标尺测出滑块的位移,然后通过控制系统进行制导.设某段时间内导弹沿水平方向运动,指针向左偏离O点的距离为s,则这段时间内导弹的加速度(    ).(2001年全国高考试题)[3]

(A)方向向左,大小为   (B)方向向右,大小为

(C)方向向左,大小为   (D)方向向右,大小为

答案:D

★★★26.如图所示,均匀板可绕中点O转动,两人站在板上时,板恰能水平静止,AO=2BO.若两人在板上同时开始作初速为零的匀加速运动,板仍保持静止,关于人1和人2的运动方向,加速度的大小,下列判断中正确的是(   ).[2]

(A)相向运动,a1:a2=1:4    (B)相背运动,a1:a2=2:1

(C)相向运动,a1:a2=2:1    (D)相背运动,a1:a2=4:1

答案:BC

★★★★27.在粗糙水平面上放着一箱子,前面的人用与水平方向成仰角θ1的力F1拉箱子,同时,后面的人用与水平方向成俯角θ2的推力F2推箱子,此时箱子的加速度为a.如果撤去推力F2,则箱子的加速度(    ).(1996年全国力学竞赛试题)[4]

(A)一定增大   (B)一定减小

(C)可能不变   (D)不是增大就是减小,不可能不变

答案:C

★★★★28.如图所示,将金属块m用压缩的轻弹簧卡在一矩形的箱中.在箱的上顶板和下底板装有压力传感器,箱可以沿竖直轨道运动,当箱以a=2.0m/s2的加速度竖直向上作匀减速运动时,上顶板的压力传感器显示的压力为6.0N,下底板的压力传感器显示的压力为10.0N(g取10m/s2).(1)若上顶板压力传感器的示数是下底板压力传感器示数的一半,试判断箱的运动情况.(2)要使上顶板压力传感器的示数为零,箱沿竖直方向运动的情况可能是怎样的?[10]

答案:(1)匀速直线运动(2)作向上匀加速或向下匀减速直线运动

牛顿第二定律的应用

双基训练

★★★1.竖直向上飞行的子弹,达到最高点后又返回原处,设整个运动过程中,子弹受到的阻力与速率成正比,则整个运动过程中,加速度的变化是(    ).[2]

(A)始终变小   (B)始终变大

(C)先变大后变小 (D)先变小后变大

答案:A

★★★2.如图所示,质量分别为m1和m2的两个物体中间以轻弹簧相连,并竖直放置.今设法使弹簧为原长(仍竖直),并让它们从高处同时由静止开始自由下落,则下落过程中弹簧形变将是(不计空气阻力)(    ).[2]

(A)若m1>m2,则弹簧将被压缩

(B)若m1<m2,则弹簧将被拉长

(C)只有m1=m2,弹簧才会保持原长

(D)无论m1和m2为何值,弹簧长度均不变

答案:D

★★★3.如图所示,自由下落的小球,从它接触竖直放置的弹簧开始,到弹簧被压缩到最短的过程中,小球的速度和所受外力的合力变化情况是(    ).[2]

(A)合力变小,速度变小

(B)合力变小,速度变大

(C)合力先变小后变大,速度先变大后变小

(D)合力先变大后变小,速度先变小后变大

答案:C

★★★4.如图所示,质量不等的木块A和B的质量分别为m1和m2,置于光滑的水平面上.当水平力F作用于左端A上,两物体一起作匀加速运动时,A、B间作用力大小为F1.当水平力F作用于右端B上,两物体一起作匀加速运动时,A、B间作用力大小为F2,则(    ).[3]

(A)在两次作用过程中,物体的加速度的大小相等

(B)在两次作用过程中,F1+F2<F

(C)在两次作用过程中,F1+F2=F

(D)在两次作用过程中,

答案:ACD

★★5.如图所示.质量为M的框架放在水平地面上,一轻质弹簧上端固定在框架上,下端挂一个质量为m的小球,小球上下振动时,框架始终没有跳起,当框架对地面的压力为零的瞬间,小球加速度的大小为(    ).[2]

(A)g     (B)    (C)0     (D)

答案:D

★★★6.如图所示,五块完全相同的木块并排放在水平地面上,它们与地面间的摩擦不计.当用力F推1使它们共同加速运动时,第2块木块对第3块木块的推力为______.[2]

答案:

纵向应用

★★★7.如图所示,一轻绳绕过轻滑轮,绳的一端挂一个质量为60kg的物体,另一端有一个质量也为60kg的人拉住绳子站在地上,现人由静止开始沿绳子向上爬,在人向上爬的过程中(   ).[2]

(A)物体和人的高度差不变

(B)物体和人的高度差减小

(C)物体始终静止不动

(D)人加速、匀速爬时物体和人的高度差变化情况不同

答案:A

★★★8.如图所示,车厢里悬挂着两个质量不同的小球,上面的球比下面的球质量大,当车厢向右作匀加速运动(空气阻力不计)时,下列各图中正确的是(     ).p.24[2]

答案:B

★★★9.如图所示,固定在小车上的支架的斜杆与竖直杆的夹角为θ,在斜杆下端固定有质量为m的小球,下列关于杆对球的作用力F的判断中,正确的是(    ).[3]

(A)小车静止时,F=mgcosθ方向沿斜杆向上

(B)小车静止时,F=mgcosθ方向垂直斜杆向上

(C)小车向右以加速度a运动时,

(D)小车向左以加速度a运动时,,方向斜向左上方,与竖直方向的夹角为

答案:D

★★★10.如图所示,两上下底面平行的滑块重叠在一起,置于固定的、倾角为θ的斜面上,滑块A、B的质量分别为M、m,A与斜面间的动摩擦因数为μ1,B与A之间的动摩擦因数为μ2.已知两滑块都从静止开始以相同的加速度从斜面滑下,滑块上B受到的摩擦力(    ).[3]

(A)等于零        (B)方向沿斜面向上

(C)大小等于μ1mgcosθ (D)大小等于μ2mgcosθ

答案:BC

★★★11.如图所示,在光滑水平而上有一质量为M的斜劈,其斜面倾角为α,一质量为m的物体放在其光滑斜面上,现用一水平力F推斜劈,恰使物体m与斜劈间无相对滑动,则斜劈对物块m的弹力大小为(     ).[4]

(A)mgcosα(B)

(C)(D)

答案:BD

★★★12.如图所示,一轻绳通过一光滑定滑轮,两端各系一质量为m1和m2的物体,m1放在地面上,当m2的质量发生变化时,m1的加速度a的大小与m2的关系大致如下图所示中的图(     ).[3]

答案:D

★★★13.如图所示,一个轻弹簧,B端固定,另一端C与细绳一端共同拉着一个质量为m的小球,细绳的另一端A也固定,且AC、BC与竖直方向的夹角分别为θ1和θ2,则烧断细绳的瞬间,小球的加速度a1=______,弹簧在C处与小球脱开时小球的加速度a2=_____.[3]

答案:

★★★14.如图所示,斜面倾角为α=30°,斜面上边放一个光滑小球,用与斜面平行的绳把小球系住,使系统以共同的加速度向左作匀加速运动,当绳的拉力恰好为零时,加速度大小为______.若以共同加速度向右作匀加速运动,斜面支持力恰好为零时,加速度的大小为______p.27[5]

答案:

★★★15.如图所示,小车上有一竖直杆,总质量为M,杆上套有一块质量为m的木块,杆与木块间的动摩擦因数为μ,小车静止时木块可沿杆自由滑下.问:必须对小车施加多大的水平力让车在光滑水平面上运动时,木块才能匀速下滑?[5]

答案:

★★★16.为测定木块与斜面之间的动摩擦因数,某同学让木块从斜面上端自静止起作匀加速下滑运动,如图所示.他使用的实验器材仅限于:①倾角固定的斜面(倾角未知),②木块,③秒表,④米尺.实验中应记录的数据是______,计算动摩擦因数的公式是______.为了减小测量的误差,可采用的办法是______.(1997年上海高考试题)[5]

答案:h,d,L,t;;多次测量取平均值的方法

★★★17.如图所示,传送带上表面水平运动,可以把质量m=20kg的行李包沿水平方向送上平板小车的左端.小车的质量M=50kg,原来静止停在光滑的水平面上,行李包与小车平板间的动摩擦因数是0.4,小车长1-5m.如果传送带将行李包以v1=2.8m/s的速度送上小车,问在这种情况下,行李包在小车上相对于平板车滑行的时间是多少?[5]

答案:0.5s

★★★18.风洞实验室中可产生水平方向的、大小可调节的风力.现将一套有小球的细直杆放入风洞实验室.小球孔径略大于细杆直径,如图所示.

(1)当杆在水平方向上同定时,调节风力的大小,使小球在杆上作匀速运动,这时小球所受的风力为小球所受重力的0.5倍.求小球与杆间的动摩擦因数.

(2)保持小球所受风力不变,使杆与水平方向间夹角为37°并固定,则小球从静止出发在细杆上滑下距离s所需时间为多少(sin37°=0.6,cos37°=0.8)?(2000年上海高考试题)[7]

答案:(1)0.5(2)

★★★19.如图所示,质发最为0.2kg的小球A用细绳悬挂于车顶板的O点,当小车在外力作用下沿倾角为30°的斜面向上作匀加速直线运动时,球A的悬线恰好与竖直方向成30°夹角.问:(1)小车沿斜面向上运动的加速度多大?(2)悬线对球A的拉力是多大?g取10m/s2.[6]

答案:(1)10m/s2(2)

纵向应用

★★★20.如图所示是光滑斜面上由静止开始自由下滑的小球的闪光照片,已知闪光频率是每秒10次,图中AB=2.4cm,BC=7.3cm,CD=12.2cm,DE=17.1cm,据此估算斜面的倾角大小.[5]

答案:30°

★★★21.如图所示,在光滑水平面上有一密闭水箱,A、B、C三个小球的密度分别为:ρA,ρB,ρC〈ρ,均用细线系在水箱中开始时,水箱静止,细线竖直.现用力向右突然拉动水箱,则(    ).[3]

(A)细线均竖直

(B)A线左倾,C线右倾,B线竖直

(C)细线均左倾

(D)A线右倾,C线左倾,B线竖直

答案:B

★★★22.在水平地面上有一辆运动的平板小车,车上固定一个盛水的烧杯,烧杯的直径为L,当小车作加速度为a的匀加速运动时,水面呈如图所示,则小车的加速度方向为______,左右液面的高度差h为______.

答案:向右,

★★★★23.蹦床运动是一种新兴的体育运动项目.运动员在一张水平放置的弹性网上上下蹦跳,同时做出各种优美的姿势.将运动员视为质量为50kg的质点,在竖直方向上蹦跳的周期为3s,离弹簧网的最大高度为5m,则运动员与弹簧网接触期间弹簧网对运动员的平均弹力大小为_____N(g取10m/s2).[5]

答案:1500

★★★★24.如图所示,倾角为α=30°的传送带以恒定速率v=2m/s运动,皮带始终是绷紧的,皮带AB长为L=5m,将质量为m=1kg的物体放在A点,经t=2.9s到达B点,求物体和皮带间的摩擦力.[7]

答案:0.8s前7.5N,0.8s后5N

★★★★25.如图所示,物体A、B的质量mA=mB=6kg,三个滑轮质量及摩擦均可忽略不计.物体C与物体A用细绳相连,细绳绕过三个滑轮,试问物体C质量为多少时物体B能够静止不动?[7]

答案:mC≤2kg

★★★★26.如图所示,绳子不可伸长,绳和滑轮的重力不计,摩擦不计.重物A和B的质量分别为m1和m2,求当左边绳上端剪断后,两重物的加速度.[6]

答案:,

★★★★27.如图所示,光滑的圆球恰好放存木块的圆弧槽内,它们的左边接触点为A,槽半径为R,且OA与水平面成α角.球的质量为m,木块的质量为M,M所处的平面是水平的,各种摩擦及绳、滑轮的质量都不计.则释放悬挂物P后,要使球和木块保持相对静止,P物的质量的最大值是多少?[12]

答案:α≤45°时,不论P多大,小球均不会翻出.α>45°时,

★★★★28.如图所示,一条轻绳两端各系着质量为m1和m2的两个物体,通过定滑轮悬挂在车厢顶上,m1>m2,绳与滑轮的摩擦忽略不计.若车以加速度a向右运动,m1仍然与车厢地板相对静止,试问:(1)此时绳上的张力T.(2)m1与地板之间的摩擦因数μ至少要多大?[12]

答案:(1)(2)

★★★★★29.如图所示,小球A、B与C、D分别用轻质杆相连,AC、BD、OE均为细绳,且AC=BD=OE=L,AB=CD=2L,mA=mB=mC=mD=m,试求BD绳断瞬时OE绳内张力.[15]

答案:

★★★★★30.如图所示,A、B两个楔子的质量都是8.0kg,C物体的质量为384kg,C和A、B的接触面与水平面的夹角是45°,水平推力F=2920N.所有摩擦均忽略.求:(1)A和C的加速度.(2)B对C的作用力的大小和方向.[20]

答案:(1)aA=5m/s2,aC=3.54m/s2(2)NBC=2716N方向左上方45°

★★★★★31.如图所示,在以一定加速度a行驶的车厢内,有一长为L、质量为m的棒AB靠在光滑的后壁上,棒与厢底面之间的动摩擦因数为μ0,为了使棒不滑动,棒与竖直平面所成的夹角θ应在什么范围内取值?[20]

答案:

牛顿第三定律及应用

双基训练

★1.如图所示,实验小车在外力的作用下,在水平实验桌上作加速运动,小车受到的力有______.其中小车所受重力的反作用力是______,作用在______上;重力的平衡力是______,作用在______上;小车所受摩擦力的反作用力作用在

______上,方向______;______与桌面受到的压力是一对作用力和反作用力.[2]

答案:重力、弹力、摩擦力、拉力;物体对地球的吸引力;地球;弹力;物体;桌面;水平向右;物体受到的弹力

★★2.人站在地面上,先将两腿弯曲,再用力蹬地,就能跳离地面,人能跳起离开地面的原因是(    ).[1.5]

(A)人对地球的作用力大于地球对人的引力

(B)地面对人的作用力大于人对地面的作用力

(C)地面对人的作用力大于地球对人的引力

(D)人除受地面的弹力外,还受到一个向上的力

答案:C

纵向应用

★★★3.如图所示,物体A放在水平桌面上,被水平细绳拉着处于静止状态,则(   ).[3]

(A)A对桌面的压力和桌面对A的支持力总是平衡的

(B)A对桌面的摩擦力的方向总是水平向右的

(C)绳对A的拉力小于A所受桌面的摩擦力

(D)A受到的重力和桌面对A的支持力是一对作用力与反作用力

答案:B

★★★4.分析下面两段内容,并按要求完成答题.[6]

(1)有人说:“喷气式飞机喷出的气体向后推动空气,空气就向前推动飞机,喷气式飞机正是由于受到了这个推力才能克服阻力向前飞行.”这种说法错在哪里?正确的说法是什么?

(2)如图所示,小鸟说:“我喜欢牛顿第三定律”,分析小鸟飞行与牛顿第三定律的关系.

答案:略

★★★5.如图所示,在光滑的水平面上放着两块长度相等,质量分别为M1和M2的木板,在两木板的左端分别放有一个大小、形状、质量完全相同的物块.开始都处于静止状态,现分别对两物块施加水平恒力F1、F2,当物块与木板分离后,两木板的速度分别为v1和v2.若已知v1>v2,且物块与木板之间的动摩擦因数相同,需要同时满足的条件是(    ).[3]

(A)F1=F2,且M1>M2(B)F1=F2,且M1<M2(C)F1>F2,且M1=M2(D)F1<F2,且M1=M2

答案:BD

★★★6.如图所示,木块m和M叠放在光滑的斜面上,放手后它们以共同的加速度沿斜面加速下滑.斜面的倾角为α,m和M始终保持相对静止,它们的质量也分别以m和M表示.那么m给M的静摩擦力f及m对M的压力N的大小分别为(    ).[4]

(A)f=mgsinαcosα,水平向右,N=mgcos2α

(B)f=mgsinαcosα,水平向左,N=mgcos2α

(C)f=0,N=mgsin2α

(D)f=0,N=mgsin2α

答案:B

★★★7.如图所示,一质量为M=4kg、长为L=3m的木板放在地面上.今施一力F=8N水平向右拉木板,木板以v0=2m/s的速度在地上匀速运动.某一时刻把质量为m=1kg的铁块轻轻放在木板的最右端,不计铁块与木板间的摩擦,且把小铁块视为质点,问小铁块经多长时间将离开木板(g取10m/s2)?[3]

答案:2s

★★★★8.如图所示,质量为M的木板上放着一质量为m的木块,木块与木板间的动摩擦因数为μ1,木板与水平地面间的动摩擦因数为μ2,加在小板上的力F为多大,才能将木板从木块下抽出?[5]

答案:F>(μ12)(M+m)g

横向拓展

★★★★9.摩托车通过质量不可忽略的钢丝绳拖动货物前行,下列说法中正确的是(    ).[3]

(A)摩托车启动过程中,摩托车拉钢绳的力大于钢绳拉货物的力

(B)摩托车平稳(匀速)行驶过程中,摩托车拉钢绳的力等于钢绳拉货物的力

(C)摩托车启动过程中,钢绳拉货物的力大于货物拉钢绳的力

(D)不论摩托车处于怎样的运动状态,都会由于摩托车拉钢绳的力与钢绳拉货物的力是对作用力和反作用力而保持二力等值的关系

答案:AB

★★★★10.如图所示,一密度为ρ0、重力为W1的铁块悬挂于弹簧秤S1上,并全部浸入密度为ρ的液体中,若液体及杯共重W2,全部置于磅秤S2上.(1)铁块平衡时,两秤示数各为多少?(2)若撤去弹簧秤,铁块在该液体中“自由下落”时,磅秤的示数是多少?[8]

答案:(1)S1的示数为,S2的示数为(2)S2的示数为

★★★★11.质量分别为m1和m2的木块重叠后放存光滑的水平面上,如图所示.m1和m2间的动摩擦因数为μ.现给m2施加随时间t增大的力F=kt,式中k是常数,试求m1、m2的加速度a1、a2与时间的关系,并绘出此关系的曲线图.[12]

答案:当t≤t0时,;当t>t0时,,图像如图

★★★★★12.如图所示,倾角为θ的光滑斜面上,一个质量为M、长为L的薄木板被一个受轻质杆约束于光滑轴O的质量为m的重球压住不动.已知重球半径为R,重球球心C到光滑轴O之距离也为L,且轻质杆也沿斜面方向(与斜面平行).现将斜面倾角θ缓缓增加,当增至30°时,薄木板刚好滑动,尔后将斜面倾角突然增至45°且保持不变.试求:

(1)重球与薄木板之间的动摩擦因数ρ.

(2)在斜面倾角为45°情况下,薄木板从重球之下滑出所用的时间t.

(3)在斜面倾角为45°情况下,薄木板从重球之下刚刚滑出时的瞬时速度vt.[20]

答案:(1)(2)(3)

试题详情

水平预测

(60分钟)

双基型

★1.下列关于质点的说法中正确的是(    ).

(A)只要是体积很小的物体都可看作质点

(B)只要是质量很小的物体都可看作质点

(C)质量很大或体积很大的物体都一定不能看作质点

(D)由于所研究的问题不同,同一物体有时可以看作质点,有时不能看作质点

答案:D

★2.一个小球从4m高处落下,被地面弹回,在1m高处被接住,则小球在整个运动过程中(   ).

(A)位移是5m       (B)路程是5m

(C)位移大小为3m     (D)以上均不对

答案:BC

★★3.关于加速度,下列说法正确的是(   ).

(A)加速度的大小与速度的大小无必然联系

(B)加速度的方向与速度的方向可能相同,也可能相反

(C)加速度很大时物体速度可能很小

(D)加速度大的物体速度变化一定很大

答案:ABC

纵向型

★★4.关于自由落体运动,下列说法中正确的是(   ).

(A)它是竖直向下,v0=0,a=g的匀加速直线运动

(B)在开始连续的三个1s内通过的位移之比是1:4:9

(C)在开始连续的三个1s末的速度大小之比是1:2:3

(D)从开始运动起下落4.9m、9.8m、14.7m,所经历的时间之比为

答案:ACD

★★5.物体A、B的s-t图像如图所示,由图可知(   ).

(A)从第3s起,两物体运动方向相同,且vA>vB

(B)两物体由同一位置开始运动,但物体A比B迟3s才开始运动

(C)在5s内物体的位移相同,5s末A、B相遇

(D)5s内A、B的平均速度相等

答案:A

★★★6.在高空自由释放甲物体后,经过时间T,在同一点再以初速v0竖直下抛乙物体.在甲、乙两物体着地之前,关于甲相对于乙的速度,下列说法中正确的是(   ).

(A)越来越大   (B)越来越小   (C)保持不变   (D)要看T和v0的值才能决定速度变大或变小

答案:C(提示:下落过程中甲物与乙物具有相同的加速度g,所以两者的相对速度保持不变)

★★★★7.如图所示,物体从斜面上A点由静止开始下滑,第一次经光滑斜面AB滑到底端时间为t1;第二次经光滑斜面ACD下滑,滑到底端时间为t2,已知AC+CD=AB,在各斜面的等高处物体的速率相等,试判断(     ).

(A)t1>t2     (B)t1=t2     (C)t1<t2     (D)不确定

答案:A(提示:因斜面光滑,可知物体在D点及B点速度大小相等,分别作出它们的v-t图像,根据题意,两图线与t轴围成的面积相等,即可比较两次下滑的时间长短)

横向型

★★★8.在“测定匀变速直线运动加速度”的实验中,得到的记录纸带如下图所示,图中的点为记数点,在每两相邻的记数点间还有4个点没有画出,则小车运动的加速度为(   ).

(A)0.2m/s2     (B)2.0m/s2     (C)20.0m/s2        (D)200.0m/s2

答案:B(提示:利用sn-sn-1=aT2进行求解,T为两点间的运动时间)

★★★★9.甲、乙两车相距s,同时同向运动,乙在前面作加速度为a1、初速度为零的匀加速运动,甲在后面作加速度为a2、初速度为v0的匀加速运动,试讨论两车在运动过程中相遇次数与加速度的关系.

答案:由于,相遇时有:s-s=s,则有:①(1)当a1≤a2时,①式t只有一个正解,则相遇一次.(2)当a1>a2时,若,①式无解,即不相遇.若,①式f只有一个解,即相遇一次.若,①式t有两个正解,即相遇两次

★★★★★10.如图所示,有一个沿水平方向以加速度a作匀加速直线运动的半径为R的半圆柱体,半圆柱面上搁着一个只能沿竖直方向运动的竖直杆.在半圆柱体速度为v时,杆同半圆柱体接触点和柱心的连线与竖直方向的夹角为θ,求这时竖直杆的速度和加速度.

答案:取半圆柱体为参照物,则v、a应为牵连速度和牵连加速度,竖直杆上的P点相对于圆柱体的速度v沿圆柱面上P点的切线方向,因此竖直杆的速度(相对于地面)应为v和v的矢量和,如下图所示,由几何关系可知vp=vtanθ.圆柱体表面上P点的加速度由切向加速度at′与法向加速度an′组成,其中,即,所以P点的对地加速度为at′、an′和a的矢量和,由图可知

阶梯训练

运动学基本概念  变速直线运动

双基训练

★1.如图所示,一个质点沿两个半径为R的半圆弧由A运动到C,规定向右方向为正方向,在此过程中,它的位移大小和路程分别为(   ).[0.5]

(A)4R,2πR     (B)4R,-2πR

(C)-4R,2πR     (D)-4R,-2πR

答案:C

★2.对于作匀速直线运动的物体,下列说法中正确的是(    ).[0.5]

(A)任意2s内的位移一定等于1s内位移的2倍

(B)任意一段时间内的位移大小一定等于它的路程

(C)若两物体运动快慢相同,则两物体在相同时间内通过的路程相等

(D)若两物体运动快慢相同,则两物体在相同时间内发生的位移相等

答案:ABC

★★3.有关瞬时速度、平均速度、平均速率,下列说法中正确的是(   ).[1]

(A)瞬时速度是物体在某一位置或某一时刻的速度

(B)平均速度等于某段时间内物体运动的位移与所用时间的比值

(C)作变速运动的物体,平均速率就是平均速度的大小

(D)作变速运动的物体,平均速度是物体通过的路程与所用时间的比值

答案:AB

★★4.关于打点计时器的使用,下列说法中正确的是(   ).[1]

(A)打点计时器应用低压交流电源,交流电频率为50Hz

(B)纸带必须穿过限位孔,并注意把纸带压在复写纸的上面

(C)要先通电,后释放纸带,纸带通过后立即切断电源

(D)为减小摩擦,每次测量应先将纸带理顺

答案:CD

★★5.某物体沿直线向一个方向运动,先以速度v1运动,发生了位移s,再以速度v2运动,发生了位移s,它在整个过程中的平均速度为______.若先以速度v1运动了时间t,又以速度v2运动了时间3t,则它在整个过程的平均速度为______.[4]

答案:

★★6.一辆汽车在平直公路上作直线运动,先以速度v1行驶了三分之二的路程,接着又以v2=20km/h跑完三分之一的路程,如果汽车在全过程的平均速度v=28km/h,则v1=______km/h.[3]

答案:35

★★7.一质点由位置A向北运动了4m,又转向东运动了3m,到达B点,然后转向南运动了1m,到达C点,在上面的过程中质点运动的路程是多少?运动的位移是多少?位移方向如何?[4]

答案:8m,,东北方向

纵向应用

★★8.甲、乙、丙三架观光电梯,甲中乘客看一高楼在向下运动;乙中乘客看甲在向下运动;丙中乘客看甲、乙都在向上运动.这三架电梯相对地面的运动情况可能是(     ).[1]

(A)甲向下、乙向下、丙向下    (B)甲向下、乙向下、丙向上

(C)甲向上、乙向上、丙向上    (D)甲向上、乙向上、丙向下

答案:CD

★★9.在下面所说的物体运动情况中,不可能出现的是(    ).[1]

(A)物体在某时刻运动速度很大,而加速度为零

(B)物体在某时刻运动速度很小,而加速度很大

(C)运动的物体在某时刻速度为零,而其加速度不为零

(D)作变速直线运动的物体,加速度方向与运动方向相同,当物体加速度减小时,它的速度也减小

答案:D

★★10.两木块自左向右运动,现用高速摄影机在同一底片上多次曝光,记录下木块每次曝光时的位置,如下图所示,连续两次曝光的时间间隔是相等的,由图可知(    ).(2000年上海高考试题)p.14[1]

(A)在时刻t2xkb以及时刻t5两木块速度相同

(B)在时刻t1两木块速度相同

(C)在时刻t3和时刻t4之间某瞬时两木块速度相同

(D)在时刻t4和时刻t5之间某瞬时两木块速度相同

答案:C

★★11.若物体在运动过程中受到的合外力不为零,则(     ).(1994年全国高考试题)[1]

(A)物体的动能不可能总是不变的    (B)物体的动量不可能总是不变的

(C)物体的加速度一定变化       (D)物体的速度方向一定变化

答案:B

★★★12.甲、乙、丙三辆汽车以相同的速度经过某一路标,以后甲车一直作匀速直线运动,乙车先加速后减速运动,丙车先减速后加速运动,它们经过下一路标时的速度又相同,则(    ).[2]

(A)甲车先通过下一个路标

(B)乙车先通过下一个路标

(C)丙车先通过下一个路标

(D)三车同时到达下一个路标

答案:B

★★★13.如图所示为一质点作直线运动的速度-时间图像,下列说法中正确的是(   ).p.11[2]

(A)整个过程中,CD段和DE段的加速度数值最大

(B)整个过程中,BC段的加速度最大

(C)整个过程中,D点所表示的状态,离出发点最远

(D)BC段所表示的运动通过的路程是34m

答案:ACD

★★★14.质点沿半径为R的圆周作匀速圆周运动,其间最大位移等于______,最小位移等于______,经过周期的位移等于______.[2]

答案:2R,0,

横向拓展

★★15.某测量员是利用回声测距离的:他站在两平行峭壁间某一位置鸣枪,经过1.00s第一次听到回声,又经过0.50s再次听到回声.已知声速为340m/s,则两峭壁间的距离为______m.(2001年全国高考试题)[3]

答案:425

★★★16.一架飞机水平匀速地在某同学头顶飞过,当他听到飞机的发动机声从头顶正上方传来时,发现飞机在他前上方约与地面成60°角的方向上,据此可估算出此飞机的速度约为声速的______倍.(2000年上海高考试题)[5]

答案:0.58

★★★17.天文观测表明,几乎所有远处的恒星(或星系)都以各自的速度背离我们而运动,离我们越远的星体,背离我们运动的速度(称为退行速度)越大;也就是说,宇宙在膨胀.不同星体的退行速度v和它们离我们的距离r成正比,即v=Hr,式中H为一常量,已由天文观察测定.为解释上述现象,有人提出一种理论,认为宇宙是从一个大爆炸的火球开始形成的.假设大爆炸后各星体以不同的速度向外匀速运动,并设想我们就位于其中心,则速度大的星体现在离我们越远.这一结果与上述天文观测一致.由上述理论和天文观测结果,可估算宇宙年龄T,其计算式为T______.根据过去观测,哈勃常数H=3×10-2m/s·l.y.,其中l.y.(光年)是光在一la(年)中行进的距离,由此估算宇宙的年龄约为______a.(1999年上海市高考试题)[6]

答案:1/H,1×1010

★★★18.甲、乙两地相距220km,A车用40km/h的速度由甲地向乙地匀速运动,B车用30km/h的速度由乙地向甲地匀速运动.两车同时出发,B车出发后1h,在途中暂停2h后再以原速度继续前进,求两车相遇的时间和地点.[3]

答案:4h,离甲地160km

★★★19.一辆汽车向悬崖匀速驶近时鸣喇叭,经t1=8s后听到来自悬崖的回声;再前进t2.=27s,第二次鸣喇叭,经t3=6s又听到回声.已知声音在空气中的传播速度v0=340m/s,求:(1)汽车第一次鸣喇叭时与悬崖的距离.(2)汽车的速度.[3]

答案:(1)1400m(2)10m/s

★★★20.轮船在河流中逆流而上,下午7时,船员发现轮船上的一橡皮艇已落入水中,船长命令马上掉转船头寻找小艇.经过1h的追寻,终于追上了顺流而下的小艇.如果轮船在整个过程中相对水的速度不变,那么轮船失落小艇的时间是何时?[3]

答案:失落的时间为下午6时

★★★★21.右图是在高速公路上用超声波测速仪测量车速的示意图,测速仪发出并接收超声波脉冲信号.根据发出和接收到的信号间的时间差,测出被测物体的速度.下图中p1、p2是测速仪发出的超声波信号n1、n2分别是p1、p2由汽车反射回来的信号.设测速仪匀速扫描,p1、p2之间的时间间隔△t=1.0s,超声波在空气中传播的速度是v=340m/s,若汽车是匀速运动的,则根据图2-9可知,汽车在接收到p1、p2两个信号之间的时间内前进的距离是______m,汽车的速度是______m/s.(2001年上海高考试题)[8]

答案:17,17.9

★★★★22.一小船在河中逆水划行,经过某桥下时,一草帽落于水中顺流而下,半小时后划船人才发觉,并立即掉头追赶,结果在桥下游8km处追上草帽,求水流速度的大小.设船掉头时间不计,划船速率及水流速率恒定.[5]

答案:8km/h

★★★★23.如图所示,一辆实验小车可沿水平地面(图中纸面)上的长直轨道匀速向右运动.有一台发出细激光束的激光器装在小转台M上,到轨道的距离MN为d=10m,转台匀速转动,使激光束在水平面内扫描,扫描一周的时间为T=60s.光束转动方向如图中箭头所示.当光束与MN的夹角为45°时,光束正好射到小车上.如果再经过△t=2.5s,光束又射到小车上,则小车的速度为多少(结果保留两位有效数字)?(2000年全国高考试题)[8]

答案:v1=1.7m/s,v2=2.9m/s

★★★★★24.如图所示,一个带滑轮的物体放在水平面上,一根轻绳固定在C处,通过滑轮B和D牵引物体,BC水平,以水平恒速v拉绳上自由端时,物体沿水平面前进.问当跨过B的两绳夹角为α时,物体的运动速度为多大?[10]

答案:

匀变速直线运动

双基训练

★1.在匀变速直线运动中,下列说法中正确的是( ).[1]

(A)相同时间内位移的变化相同      (B)相同时间内速度的变化相同

(C)相同时间内加速度的变化相同    (D)相同路程内速度的变化相同.

答案:B

★2.下图是作直线运动物体的速度-时间图像,其中表示物体作匀变速直线运动的是图(   ).[1]

答案:BCD

★★3.由静止开始作匀加速直线运动的火车,在第10s末的速度为2m/s,下列叙述中正确的是(     ).[1]

(A)头10s内通过的路程为10m   (B)每秒速度变化0.2m/s

(C)10s内平均速度为1m/s     (D)第10s内通过2m

答案:ABC

★★4.火车从车站由静止开出作匀加速直线运动,最初1min内行驶540m,则它在最初10s内行驶的距离是(   ).[1]

(A)90m   (B)45m   (C)30m   (D)15m

答案:D

★★5.物体沿一直线运动,在t时间通过的路程为s,在中间位置处的速度为v1,在中间时刻时的速度为v2,则v1和v2的关系为(   ).[2]

(A)当物体作匀加速直线运动时,v1>v2      (B)当物体作匀减速直线运动时,v1>v2

(C)当物体作匀加速直线运动时,v1<v2      (D)当物体作匀减速直线运动时,v1<v2

答案:AB

★★6.质点作匀加速直线运动,初速度是5m/s,加速度是1m/s2,那么在第4秒末的瞬时速度是______m/s,第4秒内的位移是______m.[1]

答案:9,8.5

★★7.物体从光滑的斜面顶端由静止开始匀加速下滑,在最后1s内通过了全部路程的一半,则下滑的总时间为______s.[2]

答案:

★★★8.火车的速度为8m/s,关闭发动机后前进70m时速度减为6m/s.若再经过50s,火车又前进的距离为(    ).[3]

(A)50m   (B)90m   (C)120m     (D)160m

答案:B

★★★9.一个从静止开始作匀加速直线运动的物体,从开始运动起,连续通过三段位移的时间分别是1s、2s、3s,这三段位移的长度之比和这三段位移上的平均速度之比分别是(   ).[3]

(A)1:22:32,1:2:3    (B)1:23:33,1:22:32

(C)1:2:3,1:1:1      (D)1:3:5,1:2:3

答案:B

纵向应用

★★10.一物体作匀变速直线运动,速度图像如图所示,则在前4s内(设向右为正方向)(    ).[1]

(A)物体始终向右运动

(B)物体先向左运动,2s后开始向右运动

(C)前2s物体位于出发点的左方,后2s位于出发点的右方

(D)在t=2s时,物体距出发点最远

答案:BD

★★11.A、B两个物体在同一直线上作匀变速直线运动,它们的速度图像如图所示,则(    ).[2]

(A)A、B两物体运动方向一定相反

(B)头4s内A、B两物体的位移相同

(C)t=4s时,A、B两物体的速度相同

(D)A物体的加速度比B物体的加速度大

答案:C

★★12.一质点作初速度为零的匀加速直线运动,它在第1秒内的位移为2m,那么质点在第10秒内的位移为______m,质点通过第三个5m所用的时间为______s.[2]

答案:38,

★★13.沿平直公路作匀变速直线运动的汽车,通过连续A、B、C三根电线杆之间间隔所用的时间分别是3s和2s,已知相邻两电线杆间距为45m,求汽车的加速度和通过中间电线杆时的速度.[2]

答案:a=3m/s2,vB=19.5m/s

★★★14.如图所示,光滑斜面AE被分成四个相等的部分,一物体由A点从静止释放,下列结论中不正确的是(    ).[4]

(A)物体到达各点的速率

(B)物体到达各点所经历的时间:

(C)物体从A到E的平均速度

(D)物体通过每一部分时,其速度增量

答案:D

★★★15.一物体由静止开始作匀加速运动,它在第n秒内的位移是s,则其加速度大小为(   ).[3]

(A)    (B)     (C)     (D)

答案:A

★★★16.A、B、C三点在同一直线上,一个物体自A点从静止开始作匀加速直线运动,经过B点时的速度为v,到C点时的速度为2v,则AB与BC两段距离大小之比是(    ).[3]

(A)1:4    (B)1:3    (C)1:2    (D)1:1

答案:B

★★★17.一列火车由静止从车站出发作匀加速直线运动.一位观察者站在这列火车第一节车厢的前端,经过2s,第一节车厢全部通过观察者所在位置;全部车厢从他身边通过历时6s.设各节车厢长度相等,且不计车厢间距离,则这列火车共有______节车厢;最后2s内从他身边通过的车厢有_____节;最后一节车厢通过观察者

需要的时间是______s.[4]

答案:9,5,0.34

★★★18.如图所示,物体自O点由静止开始作匀加速直线运动,A、B、C、D为其轨道上的四点,测得AB=2m,BC=3m,CD=4m,且物体通过AB、BC、CD所用的时间相等,求OA间的距离.[3]

答案:

★★★★19.在正常情况下,火车以54km/h的速度匀速开过一个小站.现因需要,必须在这一小站停留,火车将要到达小站时,以-0.5m/s2的加速度作匀减速运动,停留2min后,又以0.3m/s2的加速度出小站,一直到恢复原来的速度.求因列车停靠小站而延误的时间.[5]

答案:△T=160s

横向拓展

★★20.如图所示,有两个光滑固定斜面AB和BC,A和C两点在同一水平面上,斜面BC比斜面AB长,一个滑块自A点以速度vA上滑,到达B点时速度减小为零,紧接着沿BC滑下,设滑块从A点到C点的总时间是tc,那么下列四个图中,正确表示滑块速度大小v随时间t变化规律的是(    ).(1998年上海高考试题)[2]

答案:C

★★21.一辆汽车在十字路口等候绿灯,当绿灯亮时汽车以3m/s2的加速度开始行驶,恰在这时一辆自行车以6m/s的速度匀速驶来,从后边赶过汽车,则汽车在追上自行车之前两车相距最远距离是______m,追上自行车时汽车的速度是______m/s.[3]

答案:6,12

★★22.一打点计时器同定在斜面上某处,一小车拖着穿过打点计时器的纸带从斜面上滑下,如图所示.下图是打出的纸带的一段.已知打点计时器使用的交流电频率为50Hz,利用图220给出的数据可求出小车下滑的加速度a______.

答案:0.40

★★★23.某同学在测定匀变速直线运动的加速度时,得到了几条较为理想的纸带,已知在每条纸带每5个计时点取好一个计数点,两个计数点之间的时间间隔为0.1s,依打点时间顺序编号为0、1、2、3、4、5,由于不小心,纸带被撕断了,如下图所示.请根据给出的A、B、C、D四段纸带回答:

(1)在B、C、D三段纸带中选出从纸带A上撕下的那段应是______.

(2)打A纸带时,物体的加速度大小是m/s2.[3]

答案:(1)B(2)6.6m/s2

★★★24.为了安全,在公路上行驶的汽车之间应保持必要的距离.已知某高速公路的最高限速v=120km/h.假设前方车辆突然停止,后车司机从发现这一情况,经操纵刹车,到汽车开始减速所经历的时间(即反应时间)t=0.50s.刹车时汽车受到的阻力的大小f为汽车重力的0.40倍.该高速公路上汽车间的距离s至少应为多少?g取10m/s2.(1999年全国高考试题)p.17[5]

答案:156m

★★★25.物体在斜面顶端由静止匀加速下滑,最初4s内经过的路程为s1,最后4s内经过的路程为s2,且s2-s1=8m,s1:s2=1:2,求斜面的全长.[6]

答案:18m

★★★26.摩托车以速度v1沿平直公路行驶,突然驾驶员发现正前方离摩托车s处,有一辆汽车正以v2的速度开始减速,且v2<v1,汽车的加速度大小为a2.为了避免发生碰撞,摩托车也同时减速,问其加速度a1,至少需要多大?[5]

答案:

★★★★27.利用打点计时器研究一个约1.4m高的商店卷帘窗的运动.将纸带粘在卷帘底部,纸带通过打点计时器随帘在竖直面内向上运动.打印后的纸带如下图所示,数据如表格所示.纸带中AB、BC、CD……每两点之间的时间间隔为0.10s,根据各间距的长度,可计算出卷帘窗在各间距内的平均速度v平均.可以将v平均近似地作为该间距中间时刻的即时速度v.

(1)请根据所提供的纸带和数据,绘出卷帘窗运动的v-t图像.

(2)AD段的加速度为______m/s2,AK段的平均速度为______m/s.(2001年上海高考试题)[8]

卷帘运动数据

间隔
 
间距
(cm)
AB
5.0
BC
10.0
CD
15.0
DE
20.0
EF
20.0
FG
20.0
GH
20.0
IH
17.0
IJ
8.0
JK
4.0

答案:(1)如图所示(2)1.39

★★★★28.如图所示,甲、乙、丙三辆车行驶在平直公路上,车速分别为6m/s、8m/s、9m/s.当甲、乙、丙三车依次相距5m时,乙车驾驶员发现甲车开始以1m/s2的加速度作减速运动,于是乙也立即作减速运动,丙车驾驶员也同样处理,直到三车都停下来时均未发生撞车事故.问丙车作减速运动的加速度至少应为多大?[8]

答案:1.45m/s2

★★★★29.有一架电梯,启动时匀加速上升,加速度为2m/s2,制动时匀减速上升,加速度为-1m/s2,楼高52m.问:(1)若上升的最大速度为6m/s,电梯升到楼顶的最短时间是多少?(2)如果电梯先加速上升,然后匀速上升,最后减速上升,全程共用时间为16s,上升的最大速度是多少?[8]

答案:(1)13.17(2)4m/s

★★★★30.A、B两站相距s,将其分成n段,汽车无初速由A站出发,分n段向B站作匀加速直线运动,第一段的加速度为a.当汽车到达每一等份的末端时,其加速度增加,求汽车到达B站时的速度.[8]

答案:

★★★★31.如图所示,两等高光滑的斜面AC和A′B′C′固定.已知斜面总长AC=A′B′+B′C′,且θ>θ′.让小球分别从两斜面顶端无初速滑下,到达斜面底部的时间分别为t和t′.若不计在转折处的碰撞损失,则t和t′应当是什么关系?[8]

答案:t>t′

★★★★★32.如图所示的滑轮组,物体1、2分别具有向下的加速度a1和a2,物体3具有向上的加速度a3,求a1、a2、a3之间的关系.

答案:

自由落体和竖直上抛运动

双基训练

★1.甲物体的重力是乙物体的3倍,它们在同一高度同时自由下落,则下列说法中正确的是(    ).[0.5]

(A)甲比乙先着地     (B)甲比乙的加速度大

(C)甲与乙同时着地    (D)甲与乙加速度一样大

答案:CD

★★2.一个自由下落的物体,前3s内下落的距离是第1s内下落距离的(    ).[1]

(A)2倍   (B)3倍   (C)6倍   (D)9倍

答案:D

★★3.关于自由落体运动,下列说法中正确的是(   ).[1]

(A)某段位移内的平均速度等于初速度与末速度和的一半

(B)某段时间内的平均速度等于初速度与末速度和的一半

(C)在任何相等的时间内速度的变化相等

(D)在任何相等的时间内位移的变化相等

答案:ABC

★★4.关于竖直上抛运动,下列说法中正确的是(   ).[1]

(A)上升过程是减速运动,加速度越来越小;下降过程是加速运动

(B)上升时加速度小于下降时加速度

(C)在最高点速度为零,加速度也为零

(D)无论在上升过程、下落过程、最高点,物体的加速度都是g

答案:D

★★5.在下图中,表示物体作竖直上抛运动的是图(    ).[1]

答案:C

★★★6.竖直上抛的物体,在上升阶段的平均速度是20m/s,则从抛出到落回抛出点所需时间为______s,上升的最大高度为______m(g取10m/s2).[2]

答案:8,80

★★★7.一物体作自由落体运动,落地时的速度为30m/s,则它下落高度是______m.它在前2s内的平均速度为______m/s,它在最后1s内下落的高度是______m(g取10m/s2).[2]

答案:45,10,25

★★★8.一小球从楼顶边沿处自由下落,在到达地面前最后1s内通过的位移是楼高的,求楼高.[3]

答案:h=125m

★★★9.长为5m的竖直杆下端在一窗沿上方5m处,让这根杆自由下落,它全部通过窗沿的时间为多少(g取10m/s2)?[2]

答案:

★★★10.一只球自屋檐自由下落,通过窗口所用时间△t=0.2s,窗高2m,问窗顶距屋檐多少米(g取10m/s2)?[2.5]

答案:4.05m

纵向应用

★★11.甲物体从高处自由下落时间t后,乙物体从同一位置自由下落,以甲为参照物,乙物体的运动状态是(甲、乙均未着地)(     ).[1]

(A)相对静止       (B)向上作匀速直线运动

(C)向下作匀速直线运动  (D)向上作匀变速直线运动

答案:B

★★12.从某一高度相隔1s先后释放两个相同的小球甲和乙,不计空气的阻力,它们在空中任一时刻(    ).[1]

(A)甲、乙两球距离始终保持不变,甲、乙两球速度之差保持不变

(B)甲、乙两球距离越来越大,甲、乙两球速度之差也越来越大

(C)甲、乙两球距离越来越大,甲、乙两球速度之差保持不变

(D)甲、乙两球距离越来越小,甲、乙两球速度之差也越来越小

答案:C

★★★13.竖直向上抛出一小球,3s末落回到抛出点,则小球在第2秒内的位移(不计空气阻力)是(    ).[1.5]

(A)10m   (B)0     (C)5m    (D)-1.25m

答案:B

★★★14.将一小球以初速度v从地面竖直上抛后,经4s小球离地面高度为6m.若要使小球抛出后经2s达相同高度,则初速度v0应(g取10m/s2,不计阻力)(     ).[2]

(A)小于v    (B)大于v    (C)等于v    (D)无法确定

答案:A

★★★15.在绳的上、下两端各拴着一小球,一人用手拿住绳上端的小球站在三层楼的阳台上,放手后小球自由下落,两小球落地的时间差为△t.如果人站在四层楼的阳台上,放手让球自由下落,两小球落地的时间差将(空气阻力不计)______(选填“增大”、“减小”或“不变”).[1]

答案:减小

★★★16.一只球从高处自由下落,下落0.5s时,一颗子弹从其正上方向下射击,要使球在下落1.8m时被击中,则子弹发射的初速度为多大?[4]

答案:v0=17.5m/s

★★★17.一石块A从80m高的地方自由下落,同时在地面正对着这石块,用40m/s的速度竖直向上抛出另一石块B,问:(1)石块A相对B是什么性质的运动?(2)经多长时间两石块相遇?(3)相遇时离地面有多高?(g取10m/s2)[3]

答案:(1)均速直线运动(2)t=2s(3)s=60m

★★★★18.从地面竖直上抛一物体,它两次经过A点的时间间隔为tA,两次经过B点的时间间隔为tB,则AB相距______.[3]

答案:

★★★★19.如图所示,A、B两棒各长1m,A吊于高处,B竖直置于地面上,A的下端距地面21m.现让两棒同时开始运动,A自由下落,B以20m/s的初速度竖直上抛,若不计空气阻力,求:(1)两棒的一端开始相遇的高度.(2)两棒的一端相遇到另一端分离所经过的时间(g取10m/s2).[5]

答案:(1)h=16m(2)t=0.1s

★★★★20.子弹从枪口射出速度大小是30m/s,某人每隔1s竖直向上开枪,假定子弹在升降过程中都不相碰,不计空气阻力,试问:(1)空中最多能有几颗子弹?(2)设在t=0时,将第一颗子弹射出,在哪些时刻它和以后射出的子弹在空中相遇而过?(3)这些子弹在距射出处多高的地方依次与第一颗子弹相遇?[8]

答案:(1)6颗子弹(2)(表示第1颗子弹与第2颗子弹在空中相遇的时间)

(3)

横向拓展

★★★21.从匀速上升的直升机上落下一个物体,下列说法中正确的是(    ).[2]

(A)从地面上看,物体作自由落体运动

(B)从飞机上看,物体作竖直上抛运动

(C)物体和飞机之间的距离开始减小,后来增大

(D)物体落地时的速度一定大于匀速上升的飞机的速度

答案:D

★★22.一跳水运动员从离水面10m高的平台上向上跃起,举双臂直体离开台面,此时其重心位于从手到脚全长的中点,跃起后重心升高0.45m到达最高点,落水时身体竖直,手先入水(在此过程中运动员水平方向的运动忽略不计).从离开跳台到手触水,他可用于完成空中动作的时间是______s(计算时,可以把运动员看作全部质量集中在重心的一个质点.g取10m/s2,结果保留两位有效数字).(1999年全国高考试题)p.18[3]

答案:1.7

★★★23.一矿井深125m,在井口每隔一定时间自由下落一个小球,当第11个小球刚从井口下落时,第1个小球恰好到井底,则相邻两小球下落的时间间隔为多大?这时第3个小球与第5个小球相距多少米?p.14[3]

答案:0.5s,35m

★★★24.将一链条自由下垂悬挂在墙上,放开后让链条作自由落体运动.已知链条通过悬点下3.2m处的一点历时0.5s,问链条的长度为多少?[3]

答案:2.75m

★★★★25.利用水滴下落可以测出当地的重力加速度g,调节水龙头,让水一滴一滴地流出,在水龙头的正下方放一盘子,调节盘子的高度,使一个水滴碰到盘子时恰好有另一水滴从水龙头开始下落,而空中还有一个正在下落中的水滴.测出水龙头到盘子间距离为h,再用秒表测时间,以第一个水滴离开水龙头开始计时,到第N个水滴落在盘中,共用时间为t,则重力加速度g=______.p.18[5]

答案:

★★★★26.小球A从距地高h的地方自由下落,同时以速度v0把小球B从地面A的正下方竖直上抛,求A、B两球在空中相遇应当满足的条件.[5]

答案:

★★★★27.在某处以速度2v0竖直上抛出A球后,又以速度v0竖直向上抛出B球,要使两球能在空中相遇,两球抛出的时间间隔△t应满足什么条件(空气阻力不计)?[5]

答案:

★★★★28.小球A从地面以初速度v01=10m/s竖直上抛,同时小球B从一高为h=4m的平台上以初速v02=6m/s竖直上抛.忽略空气阻力,两球同时到达同一高度的时间、地点和速度分别为多少?[6]

答案:t=1s,h=5m,vA=0,vB=-4m/s(符号表示B球运动方向向下)

★★★★29.拧开水龙头水就会流出来,为什么连续的水流柱的直径在下流过程中会变小?设水龙头的开几直径为1cm,安装在离地面75cm高处,若水龙头开口处水的流速为1m/s,那么水流柱落到地面的直径应为多少?[6]

答案:在时间t内,通过任一水流柱截面的水的体积是一定的.因水流柱顶点的水流速小于下面部分的水流速,因此水柱直径上面比下面大.0.5cm

★★★★★30.一弹性小球自5m高处自出下落,掉在地板上,每与地面碰撞一次,速度减小到碰撞前速度的,不计每次碰撞的时间,计算小球从开始下落到停止运动所经过的路程、时间和位移(g取10m/s2).[15]

答案:20.3m,8s,5m,方向向下

试题详情

水平预测

(60分钟)

双基型

★1.下述各力中,根据力的性质命名的有(    ).

(A)重力   (B)拉力   (C)动力   (D)支持力    (E)弹力

答案:AE

★2.关于弹力,下列说法中正确的是(    ).

(A)物体只要相互接触就有弹力作用

(B)弹力产生在直接接触而又发生弹性形变的两物体之间

(C)压力或支持力的方向总是垂直于支持面并指向被压或被支持的物体

(D)弹力的大小与物体受到的重力成正比

答案:BC

★★3.如图所示,物体A在光滑的斜面上沿斜面下滑,则A受到的作用力是(   ).

(A)重力、弹力和下滑力    (B)重力和弹力

(C)重力和下滑力       (D)重力、压力和下滑力

答案:B

纵向型

★★4.有一质量均匀分布的圆形薄板,若将其中央挖掉一个小圆,则薄板的余下部分( ).

(A)重力减小,重心随挖下的小圆板移走了

(B)重力和重心都没改变

(C)重力减小,重心位置没有改变

(D)重力减小,重心不存在了

答案:C

★★5.如图所示,挑水时,水桶上绳子分别为a、b、c三种状况,则绳子在______种情况下容易断.

答案:c

★★★6.如图所示,木块放在粗糙的水平桌面上,外力F1、F2沿水平方向作用在木块上,木块处于静止状态,其中F1=10N,F2=2N.若撤去力F1,则木块受到的摩擦力是(   ).

(A)8N,方向向右     (B)8N,方向向左

(C)2N,方向向右   (D)2N,方向向左

答案:C

★★★7.如图所示,质量均匀分布的长方体,高为a,宽为b,放在倾角可以调节的长木板上,长方体与长木板间的动摩擦因数为μ,使倾角θ从零逐渐增大,当,μ______时,长方体先发生滑动;而当μ______时,则长方体先发生倾倒.

答案:,>  (提示:长方体滑动的条件是重力沿斜面的分力大于最大静摩擦力,而倾倒的条件是重心移到支撑面外)

横向型

★★★8.如图所示,在做“验证力的平行四边形定则”的实验时,用M、N两个测力计通过细线拉橡皮条的结点,使其到达O点,此时α+β=90°,然后保持M的示数不变,而使α角减小,为保持结点位置不变,可采用的办法是(     ).p.4*

(A)减小N的示数同时减小β角   (B)减小N的示数同时增大β角

(C)增大N的示数同时增大β角   (D)增大N的示数同时减小β角

答案:A

★★★★9.如图(A)所示,重G的风筝用绳子固定于地面P点,风的压力垂直作用于风筝表面AB,并支持着风筝使它平衡.若测得绳子拉力为T,绳与地面夹角为α,不计绳所受重力,求风筝与水平面所央的角φ的正切值tanφ及风对风筝的压力.

答案:风筝的受力如图(B)所示,把绳子拉力T和风的压力N沿水平方向和竖直方向进行正交分解,由平衡条件可得Tsinα+G=Ncosφ,Tcosα=Nsinφ,可得,

★★★★★10.如图所示,用两段直径均为d=0.02m,且相互平行的小圆棒A和B水平地支起一根长为L=0.64m、质量均匀分布的木条.设木条与两圆棒之间的静摩擦因数μ0=0.4,动摩擦因数μ=0.2.现使A棒固定不动.并对B棒施以适当外力,使木棒B向左缓慢移动,试讨论分析木条的移动情况,并把它的运动情况表示出来.设木条与圆棒B之间最先开始滑动.(第十四届全国中学生物理竞赛复赛试题)

答案:B向左移动0.16m(木条不动),B与木条一起左移0.08m,B向左移动0.04m(木条不动),B与木条一起左移0.02m,B向左移动0.01m(木条不动),B与木条一起左移0.01m过程结束

*表示该题的解法请参考《举一反三解题经典·高中物理》第4页,该书由上海科技教育出版社出版.

阶梯训练

力的概念和物体受力分析

双基训练

★1.关于产生摩擦力的条件,下列说法中正确的是(    ).[0.5]*

(A)相互压紧的粗糙物体之间总有摩擦力存在

(B)相对运动的物体间一定有滑动摩擦力存在

(C)只有相互挤压和有相对运动的物体之间才有摩擦力的作用

(D)只有相互挤压和发生相对运动或有相对运动趋势的粗糙物体之间才有摩擦力的作用

答案:D

★2.力的作用效果是使物体的______发生改变,或者使物体的______发生改变.[0.5]

答案:运动状态,形状

★3.一个运动员用力F把一个质量为m的铅球向斜上方推出,若不计空气阻力,试画出铅球离开运动员之后斜向上运动时的受力分析图.[4]

答案:略

★★4.作出下列力的图示,并说明该力的施力物体和受力物体.(1)物体受250N的重力.(2)用400N的力竖直向上提物体.(3)水平向左踢足球,用力大小为1000N.[6]

答案:略

纵向应用

★★5.下列关于重力的说法中正确的是(   ).[1]

(A)只有静止在地面上的物体才会受到重力

(B)重力是由于地球的吸引而产生的,它的方向竖直向下

(C)质量大的物体受到的重力一定比质量小的物体受到的重力大

(D)物体对支持面的压力必定等于物体的重力

答案:B

★★6.下列说法中正确的是(    ).[1]

(A)甲用力把乙推倒,说明只是甲对乙有力的作用,乙对甲没有力的作用

(B)只有有生命或有动力的物体才会施力,无生命或无动力的物体只会受到力,不会施力

(C)任何一个物体,一定既是受力物体,也是施力物体

(D)在力的图示法中,线段长短与对应力的大小成正比

答案:CD

方括号中所小数字为完成该题所需的大致时间,单位为分钟.

★★7.一段浅色橡皮管上画有一个深色正方形图案,这段橡皮管竖直放着,并且底端固定不动,如图所示.在橡皮管上施加不同的力使橡皮管发生形变,这样画在管上的图形也跟着发生改变.下面右边给出了形变后橡皮管上的图形,左边列出了橡皮管受力的情况.请用铅笔画线将图形与相应的受力情况连接起来.[1.5]

答案:略

★★★8.在水平力F作用下,重为G的物体匀速沿墙壁下滑,如图所示:若物体与墙壁之间的动摩擦因数为μ,则物体所受的摩擦力的大小为(    ).[2]

(A)μF    (B)μF+G     (C)G    (D)

答案:AC

★★★9.一架梯子斜靠在光滑竖直的墙上,下端放在水平的粗糙地面上,梯子受到(  ).[2.5]

(A)两个竖直的力,一个水平的力    (B)一个竖直的力,两个水平的力

(C)三个竖直的力,两个水平的力    (D)两个竖直的力,两个水平的力

答案:D

★★★10.如图所示,细绳竖直拉紧,小球和光滑斜面接触,则小球受到的力是(    ).[2]

(A)重力、绳的拉力    (B)重力、绳的拉力、斜面的弹力

(C)重力、斜面的弹力   (D)绳的拉力、斜面的弹力

答案:A

★★★11.一根绳子受200N的拉力就会被拉断.如果两人沿反方向同时拉绳,每人用力为_______N时,绳子就会被拉断.如果将绳的一端固定,一个人用力拉绳的另一端,则该人用力为______N时,绳子就会被拉断.[2]

答案:200,200

★★★12.如图所示,小车A上放一木块B,在下列情况下,A、B均相对静止,试分析A对B的摩擦力.(1)小车A在水平面上匀速运动.(2)小车A突然启动.[4]

答案:(1)没有摩擦力的作用(2)A对B有向右摩擦力作用

横向拓展

★★★★13.如图所示,C是水平地面,A、B是两块长方形物块,F是作用在物块B上沿水平方向的力,物体A和B以相同的速度作匀速直线运动.由此可知,A、B间的动摩擦因数μ1和B、C间的动摩擦因数μ2有可能是(   ).

(1994年全国高考试题)[|3]

(A)μ1=0,μ2=0    (B)μ1=0,μ2≠0

(C)μ1≠0,μ2=0    (D)μ1≠0,μ2≠0

答案:BD

★★★★14.如图所示,在水平桌面上放一木块,用从零开始逐渐增大的水平拉力F拉着木块沿桌面运动,则木块所受到的摩擦力f随拉力F变化的图像正确的是下图中的(   ).[3]

答案:D

★★★★15.如图所示,有一等边三角形ABC,在B、C两点各放一个质量为m的小球,在A处放一个质量为2m的小球,则这个球组的重心在何处?[4]

答案:在BC边中线的中点处

★★★★16.如图所示,在水平桌面上放一块重为GA=20N的木块,木块与桌面间的动摩擦因数μA=0.4,使这块木块沿桌面作匀速运动时的水平拉力F为多大?如果再在木块A上加一块重为GB=10N的木块B,B与A之间的动摩擦因数μB=0.2,那么当A、B两木块一起沿桌面匀速滑动时,对木块A的水平拉力应为多大?此时木块B受到木块A的摩擦力多大?[5]

答案:8N,12N,0

★★★★17.如图所示,质量均为m的三块木块A、B、C,其中除A的左侧面光滑外,其余各侧面均粗糙.当受到水平外力F时,三木块均处于静止状态.画出各木块的受力图.[5]

答案:略

★★★★18.如图所示,运输货车的制造标准是:当汽车侧立在倾角为30°的斜坡上时仍不致于翻倒,也就是说,货车受到的重力的作用线仍落在货车的支持面(以车轮为顶点构成的平面范围)以内.如果车轮间的距离为2.0m,车身的重心离支持面不超过多少?设车的重心在如图所示的中轴线上.[6]

答案:1.73m

共点力的合成与分解

双基训练

★1.两个共点力F1=10N、F2=4N的合力F的取值范围为______≤F≤______.[1]

答案:6N,14N

★2.把一个大小为5N的力分解为两个互相垂直的力,其中一个分力的大小为4N,求另一个分力的大小.[1.5]

答案:3N

★★3.三个大小分别为6N、10N、14N的力的合力最大为多少牛,最小为多少牛?[2]

答案:30N,0

纵向应用

★★4.如图所示的装置处于静止状态.已知A、B两点在同一水平面上,轻绳OA、OB与水平方向的夹角均为θ,物体所受重力为G,求轻绳OA和OB所受的拉力.[4]

答案:均为

★★★5.如图所示,在电线杆的两侧常用钢丝绳把它固定在地上.如果钢丝绳与地面的夹角∠A=∠B=60°,每条钢丝绳的拉力都是300N,求两根钢丝绳作用在电线杆上的合力.[3]

答案:

★★★6.如图所示,一个半径为r、重为G的圆球,被长为r的细绳挂在竖直的光滑的墙壁上,绳与墙所成的角度为30°,则绳子的拉力T和墙壁的弹力N分别是

(    ).[3]

(A)T=G,       (B)T=2G,N=G

(C)  (D)

答案:D

★★★7.某压榨机的结构如图所示,其中B为固定绞链,C为质量可忽略不计的滑块,通过滑轮可沿光滑壁移动,D为被压榨的物体.当在铰链A处作用一垂直于壁的压力F时,物体D所受的压力等于______.[3]

答案:5F

★★★8.同一平面上有三个共点力,F1=30N,F2=10N,F3=20N,F1与F2成120°角,F1与F3成75°角,F3与F2成165°角,求这三个力合力的大小.[5]

答案:31.9N

横向拓展

★★★9.若两个共点力F1、F2的合力为F,则有(   ).[4]

(A)合力F一定大于任何一个分力

(B)合力F的大小可能等于F1,也可能等于F2

(C)合力F有可能小于任何一个分力

(D)合力F的大小随F1、F2间夹角的增大而减小

答案:BCD

★★★10.某物体在三个共点力的作用下处于静止状态.若把其中一个力F1的方向沿顺时针方向转过90°,而保持其大小不变,其余两个力保持不变,则此时物体所受的合力大小为(   ).[1.5]

(A)F1       (B)     (C)2F1      (D)0

答案:B

★★★11.作用在同一质点上的两个力的合力F随两个分力夹角大小的变化情况如图所示,则两力的大小分别是______N和______N.[3]

答案:30,40

★★★12.从正六边形ABCDEF的一个顶点A向其余五个顶点作用着五个力F1、F2、F3、F4、F5(图),已知F1=f,且各个力的大小跟对应的边长成正比,这五个力的合力大小为_____,方向______.[4]

答案:6f,沿AD方向

★★★13.质量为m的光滑球被竖直挡板挡住,静止在倾角为θ的斜面上,如图所示,求小球压紧挡板的力的大小.[4]

答案:mgtanθ

★★★14.如图所示,在倾角为θ的斜面上,有一木块m,该木块恰好能够沿斜面匀速下滑,求木块与斜面间的动摩擦因数.[5]

答案:tanθ

★★★15.一根细线能竖直悬挂一个很重的铁球,如把细线呈水平状态绷紧后,在中点挂一个不太重的砝码(设重为G),常可使细线断裂,解释其原因并计算说明.[4]

答案:略

★★★★16.如图所示,用绳AC和BC吊起一个物体,绳AC与竖直方向的夹角为60°,能承受的最大拉力为100N绳BC与竖直方向的夹角为30°,能承受的最大拉力为150N.欲使两绳都不断,物体的重力不应超过多少?[5]

共点力作用下物体的平衡

答案:173N

共点力作用下物体的平衡

双基训练

★1.下列物体中处于平衡状态的是(   ).[1]

(A)静止在粗糙斜面上的物体

(B)沿光滑斜面下滑的物体

(C)在平直路面上匀速行驶的汽车

(D)作自由落体运动的物体在刚开始下落的一瞬间

答案:AC

★2.共点力作用下物体的平衡条件是______.[0.5]

答案:物体所受外力的合力为零

★★3.马拉车,车匀速前进时,下列说法中正确的有(   ).[1]

(A)马拉车的力与车拉马的力是一对平衡力

(B)马拉车的力与车拉马的力是一对作用力与反作用力

(C)马拉车的力与地面对车的阻力是一对平衡力

(D)马拉车的力与地面对车的阻力是一对作用力与反作用力

答案:BC

★★4.当物体受到三个力的作用处于平衡状态时,任意两个力的合力与第三个力的关系是______.[1]

答案:大小相等,方向相反

纵向应用

★★5.运动员用双手握住竖直的滑杆匀速上攀和匀速下滑时,运动员所受到的摩擦力分别是f1和f2,那么(    ).[2]

(A)f1向下,f2向上,且f1=f2       (B)f1向下,f2向上,且f1>f2

(C)f1向上,f2向上,且f1=f2       (D)f1向上,f2向下,且f1=f2

答案:C

★★6.质量为50g的磁铁块紧吸在竖直放置的铁板上,它们之间的动摩擦因数为0.3.要使磁铁匀速下滑,需向下加1.5N的拉力.那么,如果要使磁铁块匀速向上滑动,应向上施加的拉力大小为(    ).[3]

(A)1.5N     (B)2N    (C)2.5N   (D)3N

答案:C

★★★7.如图所示,两个物体A和B,质量分别为M和m,用跨过定滑轮的轻绳相连,A静止于水平地面上,不计摩擦,则A对绳的作用力与地面对A的作用力的大小分别为(   ).(1995年全国高考试题)[3]

(A)mg,(M-m)g   (B)mg,Mg

(C)(M-m)g,Mg   (D)(M+m)g,(M-m)g

答案:A

★★8.如图所示,重力大小都是G的A、B条形磁铁,叠放在水平木板C上,静止时B对A的弹力为F1,C对B的弹力为F2,则(   ).[3]

(A)F1=G,F2=2G    (B)F1>G,F2>2G

(C)F1>G,F2<2G    (D)F1>G,F2=2G

答案:D

★★★9.如图所示,三段不可伸长的细绳OA、OB、OC,能承受的最大拉力相同,它们共同悬挂一重物,其中OB是水平的,A端、B端固定.若逐渐增加C端所挂物体的质量,则最先断的绳(    ).(1998年全国高考试题)p.6[2]

(A)必定是OA    (B)必定是OB

(C)必定是OC     (D)可能是OB,也可能是OC

答案:A

★★★10.如图所示,用两根长度相等的轻绳,下端悬挂一个质量为m的物体,上端分别固定在水平天花板上的M、N点,M、N间距为s,已知两绳所能承受的最大拉力为T,则每根绳的长度不得短于______.[4]

答案:

★★★11.在水平路面上用绳子拉一只重100N的箱子,绳子和路面的夹角为37°,如图所示.当绳子的拉力为50N,恰好使箱子匀速移动,求箱子和地面间的动摩擦因数.[5]

答案:

横向拓展

★★★12.如图所示,A、B两均匀直杆上端分别用细线悬挂于天花板上,下端搁在水平地面上,处于静止状态,悬挂A杆的绳倾斜,悬挂B杆的绳恰好竖直,则关于两杆的受力情况,下列说法中正确的有(    ).[4]

(A)A、B都受三个力作用

(B)A、B都受四个力作用

(C)A受三个力,B受四个力

(D)A受四个力,B受三个力

答案:D

★★★13.如图所示,质量为M的大圆环,用轻绳悬挂于天花板上,两个质量均为m的小环同时从等高处由静止滑下,当两小圆环滑至与圆心等高时所受到的摩擦力均为,,则此时大环对绳的拉力大小是(     ).[4]

(A)Mg    (B)(M+2m)g   (C)Mg+2f    (D)(M+2m)g+2f

答案:C

★★★14.如图所示,A、B两物体用细绳相连跨过光滑轻小滑轮悬挂起来,B物体放在水平地面上,A、B两物体均静止.现将B物体稍向左移一点,A、B两物体仍静止,则此时与原来相比(     ).[4]

(A)绳子拉力变大         (B)地面对物体B的支持力变大

(C)地面对物体B的摩擦力变大   (D)物体B受到的合力变大

答案:BC

★★★15.如图所示,斜面的倾角θ=37°,斜面上的物体A重10N.物体A和斜面间的动摩擦因数为μ=0.2,为使物体A在斜面上作匀速运动,定滑轮所吊的物体B的重力大小应为多大?[5]

答案:4.4N或7.6N

★★★16.用轻质细线把两个质量未知的小球悬挂起来,如图(a)所示.现对小球a施加一个向左偏下30°的恒力,并对小球b施加一个向右偏上30°的同样大小的恒力,最后达到平衡,表示平衡状态的图可能是下图(b)中的(     ).p.7[5]

答案:A

★★★17.如图所示,A、B两长方体木块放在水平面上,它们的高度相等,长木板C放在它们上面.用水平力F拉木块A,使A、B、C一起沿水平面向右匀速运动,则(     ).[4]

(A)A对C的摩擦力向右

(B)C对A的摩擦力向右

(C)B对C的摩擦力向右

(D)C对B的摩擦力向右

答案:AD

★★★18.如图所示,质量m=5kg的物体,置于倾角θ=30°的粗糙斜面块上,用一平行于斜面的大小为30N的力推物体,使其沿斜面向上匀速运动.求地面对斜面块M的静摩擦力.[8]

答案:

★★★19.如图所示,物体A、B叠放在倾角α=37°的斜面上,并通过细线跨过光滑滑轮相连,细线与斜面平行.两物体的质量分别为mA=5kg,mB=10kg,A、B间动摩擦因数为μ1=0.1,B与斜面间的动摩擦因数为μ2=0.2.现对A施一平行于斜面向下的拉力F、,使A平行于斜面向下匀速运动,求F的大小.[10]

答案:62N

★★★★20.如图所示,在一粗糙水平面上有两块质量分别为m1和m2的木块1和2,中间用一原长为l、劲度系数为k的轻弹簧连接起来,木块与地面间的动摩擦因数为μ.现用一水平力向右拉木块2,当两木块一起匀速运动时,两木块之间的距离是(    ).(2001年全国高考理科综合试题)[5]

(A)    (B)  

(C)    (D)

答案:A

★★★★21.S1和S2分别表示劲度系数为k1和k2的两根弹簧,k1>k2.a和b表示质量分别为ma和mb的两个小物体,ma>mb,将弹簧与物块按右图所示方式悬挂起来,现要求两根弹簧的总长度最大,则应使(   ).(2000年广东高考试题)[4]

(A)S1在上,a在上    (B)S1在上,b在上

(C)S2在上,a在上    (D)S2在上,b在上

答案:D

★★★★22.如图所示,物体G用两根绳子悬挂,开始时绳OA水平,现将两绳同时沿顺时针方向转过90°,且保持两绳之间的夹角α不变(α>90°),物体保持静止状态.在旋转过程中,设绳OA的拉力为T1,绳OB的拉力为T2,则(   ).[5]

(A)T1先减小后增大    (B)T1先增大后减小

(C)T2逐渐减小      (D)T2最终变为零

答案:BCD

★★★★23.如图所示,光滑的半球形物体固定在水平地面上,球心正上方有一光滑的小滑轮,轻绳的一端系一小球.靠放在半球上的A点,另一端绕过定滑轮后用力拉住,使小球静止.现缓慢地拉绳,在使小球使球面由A到半球的顶点B的过程中,半球对小球的支持力N和绳对小球的拉力T的大小变化情况是(   ).p.5[5]

(A)N变大,T变小      (B)N变小,T变大   

(C)N变小,T先变小后变大  (D)N不变,T变小

答案:D

★★★★24.质量为0.8kg的物块静止在倾角为30°的斜面上,若用平行于斜面沿水平方向大小等于3N的力推物块,物块仍保持静止,如图所示,则物块所受到的摩擦力大小等于(   ).[5]

(A)5N    (B)4N    (C)3N    (D)

答案:A

★★★★25.如图所示,水平放置的两固定光滑硬杆OA、OB成θ角,在两杆上各套一轻环P、Q,两环用细绳相连.现用一大小为F的恒力沿OB方向拉圆环Q,当两环处于平衡状态时,绳子的拉力大小为______.[4]

答案:

★★★★26.如图所示,相距4m的两根柱子上拴着一根5m长的细绳,细绳上有一光滑的小滑轮,吊着180N的重物,静止时AO、BO绳所受的拉力各是多大?[7]

答案:150N,150N

★★★★27.如图所示,A、B两小球固定在水平放置的细杆上,相距为l,两小球各用一根长也是l的细绳连接小球C,三个小球的质量都是m.求杆对小球A的作用力的大小和方向.[10]

答案:大小为,方向竖直向上偏左α角,其中

★★★★28.如图所示,两个重都为G、半径都为r的光滑均匀小圆柱,靠放在半径为R(R>2r)的弧形凹面内,处于静止状态.试求凹面对小圆柱的弹力及小圆柱相互间的弹力大小.[10]

答案:

★★★★★29.如图所示,跨过两个定滑轮的轻绳上系着三个质量分别为m1、m2和M的重物,两滑轮的悬挂点在同一高度,不计摩擦.求当整个系统处于平衡状态时,三个重物质量之间的关系.[15]

答案:M<m1+m2且M2〉|m12+m22|

★★★★★30.如图所示,质量为m的物体放在水平地面上,物体与地面间的动摩擦因数为,想用大小为F的力推动物体沿水平地面滑动,推力方向与水平面的夹角在什么范围内都是可能的?[15]

答案:

★★★★★31.压延机由两轮构成,两轮直径各为d=50cm,轮间的间隙为a=0.5cm.两轮按反方向转动,如图上箭头所示.已知烧红的铁板与铸铁轮之间的动摩擦因数μ=0.1,问能压延的铁板厚度是多少?[25]

答案:0.75cm

力矩 有固定转动轴物体的平衡

双基训练

★1.如图所示,轻杆BC的C端铰接于墙,B点用绳子拉紧,在BC中点O挂重物G.当以C为转轴时,绳子拉力的力臂是(    ).[0.5]

(A)OB    (B)BC    (C)AC    (D)CE

答案:D

★2.关于力矩,下列说法中正确的是(    ).[1]

(A)力对物体的转动作用决定于力矩的大小和方向

(B)力矩等于零时,力对物体不产生转动作用

(C)力矩等于零时,力对物体也可以产生转动作用

(D)力矩的单位是“牛·米”,也可以写成“焦”

答案:AB

★3.有固定转动轴物体的平衡条件是______.[0.5]

答案:力矩的代数和为零

★★4.有大小为F1=4N和F2=3N的两个力,其作用点距轴O的距离分别为L1=30cm和L2=40cm,则这两个力对转轴O的力矩M1和M2的大小关系为(   ).[1.5]

(A)因为F1>F2,所以M1>M2       (B)因为F1<F2,所以M1<M2

(C)因为F1L1=F2L2,所以M1=M2    (D)无法判断M1和M2的大小

答案:D

纵向应用

★★5.火车车轮的边缘和制动片之间的摩擦力是5000N.如果车轮的半径是0.45m,求摩擦力的力矩.[2]

答案:2.25×103N·m

★★6.如图所示是一根弯成直角的杆,它可绕O点转动.杆的OA段长30cm,AB段长40cm.现用F=10N的力作用在杆上,要使力F对轴O逆时针方向的力矩最大,F应怎样作用在杆上?画出示意图,并求出力F的最大力矩.[2.5]

答案:图略,5N·m

★★★7.如图所示是单臂斜拉桥的示意图,均匀桥板aO重为G,三根平行钢索与桥面成30°角,间距ab=bc=cd=dO.若每根钢索受力相同,左侧桥墩对桥板无作用力,则每根钢索的拉力大小是(    ).[3]

(A)G    (B)    (C)    (D)

答案:D

★★★8.右图为人手臂骨骼与肌肉的生理结构示意图,手上托着重为G的物体.(1)在虚线框中画出前臂受力的示意图(手、手腕、尺骨和挠骨看成一个整体,所受重力不计,图中O点看作固定转动轴,O点受力可以不画).(2)根据图中标尺估算出二头肌此时的收缩力约为___________.(2000年上海高考试题)[5]

答案:(1)图略(2)8G

横向拓展

★★★9.如图所示,直杆OA可绕O轴转动,图中虚线与杆平行.杆的A端分别受到F1、F2、F3、F4四个力的作用,它们与OA杆在同一竖直平面内,则它们对O点的力矩M1、M2、M3、M4的大小关系是(   ).[4]

(A)M1=M2>M3=M4        (B)M1>M2>M3>M4

(C)M1>M2=M3>M4        (D)M1<M2<M3<M4

答案:C

★★★10.如图所示的杆秤,O为提纽,A为刻度的起点,B为秤钩,P为秤砣.关于杆秤的性能,下列说法中正确的是(    ).[4]

(A)不称物时,秤砣移至A处,杆秤平衡

(B)不称物时,秤砣移至B处,杆秤平衡

(C)称物时,OP的距离与被测物的质量成正比

(D)称物时,AP的距离与被测物的质量成正比

答案:AD

★★★11.如图所示,A、B是两个完全相同的长方形木块,长为l,叠放在一起,放在水平桌面上,端面与桌边平行.A木块放在B上,右端有伸出,为保证两木块不翻倒,木块B伸出桌边的长度不能超过(    ).[4]

(A)    (B)    (C)    (D)

★★★12.如图所示,ABC为质量均匀的等边直角曲尺,质量为2M,C端由铰链与墙相连,摩擦不计.当BC处于水平静止状态时,施加在A端的最小作用力的大小为______,方向是______.[4]

答案:,垂直于CA的连线斜向上

★★★13.如图所示,将粗细均匀、直径相同的均匀棒A和B粘合在一起,并在粘合处用绳悬挂起来,恰好处于水平位置而平衡,如果A的密度是B的2倍,那么A的重力大小是B的______倍.[5]

答案:

★★★14.如图所示,一个质量为m、半径为R的球,用长为R的绳悬挂在L形的直角支架上,支架的重力不计,AB长为2R,BC长为,为使支架不会在水平桌面上绕B点翻倒,应在A端至少加多大的力?[6]

答案:

★★★15.如图所示,重为600N的均匀木板搁在相距为2.0m的两堵竖直墙之间,一个重为800N的人站在离左墙0.5m处,求左、右两堵墙对木板的支持力大小.[7]

答案:900N,500N

★★★★16.棒AB的一端A固定于地面,可绕A点无摩擦地转动,B端靠在物C上,物C靠在光滑的竖直墙上,如图所示.若在C物上再放上一个小物体,整个装置仍保持平衡,则B端与C物之间的弹力大小将(    ).[4]

(A)变大   (B)变小   (C)不变   (D)无法确定

答案:A

★★★★17.如图所示,质量为m的运动员站在质量为m的均匀长板AB的中点,板位于水平地面上,可绕通过A点的水平轴无摩擦转动.板的B端系有轻绳,轻绳的另一端绕过两个定滑轮后,握在运动员的手中.当运动员用力拉绳子时,滑轮两侧的绳子都保持在竖直方向,则要使板的B端离开地面,运动员作用于绳的最小拉力是______.[5]

答案:

★★★★18.如图所示,半径是0.1m、重为的均匀小球,放在光滑的竖直墙和长为1m的光滑木板(不计重力)OA之间,小板可绕轴O转动,木板和竖直墙的夹角θ=60°,求墙对球的弹力和水平绳对木板的拉力.[5]

答案:10N,6.92N

★★★★19.如图所示,均匀杆AB每米重为30N,将A端支起,在离A端0.2m的C处挂一重300N的物体,在B端施一竖直向上的拉力F,使杆保持水平方向平衡,问杆长为多少时,所需的拉力F最小?最小值为多大?[6]

答案:2m,60N

★★★★20.右图所示是用电动砂轮打磨工件的装置,砂轮的转轴通过图中O点垂直于纸面,AB是一长度l=0.60m、质量m1=0.50kg的均匀刚性细杆,可绕过A端的固定轴在竖直面(图中纸面)内无摩擦地转动,工件C固定在AB杆上,其质量m2=1.5kg,工件的重心、工件与砂轮的接触点P以及O点都在过AB中点的竖直线上,P到AB杆的垂直距离d=0.1m,AB杆始终处于水平位置,砂轮与工件之间的动摩擦因数μ=0.6.

(1)当砂轮静止时,要使工件对砂轮的压力F0=100N,则施于B端竖直向下的力FB应是多大?

(2)当砂轮逆时针转动时,要使工件对砂轮的压力仍为F0=100N,则施于B端竖直向下的力FB′应是多大?(2000年天津、江西高考试题)p.9[9]

答案:(1)40N(2)30N

★★★★★21.两个所受重力大小分别为GA和GB的小球A和B,用细杆连接起来,放置在光滑的半球形碗内.小球A、B与碗的球心O在同一竖直平面内,如图所示.若碗的半径为R,细杆的长度为,GA>GB,则连接两小球的AB细杆静止时与竖直方向的夹角为多大?[10]

答案:

★★★★★22.如图所示,一根重为G的均匀硬杆AB,杆的A端被细绳吊起,在杆的另一端B作用一水平力F,把杆拉向右边,整个系统平衡后,细线、杆与竖直方向的夹角分别为α、β求证:tanβ=2tanα.[15]

答案:略

★★★★★23.半径为R、质量为M1的均匀圆球与一质量为M2的重物分别用细绳AD和ACE悬挂于同一点A,并处于平衡状态,如图所示.已知悬点A到球心O的距离为L,不考虑绳的质量和绳与球的摩擦,试求悬挂圆球的绳AD与竖直方向AB间的夹角θ.(第十届全国中学生物理竞赛预赛试题)[15]

答案:

★★★★★24.在一些重型机械和起重设备上,常用双块式电磁制动器,它的简化示意图如图所示,O1和O2为固定铰链.在电源接通时,A杆被往下压,通过铰链C1、C2、C3使弹簧S被拉伸,制动块B1、B2与转动轮D脱离接触,机械得以正常运转.当电源被切断后,A杆不再有向下的压力(A杆及图中所有连杆及制动块所受重力皆忽略不计),于是弹簧回缩,使制动块产生制动效果.此时O1C1和O2C2处于竖直位置.已知欲使正在匀速转动的D轮减速从而实现制动,至少需要M=1100N·m的制动力矩,制动块与转动轮之间的摩擦因数μ=0.40,弹簧不发生形变时的长度为L=0.300m,转动轮直径d=0.400m,图示尺寸a=0.065m,h1=0.245m,h2=0.340m,问选用的弹簧的劲度系数k最小要多大?(第十三届全国中学生物理竞赛预赛试题)[15]

答案:k=1.24×104N/m

★★★★★25.如图所示,在竖直墙上有两根相距为2a的水平木桩A和B,有一细棒置于A上、B下与水平方向成θ角,细棒与木桩之间的静摩擦因数为μ,求要使细棒静止,其重心与木桩A之间距离应满足的条

件.[25]

答案:重心到木桩之间距离

试题详情

原子核式结构和玻尔模型... 264

天然放射现象及原子核的人工转变... 266

重核裂变    轻核聚变 核能... 269

试题详情