0  427180  427188  427194  427198  427204  427206  427210  427216  427218  427224  427230  427234  427236  427240  427246  427248  427254  427258  427260  427264  427266  427270  427272  427274  427275  427276  427278  427279  427280  427282  427284  427288  427290  427294  427296  427300  427306  427308  427314  427318  427320  427324  427330  427336  427338  427344  427348  427350  427356  427360  427366  427374  447090 

12、重为3N的小球静止在水平面上,用力的图示法在图7中画出它所受重力G。

 

试题详情

11、在图6中,根据给出的入射光线AO画出反射光线OB,并标出反射角及其度数。

试题详情

10、某小组同学研究动滑轮的使用特点,他们先用弹簧测力计缓慢提起钩码,如图5(a)所示,再分别用重力不同的动滑轮甲、乙、丙(G>G>G)缓慢提起相同钩码,如图5(b)、(c)、(d)所示。请仔细观察图是的操作和弹簧测力计的示数,然后归纳得出结论。

(1)  比较图5(a)与(b)[或(a)与(c),或(a)与(d)]两图可得:_________________

__________________________________________________________;

(2)  比较图5(b)与(c)与(d)三图可得__________________________________

__________________________________________________________。

试题详情

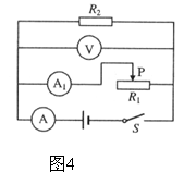
9、在图4的示所示的电路中,电源电压保持不变。闭合电键S,当滑动变阻器的滑片P向左移动时,电压表V的示数将______________,电流表A与电流表A1示数的差值将_____________。(均选填“变大”、“不变”或“变小”)

 

试题详情

8、重为9.8N的木块漂浮在水面是且保持静止,木块所受浮力的大小为_______N,浸在水中的体积为___________m3

试题详情

7、若10s内通过某导体横截面的电量为2库,通过导体的电流为________A,此时导体两端的电压为6V,其电阻为______Ω。当该导体两端的电压为3V时,该导体电阻为_____Ω。

试题详情

6、木块在大小为2N的水平拉力作用下,10s内在水平面上沿拉力方向前进1m,拉力功为________J,功率为_______w;若木块重5N,在此过程中重力对木块做功为________J。

试题详情

5、2008年北京奥运火炬传递的主题是“传递激情,传递梦想”。若火炬手以1m/s的速度沿直线匀速通过60m,需________s,以路旁的树木为参照物,火炬手是________的。(选填“静止”或“运动”)。

试题详情

4、如图3所示,小朋友从滑梯上滑下,其重力势能__________(选填“增大”或“减小”),他与滑梯接触面间的摩擦是__________摩擦(选填“滚动”可“滑动”)。当他滑至水平面进,还会继续向前运动,是由于他具有______   ___。

试题详情

3、如图2所示,灭火器放在烈日下温度会_______(选填“升高”或“降低”),这是通过_______的方法使其内能增加,具有一定的危险性,为了安全,灭火器应存放在阴凉干燥处。

试题详情


同步练习册答案