精英家教网 > 高中物理 > 题目详情
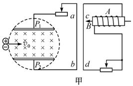
等离子气流由左方连续以v0射入P1和P2两板间的匀强磁场中,ab直导线与P1、P2相连接,线圈A与直导线cd连接.线圈A内有随图乙所示的变化磁场,且磁场B的正方向规定为向左,如图甲所示,则下列叙述正确的是(  )
A.0~1s内ab、cd导线互相排斥
B.1~2s内ab、cd导线互相吸引
C.2~3s内ab、cd导线互相吸引
D.3~4s内ab、cd导线互相吸引
魔方格
相关习题

科目:高中物理 来源: 题型:

等离子气流由左方连续以v0射入P1和P2两板间的匀强磁场中,ab直导线与P1、P2相连接,线圈A与直导线cd连接.线圈A内有随图乙所示的变化磁场,且磁场B的正方向规定为向左,如图甲所示,则下列叙述正确的是(  )

查看答案和解析>>

科目:高中物理 来源: 题型:

等离子气流由左方连续以 v0 射入 P1 和 P2 两板间的匀强磁场中,ab 直导线与 P1、P2 相连接,线圈 A 与直导线 cd 连接.线圈 A 内有如图 3-5-20乙 所示的变化磁场,且磁场 B 的正方向规定为向左,如图 3-5-20 甲所示,则下列叙述正确的是(    )

图3-5-20

A.0—1 s 内 ab、cd 导线互相排斥                B.1—2 s 内 ab、cd 导线互相吸引

C.2—3 s 内 ab、cd 导线互相吸引                 D.3—4 s 内 ab、cd 导线互相排斥

查看答案和解析>>

科目:高中物理 来源: 题型:

等离子气流由左方连续以v0射入P1和P2两板间的匀强磁场中,ab直导线与P1、P2相连接,线圈A与直导线cd连接,线圈A内有随图乙所示的变化磁场,且磁场B的正方向规定为向左,如图甲所示,则下列叙述正确的是(    )

         

A.0—1 s内ab、cd导线互相排斥             B.1—2 s内ab、cd导线互相吸引

C.2—3 s内ab、cd导线互相吸引             D.3—4 s内ab、cd导线互相排斥

查看答案和解析>>

科目:高中物理 来源: 题型:

等离子气流由左方连续以 v0 射入 P1 和 P2 两板间的匀强磁场中,ab 直导线与 P1、P2 相连接,线圈 A 与直导线 cd 连接.线圈 A 内有如图 3-5-20乙 所示的变化磁场,且磁场 B 的正方向规定为向左,如图 3-5-20 甲所示,则下列叙述正确的是(    )

图3-5-20

A.0—1 s 内 ab、cd 导线互相排斥                B.1—2 s 内 ab、cd 导线互相吸引

C.2—3 s 内 ab、cd 导线互相吸引                 D.3—4 s 内 ab、cd 导线互相排斥

查看答案和解析>>

科目:高中物理 来源: 题型:

等离子气流由左方连续以v0射入P1和P2两板间的匀强磁场中,ab直导线与P1、P2相连接,线圈A与直导线cd连接.线圈A内有随图乙所示的变化磁场.且磁场B的正方向规定为向左,如图甲所示,则下列叙述正确的是           (  )

       A.0~1 s内,ab、cd导线互相排斥

       B.1~2 s内,ab、cd导线互相吸引

       C.2~3 s内,ab、cd导线互相吸引

       D.3~4 s内,ab、cd导线互相排斥

查看答案和解析>>

科目:高中物理 来源:2011-2012学年贵州省高三物理复习测试:电磁学综合训练(解析版) 题型:选择题

等离子气流由左方连续以v0射入P1和P2两板间的匀强磁场中,ab直导线与P1、P2相连接,线圈A与直导线cd连接.线圈A内有随图乙所示的变化磁场.且磁场B的正方向规定为向左,如图甲所示,则下列叙述正确的是(    )

A.0~1 s内ab、cd导线互相排斥

B.1~2 s内ab、cd导线互相吸引

C.2~3 s内ab、cd导线互相吸引

D.3~4 s内ab、cd导线互相排斥

 

查看答案和解析>>

科目:高中物理 来源:2010年天津一中高二下学期期中考试物理试题 题型:选择题

等离子气流由左方连续以v0射入P1P2两板间的匀强磁场中,ab直导线与P1 P2相连接,线圈A与直导线cd连接。线圈A内有随图乙所示的变化磁场,且磁场B的正方向规定为向左,如图甲所示,则下列叙述正确的是(   )

A.0~1s内abcd导线互相排斥        B.1~2s内abcd导线互相吸引

C.2~3s内abcd导线互相吸引        D.3~4s内abcd导线互相吸引

 

查看答案和解析>>

科目:高中物理 来源:不详 题型:单选题

等离子气流由左方连续以v0射入P1和P2两板间的匀强磁场中,ab直导线与P1、P2相连接,线圈A与直导线cd连接.线圈A内有随图乙所示的变化磁场,且磁场B的正方向规定为向左,如图甲所示,则下列叙述正确的是(  )
A.0~1s内ab、cd导线互相排斥
B.1~2s内ab、cd导线互相吸引
C.2~3s内ab、cd导线互相吸引
D.3~4s内ab、cd导线互相吸引
精英家教网

查看答案和解析>>

科目:高中物理 来源:不详 题型:单选题

等离子气流由左方连续以v0射入P1和P2两板间的匀强磁场中,ab直导线与P1、P2相连接,线圈A与直导线cd连接.线圈A内有随图乙所示的变化磁场.且磁场B的正方向规定为向左,如图甲所示,则下列叙述正确的是(    )
A.0~1 s内ab、cd导线互相排斥
B.1~2 s内ab、cd导线互相吸引
C.2~3 s内ab、cd导线互相吸引
D.3~4 s内ab、cd导线互相排斥

查看答案和解析>>

科目:高中物理 来源: 题型:多选题

等离子气流由左方连续以v0射入P1和P2两板间的匀强磁场中,ab直导线与P1、P2相连接,线圈A与直导线cd连接.线圈A内有随图乙所示的变化磁场.且磁场B的正方向规定为向左,如图甲所示,则下列叙述正确的是


  1. A.
    0~1 s内ab、cd导线互相排斥
  2. B.
    1~2 s内ab、cd导线互相吸引
  3. C.
    2~3 s内ab、cd导线互相吸引
  4. D.
    3~4 s内ab、cd导线互相排斥

查看答案和解析>>


同步练习册答案