相关习题
0 68073 68081 68087 68091 68097 68099 68103 68109 68111 68117 68123 68127 68129 68133 68139 68141 68147 68151 68153 68157 68159 68163 68165 68167 68168 68169 68171 68172 68173 68175 68177 68181 68183 68187 68189 68193 68199 68201 68207 68211 68213 68217 68223 68229 68231 68237 68241 68243 68249 68253 68259 68267 211419
科目:
来源:2006-2007学年广东省肇庆五中九年级(上)期中化学试卷(解析版)
题型:填空题
A物质再一定条件下可以分解成B、C两种气体,D物质是一种金属,它在C 物质中燃烧,发出耀眼的光,并生成一种白色的固体.E物质是一种淡黄色的固体,它在C物质中燃烧,发出蓝紫色的火焰,生成一种有刺激性的气体,试通过以上信息推断:
1.A物质的名称是 ,D物质的名称是 ,C物质的化学式是 ,E物质的化学式 .
2.写出D物质在C物质中燃烧的化学方程式 .其反应基本类型为 .(填化合反应或分解反应)
查看答案和解析>>
科目:
来源:2006-2007学年广东省肇庆五中九年级(上)期中化学试卷(解析版)
题型:填空题
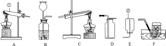
根据下面的实验装置图回答问题:

(1)指出图中标有数字的仪器名称:①
,②
.
(2)实验室加热高锰酸钾制取氧气的发生装置应选用
,收集装置不能选用
,原因是
.如果用装置F来收集氧气,实验完毕后应先
再
,原因是
.如果用D来收集氧气,怎样验证集气瓶内的氧气是否已收满?简述操作过程、现象极其结论
.
(3)如果用过氧化氢溶液与二氧化锰混合制取氧气,发生装置应选用
.其化学方程式是
.其中二氧化锰是
剂,反应基本类型是
(填化合反应或分解反应)
查看答案和解析>>
科目:
来源:2006-2007学年广东省肇庆五中九年级(上)期中化学试卷(解析版)
题型:解答题
(1)CO和H2O的相对分子质量分别是______和______.
(2)尿素CO(NH2)2是农业上常用的一种化肥,试计算:
①尿素CO(NH2)2有______种元素组成,一个尿素分子中共有______个原子,其中碳、氧、氮、氢元素的质量比为______.
查看答案和解析>>
科目:
来源:2006-2007学年广东省肇庆五中九年级(上)期中化学试卷(解析版)
题型:解答题
已知加热分解高锰酸钾可以制得22、4L氧气.求被分解的高锰酸钾的质量是多少?(已知:在标准状况下,氧气的密度是1、43g/L) (计算结果取整数)
查看答案和解析>>
科目:
来源:2011-2012学年湖南省邵阳十中九年级(上)第一次月考化学试卷(解析版)
题型:选择题
2010年5月,孙中山先生铜像回迁至南京市新街口.铜及铜合金属于( )
A.天然材料
B.金属材料
C.复合材料
D.合成材料
查看答案和解析>>
科目:
来源:2011-2012学年湖南省邵阳十中九年级(上)第一次月考化学试卷(解析版)
题型:选择题
X、Y、Z是金属活动性顺序表里的三种金属,它们在溶液中能发生如下反应:
①X+YSO4=XSO4+Y;②Y+H2SO4=YSO4+H2↑;③Z与H2SO4不发生反应.则三种金属的活动性满足( )
A.X>Y>Z
B.Z>Y>X
C.Y>Z>X
D.X>Z>Y
查看答案和解析>>
科目:
来源:2011-2012学年湖南省邵阳十中九年级(上)第一次月考化学试卷(解析版)
题型:选择题
有关铝、铁、铜的说法中不正确的是( )
A.铝是地壳中含量最多的金属元素
B.三种金属中最活泼的是铁
C.铝可以与硫酸铜溶液反应
D.铜可以用来做电线
查看答案和解析>>
科目:
来源:2011-2012学年湖南省邵阳十中九年级(上)第一次月考化学试卷(解析版)
题型:选择题
国家建设部、化工部等有关部门规定,新建小区户外给水管必须使用塑料管,新建建筑不得再使用传统铸铁排水管.国家推广使用塑料建材的主要目的是( )
A.保护金属资源
B.金属易腐蚀,而塑料使用时间长
C.塑料密度小,减少房屋的自身重量
D.降低成本
查看答案和解析>>
科目:
来源:2011-2012学年湖南省邵阳十中九年级(上)第一次月考化学试卷(解析版)
题型:选择题
不法分子常用金光闪闪的“金元宝”(铜锌合金)蒙骗人们.下列鉴别方法错误的是( )
A.加盐酸
B.测密度
C.加硝酸银溶液
D.看颜色
查看答案和解析>>
科目:
来源:2011-2012学年湖南省邵阳十中九年级(上)第一次月考化学试卷(解析版)
题型:选择题
往AgNO3和Cu(NO3)2的混合液中加入一定量的铁粉,充分反应后过滤,向滤渣中加入稀盐酸,无气泡产生.根据上述现象,你得出的结论是( )
A.滤渣中一定有Fe粉
B.滤渣中一定有Cu粉
C.滤液中一定有Fe2+
D.滤液中一定有Ag+、Cu2+
查看答案和解析>>