相关习题
 0  74766  74774  74780  74784  74790  74792  74796  74802  74804  74810  74816  74820  74822  74826  74832  74834  74840  74844  74846  74850  74852  74856  74858  74860  74861  74862  74864  74865  74866  74868  74870  74874  74876  74880  74882  74886  74892  74894  74900  74904  74906  74910  74916  74922  74924  74930  74934  74936  74942  74946  74952  74960  235360 

科目: 来源:2013年山东省淄博市沂源县初三物理知识竞赛试卷(解析版) 题型:解答题

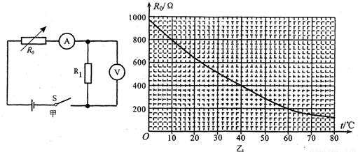
现代生物医学研究使用的细菌培养箱内的温度需要精确测控,测控的方法之一是用热敏电阻来探测温度.如图甲所示的电路,将热敏电阻R置于细菌培养箱内,其余都置于箱外.这样既可以通过电流表的示数来表示箱内温度,又可以通过电压表的示数来表示箱内温度.已知该电路中电源电压是12V,定值电阻R1的阻值是200Ω.热敏电阻R的阻值随温度变化的关系如图乙所示.求:
(1)当培养箱内的温度降低时,电流表的示数如何变化?
(2)当培养箱内的温度为40℃时,电压表的示数是多大?
(3)已知电流表的量程是0--30mA,电压表的量程是0--8V,则此电路能够测量的最高温度是多大?此时热敏电阻R消耗的电功率是多大?

查看答案和解析>>

科目: 来源:2012-2013学年江苏省苏州市常熟市九年级(上)期中物理试卷(解析版) 题型:选择题

如图所示的四种工具在使用过程中,属于费力杠杆的是( )
A.
独轮车
B.
镊子
C.
钢丝钳子
D.
扳子

查看答案和解析>>

科目: 来源:2012-2013学年江苏省苏州市常熟市九年级(上)期中物理试卷(解析版) 题型:选择题

如图所示,在调节平衡后的杠杆两侧,分别挂上相同规格的钩码,杠杆处于平衡状态.如果两侧各去掉一个钩码,则( )
A.左端下降
B.右端下降
C.仍然平衡
D.无法判断

查看答案和解析>>

科目: 来源:2012-2013学年江苏省苏州市常熟市九年级(上)期中物理试卷(解析版) 题型:选择题

下列电路图中,开关S闭合后,两个电阻并联的是( )
A.
B.
C.
D.

查看答案和解析>>

科目: 来源:2012-2013学年江苏省苏州市常熟市九年级(上)期中物理试卷(解析版) 题型:选择题

刘明乘电梯上楼,在电梯匀速上升的过程中,刘明的( )
A.动能不断增大
B.重力势能不断增大
C.动能转化为重力势能
D.重力势能转化为动能

查看答案和解析>>

科目: 来源:2012-2013学年江苏省苏州市常熟市九年级(上)期中物理试卷(解析版) 题型:选择题

借助简单机械将重物提升,若不计滑轮重量及摩擦,以下装置最省力的是( )
A.
B.
C.
D.

查看答案和解析>>

科目: 来源:2012-2013学年江苏省苏州市常熟市九年级(上)期中物理试卷(解析版) 题型:选择题

冬天,我们常用热水袋取暖,这主要是因为水具有( )
A.较多的热量
B.较大的密度
C.较高的温度
D.较大的比热容

查看答案和解析>>

科目: 来源:2012-2013学年江苏省苏州市常熟市九年级(上)期中物理试卷(解析版) 题型:选择题

如图现象中,通过热传递来改变内能的是( )
A.
给冷水加热
B.
压缩空气温度升高
C.
下滑时臀部发热
D.
搓手取暖

查看答案和解析>>

科目: 来源:2012-2013学年江苏省苏州市常熟市九年级(上)期中物理试卷(解析版) 题型:选择题

关于温度、内能和热量,下列说法正确的是( )
A.物体内能增大,一定从外界吸收热量
B.汽油机在做功冲程中把机械能转化为内能
C.物体内能减少时,温度可能不变
D.锯条锯木板时,锯条的内能增加,木板的内能减少

查看答案和解析>>

科目: 来源:2012-2013学年江苏省苏州市常熟市九年级(上)期中物理试卷(解析版) 题型:选择题

水平桌面上的文具盒在水平方向的拉力作用下,沿拉力的方向移动一段距离.则下列判断正确的是( )
A.文具盒所受重力做了功
B.文具盒所受支持力做了功
C.文具盒所受拉力做了功
D.没有力对文具盒做功

查看答案和解析>>

同步练习册答案