相关习题
 0  77082  77090  77096  77100  77106  77108  77112  77118  77120  77126  77132  77136  77138  77142  77148  77150  77156  77160  77162  77166  77168  77172  77174  77176  77177  77178  77180  77181  77182  77184  77186  77190  77192  77196  77198  77202  77208  77210  77216  77220  77222  77226  77232  77238  77240  77246  77250  77252  77258  77262  77268  77276  235360 

科目: 来源:2012-2013学年青海省西宁市城西区湟川中学第二分校九年级(上)期中物理试卷(解析版) 题型:填空题

在“测量小石块的密度”的探究课上,某实验小组进行了如下实验探究活动.
(1)把天平放在水平桌面上,指针指在分度盘的中线处,如图甲所示,于是小丽同学直接使用天平进行测量.此时,同组同学马上阻止说:小丽的做法不对,不对之处是没有把游码向左移到标尺的   
(2)纠正错误后,发现天平横梁不平衡,指针向左偏,此时应向    (选填“左”或“右”)端调节平衡螺母,使指针指在中线处.
(3)接着把小石块放在天平左盘,当右盘中放人20g、5g砝码各一个时,天平横梁刚好平衡,则小石块的质量是    g.
(4)然后用一细绵线系住小石块,放人盛有水的量筒中,如图乙所示,然后取出小石块,此时量筒中水的体积是20ml,则小石块的体积为    cm3
(5)利用密度公式计算出小石块的密度是    ㎏/m3.该小组测算得的密度值    (选填“偏大”或“偏小”).

查看答案和解析>>

科目: 来源:2012-2013学年青海省西宁市城西区湟川中学第二分校九年级(上)期中物理试卷(解析版) 题型:解答题

古希腊学者亚里士多德曾给出这样一个结论-----物体的运动要靠力来维持.因为这个结论在地球上不能用实验来直接验证,直到一千多年后,才有伽利略等人对他的结论表示怀疑,并用实验来间接说明.这个实验如图,他是让小车从斜面的同一高度滑下,观察、比较小车沿不同的平面运动的情况.

问:(1)实验时让小车从斜面的同一高度滑下,其目的是让小车在粗糙程度不同的表面上开始运动时获得相同的______.
(2)一般人的思维都局限在直接比较小车在不同表面上运动的距离不同,但科学家们却能发现-------物体运动的表面越光滑,相同情况下物体受到的______就小,因此物体运动的距离越长;并由此推想出进一步的结论,运动的物体如果不受外力作用,它将______.著名的牛顿第一定律、也称______定律就是在此基础上总结出来的.这个定律因为是用______的方法得出,所以它______(填“是”或“不是”)用实验直接得出的.

查看答案和解析>>

科目: 来源:2012-2013学年青海省西宁市城西区湟川中学第二分校九年级(上)期中物理试卷(解析版) 题型:解答题

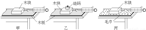
在探究“影响摩擦力大小的因素”实验中,同学们猜想摩擦力的大小可能与以下因素有关:
①接触面所受的压力;
②接触面的粗糙程度;
③接触面的材料;
④接触面的大小;
⑤物体间运动的快慢.
为此,小明通过如图所示的实验进行验证.

(1)实验中需用弹簧测力计拉着木块在水平桌面上做______运动.根据______条件可知,木块所受摩擦力的大小______弹簧测力计的示数.
(2)对比实验______是为了验证猜想①.
(3)对比实验甲和丙可以得出结论______.
(4)小明利用图甲实验装置验证猜想④,必须再把木块______放,并按正确的方法拉动木块,发现两次弹簧测力计的示数相等.从而得出滑动摩擦力的大小与接触面积的大小______(填“有关”或“无关”).

查看答案和解析>>

科目: 来源:2012-2013学年青海省西宁市城西区湟川中学第二分校九年级(上)期中物理试卷(解析版) 题型:解答题

一铁球的质量为158克,体积为30厘米3,判断它是空心还是实心?若是空心的,空心部分的体积是多少?若在其空心部分注满水银,求此球的总质量?(ρ=7.9×103kg/m3 ρ水银=13.6×103kg/m3

查看答案和解析>>

科目: 来源:2012-2013学年青海省西宁市城西区湟川中学第二分校九年级(上)期中物理试卷(解析版) 题型:解答题

“十一”假期,小明一家驾车外出旅游.一路上,所学的运动学知识帮助他解决了不少实际问题.
(1)经过某交通标志牌时,小明注意到了标志牌上的标识如图所示.小明想了想,马上就明白了这两个数据的含义:你明白这两个数据的含义吗?请在下面空白处写出来!
(2)若小明爸爸驾车通过这段路程用时30min,则汽车的速度为多少千米每小时?
在遵守交通规则的前提下,试计算从标志牌到上桥最快需要用几分钟?
(3)当汽车行至某高速公路入口处时,小明注意到这段高速公路全长180km,行驶速度要求为:最低限速60km/h,最高限速120km/h,小明看表此时正好是上午10:00,他很快算出并告诉爸爸要跑完这段路程,必须在哪一段时间内到达高速公路出口才不会违规,请你通过计算,说明小明告诉他爸爸的是哪一段时间?

查看答案和解析>>

科目: 来源:2010-2011学年辽宁省大连五十六中九年级(上)期中物理试卷(解析版) 题型:选择题

《龟兔赛跑》的寓言故事,说的是兔子瞧不起乌龟.它们同时从同一地点出发后,途中兔子睡了一觉,醒来时发现乌龟已到了终点.整个赛程中( )
A.兔子始终比乌龟跑得慢
B.乌龟始终比兔子跑得慢
C.比赛采用相同时间比路程的方法
D.比赛采用相同路程比时间的方法

查看答案和解析>>

科目: 来源:2010-2011学年辽宁省大连五十六中九年级(上)期中物理试卷(解析版) 题型:选择题

观察身边的物理现象--下列估测最接近实际的是( )
A.一个苹果的质量约为0.2kg
B.我们所用物理教材的宽度约为50cm
C.一同学正常步行时的速度可达到3m/s
D.课桌的高度约为1.5m

查看答案和解析>>

科目: 来源:2010-2011学年辽宁省大连五十六中九年级(上)期中物理试卷(解析版) 题型:选择题

关于密度的概念下列说法正确的是( )
A.同一种物质它的密度跟其质量成正比,跟其体积成反比
B.质量相等的两种物质,体积大的密度小
C.一种固体和一种液体,它们的质量相等,体积相等,则它们的密度也相等
D.质量相等的两种物质,密度大的体积也大

查看答案和解析>>

科目: 来源:2010-2011学年辽宁省大连五十六中九年级(上)期中物理试卷(解析版) 题型:选择题

下列现象中,不能用惯性知识来解释的是( )
A.跳远运动员的助跑速度越大,跳远成绩越好
B.用力将物体抛出去,物体最终要落到地面上
C.子弹离开枪口后仍能继续高速向前飞行
D.古代打仗时,使用绊马索能将敌方飞奔的马绊倒

查看答案和解析>>

科目: 来源:2010-2011学年辽宁省大连五十六中九年级(上)期中物理试卷(解析版) 题型:选择题

如图所示,人沿水平方向拉牛,但没有拉动.其中说法正确的是( )

A.绳拉牛的力小于牛拉绳的力
B.绳拉牛的力小于地面对牛的摩擦力
C.绳拉牛的力与牛拉绳的力是一对平衡力
D.绳拉牛的力与地面对牛的摩擦力是一对平衡力

查看答案和解析>>

同步练习册答案