相关习题
 0  78550  78558  78564  78568  78574  78576  78580  78586  78588  78594  78600  78604  78606  78610  78616  78618  78624  78628  78630  78634  78636  78640  78642  78644  78645  78646  78648  78649  78650  78652  78654  78658  78660  78664  78666  78670  78676  78678  78684  78688  78690  78694  78700  78706  78708  78714  78718  78720  78726  78730  78736  78744  235360 

科目: 来源:2012-2013学年江苏省扬州市九年级(上)期中物理试卷(解析版) 题型:选择题

下图电路图中与如图所示实验电路相对应的是( )

A.
B.
C.
D.

查看答案和解析>>

科目: 来源:2012-2013学年江苏省扬州市九年级(上)期中物理试卷(解析版) 题型:选择题

在如图所示的电路中,开关S闭合后,小灯泡L1L2均正常发光,则下列说法中正确的是( )

A.L1和L2串联在电路中
B.L1和L2并联在电路中
C.甲、乙都是电流表
D.甲是电压表,乙是电流表

查看答案和解析>>

科目: 来源:2012-2013学年江苏省扬州市九年级(上)期中物理试卷(解析版) 题型:选择题

如图所示的电路中,电源电压不变,闭合开关S后,灯L1、L2都发光.一段时间后,其中一灯突然熄灭,而电流表、电压表的示数都不变,则产生这一现象的原因是( )

A.灯L1短路
B.灯L2短路
C.灯L1断路
D.灯L2断路

查看答案和解析>>

科目: 来源:2012-2013学年江苏省扬州市九年级(上)期中物理试卷(解析版) 题型:填空题

冬天搓搓手可以使手暖和,这是用    的方式改变物体的内能;用热水袋也能使手暖和,这是    的方式改变物体的内能.

查看答案和解析>>

科目: 来源:2012-2013学年江苏省扬州市九年级(上)期中物理试卷(解析版) 题型:填空题

2011年3月11日,日本仙台以东海域发生大地震并引发海啸.海浪具有巨大的    能,致使褔岛核电站冷却系统受损,反应堆温度升高.用海水冷却反应堆是利用    方式来改变反应堆的内能.褔岛附近的空气中检测到核电站泄漏的放射性物质,说明分子是    的.

查看答案和解析>>

科目: 来源:2012-2013学年江苏省扬州市九年级(上)期中物理试卷(解析版) 题型:填空题

内燃机的一个工作循环有四个冲程,图中表示的是其中的    冲程.如果该机飞轮转速是1800 r/min,则它每秒钟内做功    次.

查看答案和解析>>

科目: 来源:2012-2013学年江苏省扬州市九年级(上)期中物理试卷(解析版) 题型:填空题

一个物体由A点自由下落时,相继经过B、C两点,如图所示,已知AB=BC,物体在AB段重力做功W1,功率P1;在BC段重力做功W2,功率P2,则W1    W2,P1    P2,(选填“大于”、“小于”或“等于”).

查看答案和解析>>

科目: 来源:2012-2013学年江苏省扬州市九年级(上)期中物理试卷(解析版) 题型:填空题

某同学分别用如图所示的(a)、(b)两种方法挑着同一个物体行走,(a)图中肩受到的压力    (b)图中受到的压力;(a)图中手施加的动力    (b)图中手施加的动力(选填“大于”、“等于”或“小于”).

查看答案和解析>>

科目: 来源:2012-2013学年江苏省扬州市九年级(上)期中物理试卷(解析版) 题型:填空题

如图所示的电路,当开关S闭合时,电流表A2    的电流(填:L1或L2),如电流表A1的示数为0.8A,电流表A2的示数为0.5A,则流过L1的电流为   

查看答案和解析>>

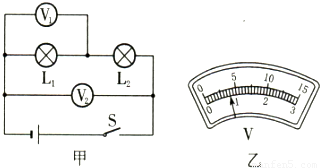
科目: 来源:2012-2013学年江苏省扬州市九年级(上)期中物理试卷(解析版) 题型:填空题

如图甲所示的电路,闭合开关后两灯都能发光,并且两块电压表的指针所指的位置如图乙所示,则L1两端的电压是    V,L2两端的电压是    V.

查看答案和解析>>

同步练习册答案