相关习题
0 79692 79700 79706 79710 79716 79718 79722 79728 79730 79736 79742 79746 79748 79752 79758 79760 79766 79770 79772 79776 79778 79782 79784 79786 79787 79788 79790 79791 79792 79794 79796 79800 79802 79806 79808 79812 79818 79820 79826 79830 79832 79836 79842 79848 79850 79856 79860 79862 79868 79872 79878 79886 235360
科目:
来源:2010-2011学年江苏省泰州市泰兴市西城中学九年级(上)物理同步练习(19)(解析版)
题型:填空题
通过一个电阻器的电流是0.4A,电阻器的电阻是90Ω,求它们两端的电压是 .
查看答案和解析>>
科目:
来源:2010-2011学年江苏省泰州市泰兴市西城中学九年级(上)物理同步练习(19)(解析版)
题型:解答题
一段导体两端的电压是2V时,导体中的电流是0.2A,如果电压增大到9V时,导体中的电流变为多大?
查看答案和解析>>
科目:
来源:2010-2011学年江苏省泰州市泰兴市西城中学九年级(上)物理同步练习(19)(解析版)
题型:填空题
一只电阻器两端的电压从3V增加到3.8V时,通过该电阻器的电流增加了0.2A,则该电阻是 .
查看答案和解析>>
科目:
来源:2010-2011学年江苏省泰州市泰兴市西城中学九年级(上)物理同步练习(19)(解析版)
题型:选择题
由欧姆定律

推得

,下列说法中正确的是( )
A.导体的电阻与导体两端电压成正比
B.导体的电阻与通过导体的电流成反比
C.导体的电阻是导体本身的属性,等于电压与电流的比值
D.以上说法都不对
查看答案和解析>>
科目:
来源:2010-2011学年江苏省泰州市泰兴市西城中学九年级(上)物理同步练习(19)(解析版)
题型:选择题
有甲、乙两个导体,当通过相同的电流时,甲两端的电压比乙两端的电压高,则两者的电阻相比( )
A.R甲>R乙
B.R甲=R乙
C.R甲<R乙
D.无法判定
查看答案和解析>>
科目:
来源:2010-2011学年江苏省泰州市泰兴市西城中学九年级(上)物理同步练习(19)(解析版)
题型:选择题
当导体两端电压为10V时,通过导体的电流为500mA,那么导体两端电压为2V时,导体的电阻是( )
A.0.004Ω
B.0.02Ω
C.4Ω
D.20Ω
查看答案和解析>>
科目:
来源:2010-2011学年江苏省泰州市泰兴市西城中学九年级(上)物理同步练习(19)(解析版)
题型:选择题

某同学在探究“电流跟电压、电阻的关系”时,根据收集到的数据画出了如图所示的一个图象.下列结论与图象相符的是( )
A.电阻一定时,电流随着电压的增大而增大
B.电阻一定时,电压随着电流的增大而增大
C.电压一定时,电流随着电阻的增大而减小
D.电压一定时,电阻随着电流的增大而减小
查看答案和解析>>
科目:
来源:2010-2011学年江苏省泰州市泰兴市西城中学九年级(上)物理同步练习(19)(解析版)
题型:解答题
我们利用下列器材研究电流跟电压、电阻之间的关系.

(1)按电路图(图1)用笔线连接电路(图2).
(2)在研究电流跟电压的关系时,应保持______不变,移动变阻器的滑片,改变电阻R两端的______,测出相应的______.在研究电流跟电阻的关系时,应保持______不变,改变______,测出相应的______.
(3)下面的表格是“研究电流跟电压、电阻关系”的实验数据记录:
表1 电阻R=15Ω
| 电压U(V) | 1.5 | 3 | 4.5 |
| 电流I(A) | 0.1 | 0.2 | 0.3 |
表2 电压U=2V
| 电阻R(Ω) | 5 | 10 | 20 |
| 电流I(A) | 0.4 | 0.2 | 0.1 |
分析表1数据,可得出结论______;
分析表2数据,可得出结论______.
查看答案和解析>>
科目:
来源:2010-2011学年江苏省泰州市泰兴市西城中学九年级(上)物理同步练习(19)(解析版)
题型:解答题
小明同学利用如图所示的电路,探究保持电压不变时,电流跟电阻的关系,得到的数据如下表.
| 电阻R/Ω | 5 | 6 | 10 | 15 | 20 | 30 |
| 电流I/A | 0.6 | 0.5 | 0.3 | 0.2 | 0.15 | 0.1 |
(1)分析表中的数据,可以得出的结论是:______.
(2)滑动变阻器R
′在此实验中的主要作用是:______.

查看答案和解析>>
科目:
来源:2010-2011学年江苏省泰州市泰兴市西城中学九年级(上)物理同步练习(19)(解析版)
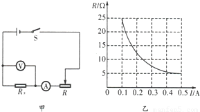
题型:填空题
利用如图甲所示电路,在研究通过导体的电流跟电阻的关系时,要保持导体两端电压不变.实验中,不断改变R
x的阻值,调节滑动变阻器使伏特表示数保持不变,得到了I与R的关系图象,如图乙所示.由图象可以得出的结论是
;此次实验中,伏特表的示数始终保持
V不变.

查看答案和解析>>