相关习题
0 80008 80016 80022 80026 80032 80034 80038 80044 80046 80052 80058 80062 80064 80068 80074 80076 80082 80086 80088 80092 80094 80098 80100 80102 80103 80104 80106 80107 80108 80110 80112 80116 80118 80122 80124 80128 80134 80136 80142 80146 80148 80152 80158 80164 80166 80172 80176 80178 80184 80188 80194 80202 235360
科目:
来源:2011-2012学年福建省福州市福清市西山学校九年级(上)月考物理试卷(解析版)
题型:填空题
在防范甲型H1N1流感疫情中,体温计发挥了重要作用.体温计是根据水银的
性质制成的,一支用过而没有甩过的体温计,读数停留在37.8℃,被误用来测量病人的体温.若病人实际体温是36.5℃,则体温计读数是
℃;图中体温计的示数是
℃,请写出一点有关体温计使用的注意事项:
.

查看答案和解析>>
科目:
来源:2011-2012学年福建省福州市福清市西山学校九年级(上)月考物理试卷(解析版)
题型:填空题
寒冷的冬天,“滴水成冰”是 现象,冰花是水蒸气 形成的;春天来了,大地回春,冰雪消融,这是 现象.
查看答案和解析>>
科目:
来源:2011-2012学年福建省福州市福清市西山学校九年级(上)月考物理试卷(解析版)
题型:填空题
街道上的路灯总是同时亮同时灭,它们是 联的,家庭里的各种用电器都是 联的,开关总是与被控制的用电器是 联的,短路时经过电路中电流很大,可能会烧坏 和 (填“电源﹑导线或用电器”).
查看答案和解析>>
科目:
来源:2011-2012学年福建省福州市福清市西山学校九年级(上)月考物理试卷(解析版)
题型:填空题
在西行的列车上,“我们新疆好地方,天山南北好牧场,戈壁沙滩变良田,积雪融化灌农庄…”欢快的歌声,把人们带到了美丽的新疆.
(1)天山上的冰雪是一个巨大的天然“水库”,冰雪熔化时的温度是 ℃,熔化过程中冰雪需要热量.
(2)天山雪水灌溉农田时,为了使水资源得到充分利用,常用管道代替沟渠输水,这样做的好处是可以减少输水过程中水的 和 ;
(3)新疆是远离大海的内陆地区,遇到干旱时节,当天空乌云密布时,人们用飞机把干冰(固态二氧化碳)撒向天空,实施人工降雨,这是通过干冰 为气体,而 热量来实现的.
查看答案和解析>>
科目:
来源:2011-2012学年福建省福州市福清市西山学校九年级(上)月考物理试卷(解析版)
题型:填空题
一些物体被摩擦后会带上 ,用丝绸摩擦过的玻璃棒所带的电荷为 电荷,用毛皮摩擦过的橡胶棒所带的电荷为 电荷.带电的物体 (填“能或不能”)吸引轻小物体.
查看答案和解析>>
科目:
来源:2011-2012学年福建省福州市福清市西山学校九年级(上)月考物理试卷(解析版)
题型:填空题
汽油的热值是4.6×107J/kg,现有汽油500g,若燃烧一半,则剩余汽油的热值是 J/kg.
查看答案和解析>>
科目:
来源:2011-2012学年福建省福州市福清市西山学校九年级(上)月考物理试卷(解析版)
题型:填空题
画出下列要求的电路元件符号:(1)电池 ;(2)电动机 ;(3)灯泡 .
查看答案和解析>>
科目:
来源:2011-2012学年福建省福州市福清市西山学校九年级(上)月考物理试卷(解析版)
题型:解答题
阅读下文,回答问题:
汽车作为曾经推动人类文明向前跃进的现代社会的产物,在给人类生活带来便捷舒适的同时,对自然生态环境的恶化,也有难以推卸的责任.据厦门市政府发布的“2008年厦门环境状况公报”称:厦门大气污染主要来源于工业污染和汽车尾气.99%的一氧化碳和一氧化氮的排放来源于汽车尾气,厦门市近几年来汽车拥有量的增长达20%,虽然空气质量居全国第四,但环保仍面临如汽车污染等问题的考验.
另据报道:将氢气应用于汽车发动机的技术已在我国研制成功;以酒精为燃料的汽车已在北京市、河南省便用;厦门市也有一部分汽车改用液化气作燃料.
(1)汽车尾气中的大气污染物有______.
(2)请提出对厦门市治理汽车污染的一条合理化建议:______.
(3)若实验用氢气汽车运行lKm,需要285.8×103J能量,让这辆车在厦门市环岛路上跑一圈 (约3OKm),需______g氢气.(已知每克氢气完全燃烧放出142.9×103J热量)
查看答案和解析>>
科目:
来源:2011-2012学年福建省福州市福清市西山学校九年级(上)月考物理试卷(解析版)
题型:解答题
在探究“影响蒸发快慢的因素”实验过程中,同学们作出了如下猜想:影响液体蒸发快慢的因素可能有:A.液体温度高低,B.液体的表面积,C.液面上气流的快慢,D.液体的种类.
(1)某同学设计了如下实验:取两只相同的烧杯,分别盛等重的酒精,把一杯放在烈日下,另一杯放在阴凉处,一段时间后观察比较两杯中酒精的多少.该同学设计这个实验的目的是为了验证猜想______(选填“A”、“B”、“C”或“D”).
(2)请你设计一个实验来验证猜想D.要求简要写出实验的方法.
查看答案和解析>>
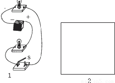
科目:
来源:2011-2012学年福建省福州市福清市西山学校九年级(上)月考物理试卷(解析版)
题型:解答题
根据如图所示的实物电路图画出与之对应的电路图.

查看答案和解析>>