相关习题
 0  80249  80257  80263  80267  80273  80275  80279  80285  80287  80293  80299  80303  80305  80309  80315  80317  80323  80327  80329  80333  80335  80339  80341  80343  80344  80345  80347  80348  80349  80351  80353  80357  80359  80363  80365  80369  80375  80377  80383  80387  80389  80393  80399  80405  80407  80413  80417  80419  80425  80429  80435  80443  235360 

科目: 来源:2011-2012学年重庆市渝中区巴蜀中学九年级(上)期末物理试卷(解析版) 题型:填空题

采葳同学家在1月1日和2月1 日两次观察家里的电能表,如下表所示,那么该同学家一月用电    度,他家本月应交电费   

查看答案和解析>>

科目: 来源:2011-2012学年重庆市渝中区巴蜀中学九年级(上)期末物理试卷(解析版) 题型:填空题

一个标着“220V,40W”的灯泡它正常发光时的电阻为    Ω,如果把它接入110V电路中,灯的实际功率为    w.(灯的电阻不变)

查看答案和解析>>

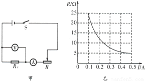
科目: 来源:2011-2012学年重庆市渝中区巴蜀中学九年级(上)期末物理试卷(解析版) 题型:填空题

利用如图甲所示电路,在研究通过导体的电流跟电阻的关系时,要保持导体两端电压不变.实验中,不断改变Rx的阻值,调节滑动变阻器使伏特表示数保持不变,得到了I与R的关系图象,如图乙所示.由图象可以得出的结论是    ;此次实验中,伏特表的示数始终保持    V不变.

查看答案和解析>>

科目: 来源:2011-2012学年重庆市渝中区巴蜀中学九年级(上)期末物理试卷(解析版) 题型:填空题

将“5Ω,2A”和“10Ω,1.2A”两电阻串联接入电路中时,电路的最大电压是    V;并联接入电路中时,电路的最大电流是    A.

查看答案和解析>>

科目: 来源:2011-2012学年重庆市渝中区巴蜀中学九年级(上)期末物理试卷(解析版) 题型:填空题

一只标有“2.5V  0.3A”的小电灯和滑动变阻器串联接在电压为6V的电源两端,调节滑动变阻器使小电灯两端电压为    V时,灯正常发光.此时灯1min消耗的电能为    J.

查看答案和解析>>

科目: 来源:2011-2012学年重庆市渝中区巴蜀中学九年级(上)期末物理试卷(解析版) 题型:填空题

如图所示,已知电源电压保持4.5V不变,电压表量程0~3V,滑动变阻器R的最大阻值20Ω,小灯泡L标有“2.5V  1.25W”的字样.闭合开关后,当小灯泡正常发光时,它的阻值为    Ω,滑动变阻器接入电路的阻值为    Ω.

查看答案和解析>>

科目: 来源:2011-2012学年重庆市渝中区巴蜀中学九年级(上)期末物理试卷(解析版) 题型:填空题

小红家买了一台电烤箱,有高、中、低三个档位的发热功率.如图是其内部简化电路图,开关S1可分别与触点a、b接触.已知:Rl=60.5Ω,R2=121Ω,电源电压保持不变.当开关S1置于b端,S2断开时,电烤箱处于    档位;电烤箱在中档位工作时,消耗的电功率是    W.

查看答案和解析>>

科目: 来源:2011-2012学年重庆市渝中区巴蜀中学九年级(上)期末物理试卷(解析版) 题型:填空题

如图所示,电源两端电压不变,电阻R1的阻值为4Ω.闭合开关S,当滑动变阻器的滑片P位于A点时,电压表V1的示数为4V,电压表V2的示数为10V.当滑动变阻器的滑片P位于B点时,电压表V1的示数为8V,电压表V2的示数为11V.则电源电压是    V,电阻R2的阻值是    Ω.

查看答案和解析>>

科目: 来源:2011-2012学年重庆市渝中区巴蜀中学九年级(上)期末物理试卷(解析版) 题型:解答题

完成下列填空:
(1)根据你对电流表的了解,如图1中电流表的正确读数是______A;
(2)如图2中电阻箱的示数是______Ω;
(3)如图3中电压表的示数为______V;
(4)如图4中要求滑片P向右端滑动时电阻增大的接法______(“A”或“B”);
(5)如图5中用测电笔辨别火线和零线的两种使用方法中,正确的是______(“甲”或“乙”);
(6)如图6,家庭电路中保险丝应接在______上(“火线”、“零线”)

查看答案和解析>>

科目: 来源:2011-2012学年重庆市渝中区巴蜀中学九年级(上)期末物理试卷(解析版) 题型:解答题

在“测量小灯泡工作时的电阻”实验中
(1)如图乙是张亮同学根据甲图尚未完成的实物图,请你用笔线代替导线帮他将电路图连接完整.

(2)连接电路时,应将开关______,经检查电路连接无误,闭合开关做实验前,应先将滑动变阻器连入电路的阻值调到______,目的是______.
(3)闭合开关S后发现电压表有示数,而电流表无示数,可能是以下原因的______造成的(填代号).
A.灯泡L短路;   B.灯泡L断路;   C.滑动变阻器某处开路;   D.开关S接触不良.
(4)故障排除后,张亮同学测出了四组数据,如下表所示,表中U、I、R分别表示灯泡的电压,电流和电阻,请你计算出四次实验对应的灯泡电阻并填入表中的空格内:
实验次数1234
U/V1.401.601.802.0
I/A0.450.470.490.50
R/Ω3.113.403.67
亮度暗→亮

查看答案和解析>>

同步练习册答案