相关习题
 0  80738  80746  80752  80756  80762  80764  80768  80774  80776  80782  80788  80792  80794  80798  80804  80806  80812  80816  80818  80822  80824  80828  80830  80832  80833  80834  80836  80837  80838  80840  80842  80846  80848  80852  80854  80858  80864  80866  80872  80876  80878  80882  80888  80894  80896  80902  80906  80908  80914  80918  80924  80932  235360 

科目: 来源:2011-2012学年江苏省泰州市姜堰市九年级(上)期中物理试卷(解析版) 题型:填空题

如图所示,a、b为竖直向上抛出的小石块在上升过程中动能和重力势能随高度变化的两条图线(不计空气阻力),其中    是动能-高度关系图线,小石块达到的最大高度为    m,小石块在最高点时的机械能为    J.

查看答案和解析>>

科目: 来源:2011-2012学年江苏省泰州市姜堰市九年级(上)期中物理试卷(解析版) 题型:填空题

如图所示是一把既能吹冷风,又能吹热风的电吹风的简化电路,图中A是吹风机,B是电热丝.将插头插入插座,若只闭合开关Sl,电吹风吹出的是    风;若将开关Sl、S2都闭合,电吹风吹出的是    风.(热/冷)

查看答案和解析>>

科目: 来源:2011-2012学年江苏省泰州市姜堰市九年级(上)期中物理试卷(解析版) 题型:填空题

如图所示,汽油机工作于    冲程,此冲程中能量的转化是    ;如果该机飞轮转速是1800r/min,则它每秒钟内对外做功    次,完成    个冲程.

查看答案和解析>>

科目: 来源:2011-2012学年江苏省泰州市姜堰市九年级(上)期中物理试卷(解析版) 题型:解答题

如图所示,灯L1与L2并联,电路中电流方向如箭头所示.试根据电流方向在图中的虚线方框中选填电池或开关的符号,使电路连接符合要求.

查看答案和解析>>

科目: 来源:2011-2012学年江苏省泰州市姜堰市九年级(上)期中物理试卷(解析版) 题型:解答题

在图中画出滑轮组最省力的绕线方式.

查看答案和解析>>

科目: 来源:2011-2012学年江苏省泰州市姜堰市九年级(上)期中物理试卷(解析版) 题型:解答题

如图所示,杠杆BA在力F1、F2的作用下处于静止状态,l2是F2的力臂,在图中画出F1的力臂和力F2

查看答案和解析>>

科目: 来源:2011-2012学年江苏省泰州市姜堰市九年级(上)期中物理试卷(解析版) 题型:解答题

随着人们生活水平的日益提高,小汽车越来越多地走进了百姓人家.一辆使用汽油为燃料的小汽车,以72km/h的速度在水平路面上匀速行驶时,发动机的实际功率为20kW.若小汽车行驶的距离为100km,汽油的热值q=4.6×107J/kg,小汽车发动机的效率为25%.求小汽车在这段路程中:
(1)运动的时间;
(2)发动机所做的功;
(3)消耗汽油的质量.

查看答案和解析>>

科目: 来源:2011-2012学年江苏省泰州市姜堰市九年级(上)期中物理试卷(解析版) 题型:解答题

某建筑工地用如图所示的简易滑轮组将重4000N的砖块运到离地4m高的砌墙处,已知每个滑轮重100N,滑轮摩擦和绳重以及动滑轮下的挂网重忽略不计.若提升砖块的工人作用于绳的拉力最大为500N,求:
(1)提升一次砖的最大重力;
(2)提升一次砖时滑轮组的最大机械效率;
(3)若全部完成提砖任务,工人利用此滑轮组至少做多少额外功.

查看答案和解析>>

科目: 来源:2011-2012学年江苏省泰州市姜堰市九年级(上)期中物理试卷(解析版) 题型:解答题

小华学习做饭的过程中,经常加热油和水,她猜想油的比热容比水小.
(1)能够支持她这一猜想的事实是______.
A.同样情况下,油升温比水快      B.油能把食物炸黄,而水不能
C.油能漂在水面上                D.油比水难蒸发
(2)为了验证猜想,小华向两个同样的烧杯里分别倒入______相同的水和油,并测量它们的初始温度.两温度计示数相同,如图所示,它们的初始温度为______℃.
(3)在同样条件下加热相同时间后,水的温度达到25℃,油的温度达到30℃,由此可得油的比热容为______J/[水的比热容为4.2×103 J/].

查看答案和解析>>

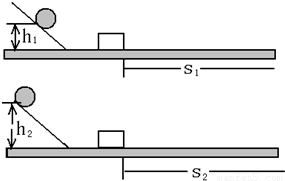
科目: 来源:2011-2012学年江苏省泰州市姜堰市九年级(上)期中物理试卷(解析版) 题型:解答题

探究“动能大小跟哪些因素有关”的实验中,由于影响物体(钢球)动能大小的因素不止一个,在探究过程中,按图6那样,用同一个钢球从不同高度滚下撞击木块,根据木块移动的距离来判断钢球动能的大小,这是为了保持球的______相同而研究球的动能跟______的关系,在物理学中,这种科学研究的方法叫做______法.

查看答案和解析>>

同步练习册答案