相关习题
0 81027 81035 81041 81045 81051 81053 81057 81063 81065 81071 81077 81081 81083 81087 81093 81095 81101 81105 81107 81111 81113 81117 81119 81121 81122 81123 81125 81126 81127 81129 81131 81135 81137 81141 81143 81147 81153 81155 81161 81165 81167 81171 81177 81183 81185 81191 81195 81197 81203 81207 81213 81221 235360
科目:
来源:2011-2012学年江苏省苏州市工业园区九年级(上)期末物理试卷(解析版)
题型:填空题
一台四冲程汽油机工作时曲轴转速是1800r/min,此汽油机每秒钟完成 个做功冲程,其中 冲程将机械能转化为内能.
查看答案和解析>>
科目:
来源:2011-2012学年江苏省苏州市工业园区九年级(上)期末物理试卷(解析版)
题型:填空题
一辆轿车在高速公路上以108km/h的速度匀速行驶了1min,发动机的功率始终保持72kW,在该过程中发动机做了 J的功,发动机牵引力的大小为 N.
查看答案和解析>>
科目:
来源:2011-2012学年江苏省苏州市工业园区九年级(上)期末物理试卷(解析版)
题型:填空题
当物体之间存在温度差时,会发生热传递,高温物体将一部分能量等量地转移到低温物体上,直到两物体的温度相等为止,此时称物体间达到了热平衡.现有质量、初温均相同的甲、乙两物体,将甲物体投入一杯热水中,达到热平衡时水温降低2℃;将甲取出,接着把乙物体投入这杯水中,再次达到热平衡后水温又降低2℃.则甲吸收的热量 乙吸收的热量,甲的比热容 乙的比热容(填“大于”、“等于”或“小于”).
查看答案和解析>>
科目:
来源:2011-2012学年江苏省苏州市工业园区九年级(上)期末物理试卷(解析版)
题型:填空题
实验室有甲、乙两只灯泡,甲灯泡标有“15V 0.6A”字样,乙灯泡标有“10V 1A”,字样.把它们串联起来,该串联电路两端允许加的最高总电压为 V;把它们并联起来,该并联电路允许流过的最大总电流为 A(不考虑温度对灯泡电阻的影响).
查看答案和解析>>
科目:
来源:2011-2012学年江苏省苏州市工业园区九年级(上)期末物理试卷(解析版)
题型:解答题
按照题目要求作图:
(1)如图甲所示为钓鱼竿钓鱼的示意图,O为支点,F
1表示手对钓鱼竿的作用力,F
2表示鱼线对钓鱼竿的拉力,请在图中画出力F
1、F
2的力臂l
1、l
2.如:
(2)请在图乙中画出使用滑轮组提升重物时的绕绳方法,并使拉力最小;
(3)如图丙所示,试在甲、乙两个“O”内选填表示电压表和电流表的符号“V”和“A”,使两灯组成并联电路.

查看答案和解析>>
科目:
来源:2011-2012学年江苏省苏州市工业园区九年级(上)期末物理试卷(解析版)
题型:解答题
小明在某次测定定值电阻R
x的阻值的实验中,使用了如图所示的实验器材.
(1)图中的电路连接未完整,请你用笔画线代替导线帮他完成电路的连接;
(2)为确保电路安全,在开关闭合前,应将变阻器滑片P滑至______端(选填“A”或“B”).

查看答案和解析>>
科目:
来源:2011-2012学年江苏省苏州市工业园区九年级(上)期末物理试卷(解析版)
题型:解答题
如图甲所示,手拉住绳子的一端,另一端系一重为10N的物体.在手由图甲所示位置顺时针缓慢移动到图乙所示位置的过程中物体始终处于静止状态,则该过程中拉力大小变化情况为______(填“变大”、“变小”或“不变”),绳对重物做功情况为______(填“做功”或“不做功”),在到达图乙位置后手拉住绳子自由端向左匀速移动0.5m,该过程中拉力做______J的功(绳重及摩擦不计).

查看答案和解析>>
科目:
来源:2011-2012学年江苏省苏州市工业园区九年级(上)期末物理试卷(解析版)
题型:解答题
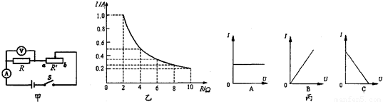
利用如图甲所示的电路,在研究电压一定时,通过导体的电流跟电阻的关系时,得到了I与R的关系图象,如图乙所示.

(1)由图象可得结论______;
(2)将R由原来的5Ω换成10Ω,紧接着的操作是______;
(3)仍用该电路探究电流与电压的关系,利用实验数据作出的I-U关系图线,与图丙中的______(选填“A”、“B”、“C”)最接近.
查看答案和解析>>
科目:
来源:2011-2012学年江苏省苏州市工业园区九年级(上)期末物理试卷(解析版)
题型:解答题
某太阳能热水器,向其中注入50kg水,阳光照射一段时间后,水温从10℃升高到50℃.水的比热容是4.2×103J/.试求:
(1)这段时间该热水器中的水吸收的热量;
(2)如果这段时间内热水器接收到太阳辐射的热量是2.8×107J,则该热水器的效率是多少?
(3)若用煤燃烧来提供2.8×107J的热量,需完全燃烧多少千克煤?(煤的热值约为3.5×107J/kg)
查看答案和解析>>
科目:
来源:2011-2012学年江苏省苏州市工业园区九年级(上)期末物理试卷(解析版)
题型:解答题
某人利用如图所示滑轮组从井中提水,在某次操作中,人在绳端所用拉力F=50N,在t=10s内将重为90N的水匀速提升6m.求这段时间内:
(1)人所做的有用功;
(2)拉力F做功的功率;
(3)此次操作中装置的机械效率. (摩擦和绳重不计)

查看答案和解析>>