相关习题
0 81896 81904 81910 81914 81920 81922 81926 81932 81934 81940 81946 81950 81952 81956 81962 81964 81970 81974 81976 81980 81982 81986 81988 81990 81991 81992 81994 81995 81996 81998 82000 82004 82006 82010 82012 82016 82022 82024 82030 82034 82036 82040 82046 82052 82054 82060 82064 82066 82072 82076 82082 82090 235360
科目:
来源:2010-2011学年江苏省扬州市九年级(上)期末物理模拟试卷(一)(解析版)
题型:填空题
撑杆跳高是一项技术性很强的体育运动,完整的过程可以简化成如图所示的三个阶段:持杆助跑、撑杆起跳上升、越杆下落.到达最高点的过程中是动能和
能转化为
能;下落过程中
能逐渐增加.

查看答案和解析>>
科目:
来源:2010-2011学年江苏省扬州市九年级(上)期末物理模拟试卷(一)(解析版)
题型:填空题
某照明灯额定电压是36V,正常发光时灯丝电阻为24Ω,则照明灯的额定电流是 A.如果电源电压是48V,为使照明灯正常发光,可以在电路中串联一个阻值为 Ω的电阻.
查看答案和解析>>
科目:
来源:2010-2011学年江苏省扬州市九年级(上)期末物理模拟试卷(一)(解析版)
题型:填空题
如图所示,斜面长5m,高1m,工人用沿斜面方向400N的力把重1600N的木箱匀速推到车上,推力对木箱做的功是
J,斜面的机械效率是
.

查看答案和解析>>
科目:
来源:2010-2011学年江苏省扬州市九年级(上)期末物理模拟试卷(一)(解析版)
题型:填空题
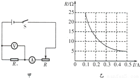
利用如图甲所示电路,在研究通过导体的电流跟电阻的关系时,要保持导体两端电压不变.实验中,不断改变R
x的阻值,调节滑动变阻器使伏特表示数保持不变,得到了I与R的关系图象,如图乙所示.由图象可以得出的结论是
;此次实验中,伏特表的示数始终保持
V不变.

查看答案和解析>>
科目:
来源:2010-2011学年江苏省扬州市九年级(上)期末物理模拟试卷(一)(解析版)
题型:填空题
2010年潍坊市学业水平体育测试立定跳远项目中,体重为500N的某同学从最高点到落地点的过程中,重心下降的最大距离为0.3m,用时0.5s,轨迹如图.则此过程重力做的功为
J,重力的功率为
W.

查看答案和解析>>
科目:
来源:2010-2011学年江苏省扬州市九年级(上)期末物理模拟试卷(一)(解析版)
题型:填空题
若一太阳能热水器内装100kg、温度为20℃的水,阳光照射一天后,水温升高到70℃,已知水的比热容为4.2×103J/,则热水器内的水吸收了 J 的太阳能;这是通过 的方式改变了水的内能.
查看答案和解析>>
科目:
来源:2010-2011学年江苏省扬州市九年级(上)期末物理模拟试卷(一)(解析版)
题型:填空题
如图所示,电源电压保持不变,,电压表示数为2V;开关S闭合时,电压表示数为6V,那么电阻R
1:R
2=
.

查看答案和解析>>
科目:
来源:2010-2011学年江苏省扬州市九年级(上)期末物理模拟试卷(一)(解析版)
题型:填空题
在探究杠杆平衡条件的实验时,实验前发现杠杆左端低,右端高,为使杠杆在水平位置平衡,应将平衡螺母向
(选填“左”或“右”)调节;实验时,在A点悬挂两个总重为1N的钩码,在B点用弹簧测力计竖直向下拉(如图所示),使杠杆在水平位置再次平衡,则拉力应为
N,此时杠杆属于
杠杆.

查看答案和解析>>
科目:
来源:2010-2011学年江苏省扬州市九年级(上)期末物理模拟试卷(一)(解析版)
题型:填空题
现在有“6V 3W”的L1和“12V 3W”的L2两只小灯泡串联后接在电路中使用时,通过两灯的电流之比I1:I2= ,两灯消耗的实际功率之比P1:P2= ,为了使电路能安全使用,电路两端允许加的最大电压为 V.
查看答案和解析>>
科目:
来源:2010-2011学年江苏省扬州市九年级(上)期末物理模拟试卷(一)(解析版)
题型:填空题
20W高效节能灯的亮度相当于100W的白炽灯.一户居民家中的4只100W的白炽灯均换用该节能灯,若平均每天使用5小时,30天可以节电 度,可节约电费 元.
查看答案和解析>>