相关习题
 0  80099  80107  80113  80117  80123  80125  80129  80135  80137  80143  80149  80153  80155  80159  80165  80167  80173  80177  80179  80183  80185  80189  80191  80193  80194  80195  80197  80198  80199  80201  80203  80207  80209  80213  80215  80219  80225  80227  80233  80237  80239  80243  80249  80255  80257  80263  80267  80269  80275  80279  80285  80293  266669 

科目: 来源:2012-2013学年贵州省黔西南州册亨一中高三(上)8月月考数学试卷(文科)(解析版) 题型:选择题

若向量=(x-1,2),=(4,y)相互垂直,则9x+3y的最小值为( )
A.12
B.
C.
D.6

查看答案和解析>>

科目: 来源:2012-2013学年贵州省黔西南州册亨一中高三(上)8月月考数学试卷(文科)(解析版) 题型:选择题

对于函数f(x)=lg|x-2|+1,有下三个命题:
①f(x+2)是偶函数;
②f(x)在区间(-∞,2)上是减函数,在区间(2,+∞)上是增函数;
③f(x+2)-f(x)在区间(2,+∞)上是增函数.
其中正确命题的序号是( )
A.①②
B.①③
C.②③
D.①②③

查看答案和解析>>

科目: 来源:2012-2013学年贵州省黔西南州册亨一中高三(上)8月月考数学试卷(文科)(解析版) 题型:选择题

函数y=tanx+sinx-|tanx-sinx|在区间内的图象是( )
A.
B.
C.
D.

查看答案和解析>>

科目: 来源:2012-2013学年贵州省黔西南州册亨一中高三(上)8月月考数学试卷(文科)(解析版) 题型:选择题

对于函数f(x),若存在区间M=[a,b],(a<b),使得{y|y=f(x),x∈M}=M,则称区间M为函数f(x)的一个“稳定区间”现有四个函数:
①f(x)=ex②f(x)=x3④f(x)=lnx,其中存在“稳定区间”的函数有( )
A.①②
B.②③
C.③④
D.②④

查看答案和解析>>

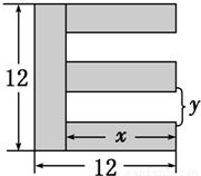
科目: 来源:2012-2013学年贵州省黔西南州册亨一中高三(上)8月月考数学试卷(文科)(解析版) 题型:选择题

一张正方形的纸片,剪去两个一样的小矩形得到一个“E”形图案,如图所示,设小矩形的长、宽分别为x、y,剪去部分的面积为20,若2≤x≤10,记y=f(x),则y=f(x)的图象是( )

A.
B.
C.
D.

查看答案和解析>>

科目: 来源:2012-2013学年贵州省黔西南州册亨一中高三(上)8月月考数学试卷(文科)(解析版) 题型:选择题

设函数f(x)是定义在R上的以5为周期的奇函数,若,则a的取值范围是( )
A.(-∞,-2)∪(0,3)
B.(-2,0)∪(3,+∞)
C.(-∞,-2)∪(0,+∞)
D.(-∞,0)∪(3,+∞)

查看答案和解析>>

科目: 来源:2012-2013学年贵州省黔西南州册亨一中高三(上)8月月考数学试卷(文科)(解析版) 题型:填空题

设a,b∈R,集合{1,a+b,a}={0,,b},则的值是   

查看答案和解析>>

科目: 来源:2012-2013学年贵州省黔西南州册亨一中高三(上)8月月考数学试卷(文科)(解析版) 题型:填空题

已知f(x)=x2,g(x)=2x-m,若对?x1∈[-1,3],?x2∈[0,2],f(x1)≥g(x2),则实数m的取值范围是   

查看答案和解析>>

科目: 来源:2012-2013学年贵州省黔西南州册亨一中高三(上)8月月考数学试卷(文科)(解析版) 题型:填空题

已知函数f(x)=log2x,则f(f(4))=   

查看答案和解析>>

科目: 来源:2012-2013学年贵州省黔西南州册亨一中高三(上)8月月考数学试卷(文科)(解析版) 题型:填空题

函数f(x)=的值域为[0,+∞),则实数a的取值范围是   

查看答案和解析>>

同步练习册答案