相关习题
0 81456 81464 81470 81474 81480 81482 81486 81492 81494 81500 81506 81510 81512 81516 81522 81524 81530 81534 81536 81540 81542 81546 81548 81550 81551 81552 81554 81555 81556 81558 81560 81564 81566 81570 81572 81576 81582 81584 81590 81594 81596 81600 81606 81612 81614 81620 81624 81626 81632 81636 81642 81650 266669
科目:
来源:2012-2013学年辽宁省丹东市宽甸二中高三(上)期末数学试卷(解析版)
题型:填空题
已知函数f(x)=2mx2-(8-2m)x+1,g(x)=mx,对?x∈R,f(x)与g(x)的值至少有一个为正数,则m的取值范围是 .
查看答案和解析>>
科目:
来源:2012-2013学年辽宁省丹东市宽甸二中高三(上)期末数学试卷(解析版)
题型:解答题
已知函数

(a,b为常数)且方程f(x)-x+12=0有两个实根为x
1=3,x
2=4.
(1)求函数f(x)的解析式;
(2)设k>1,解关于x的不等式;

.
查看答案和解析>>
科目:
来源:2012-2013学年辽宁省丹东市宽甸二中高三(上)期末数学试卷(解析版)
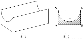
题型:解答题
图1是某种称为“凹槽”的机械部件的示意图,图2是凹槽的横截面(阴影部分)示意图,其中四边形ABCD是矩形,弧CmD是半圆,凹槽的横截面的周长为4.已知凹槽的强度与横截面的面积成正比,比例系数为

,设AB=2x,BC=y.

(1)写出y关于x函数表达式,并指出x的取值范围;
(2)求当x取何值时,凹槽的强度最大.
查看答案和解析>>
科目:
来源:2012-2013学年辽宁省丹东市宽甸二中高三(上)期末数学试卷(解析版)
题型:解答题
设t≠0,点P(t,0)是函数f(x)=x3+ax与g(x)=bx2+c的图象的一个公共点,两函数的图象在点P处有相同的切线.
(Ⅰ)用t表示a,b,c;
(Ⅱ)若函数y=f(x)-g(x)在(-1,3)上单调递减,求t的取值范围.
查看答案和解析>>
科目:
来源:2012-2013学年辽宁省丹东市宽甸二中高三(上)期末数学试卷(解析版)
题型:解答题
设函数f(x)=x
2+bln(x+1).
(I)若对定义域内的任意x,都有f(x)≥f(1)成立,求实数b的值;
(II)若函数f(x)的定义域上是单调函数,求实数b的取值范围;
(III)若b=-1,证明对任意的正整数n,不等式

成立.
查看答案和解析>>
科目:
来源:2012-2013学年辽宁省丹东市宽甸二中高三(上)期末数学试卷(解析版)
题型:解答题
已知函数y=f(x)=-x
3+ax
2+b(a,b∈R)
(Ⅰ)若函数y=f(x)的图象切x轴于点(2,0),求a、b的值;
(Ⅱ)设函数y=f(x) (x∈(0,1))的图象上任意一点的切线斜率为k,试求|k|≤1的充要条件;
(Ⅲ)若函数y=f(x)的图象上任意不同的两点的连线的斜率小于1,求证|a|<

.
查看答案和解析>>
科目:
来源:2012-2013学年辽宁省丹东市宽甸二中高三(上)期末数学试卷(解析版)
题型:解答题
设函数

(x>0),其中[x]表示不超过x的最大整数,如[2]=2,

=0,[1.8]=1.
(1)求

的值;
(2)若在区间[2,3)上存在x,使得f(x)≤k成立,求实数k的取值范围.
查看答案和解析>>
科目:
来源:2012-2013学年辽宁省丹东市宽甸二中高三(上)期末数学试卷(解析版)
题型:解答题

如图,⊙O内切于△ABC的边于D,E,F,AB=AC,连接AD交⊙O于点H,直线HF交BC的延长线于点G.
(1)求证:圆心O在直线AD上.
(2)求证:点C是线段GD的中点.
查看答案和解析>>
科目:
来源:2012-2013学年辽宁省丹东市宽甸二中高三(上)期末数学试卷(解析版)
题型:解答题
设函数f(x)=|2x-2|+|x+3|.
(1)解不等式f(x)>6;
(2)若关于x的不等式f(x)≤|2a-1|的解集不是空集,试求a的取值范围.
查看答案和解析>>
科目:
来源:2012-2013学年辽宁省丹东市宽甸二中高三(上)期末数学试卷(解析版)
题型:解答题
在直角坐标系xOy中,以O为极点,x正半轴为极轴建立极坐标系,曲线C的极坐标方程为ρcos(

)=1,M,N分别为C与x轴,y轴的交点.
(1)写出C的直角坐标方程,并求M,N的极坐标;
(2)设MN的中点为P,求直线OP的极坐标方程.
查看答案和解析>>