相关习题
0 81549 81557 81563 81567 81573 81575 81579 81585 81587 81593 81599 81603 81605 81609 81615 81617 81623 81627 81629 81633 81635 81639 81641 81643 81644 81645 81647 81648 81649 81651 81653 81657 81659 81663 81665 81669 81675 81677 81683 81687 81689 81693 81699 81705 81707 81713 81717 81719 81725 81729 81735 81743 266669
科目:
来源:2012-2013学年福建省厦门外国语学校高三(上)第四次段考数学试卷(理科)(解析版)
题型:填空题
若函数f(x)=sinωx+

cosωx(x∈R,ω>0)满足f(α)=-2,f(β)=0,且|α-β|的最小值为

,则函数f(x)的单调增区间为
.
查看答案和解析>>
科目:
来源:2012-2013学年福建省厦门外国语学校高三(上)第四次段考数学试卷(理科)(解析版)
题型:填空题
若函数f(x)=x4-ax3+x2-2有且仅有一个极值点,求实数a的取值范围 .
查看答案和解析>>
科目:
来源:2012-2013学年福建省厦门外国语学校高三(上)第四次段考数学试卷(理科)(解析版)
题型:填空题
若f(n)为n2+1(n∈N*)的各位数字之和,如142+1=197,1+9+7=17,则f(14)=17,记f1(n)=f(n),f2(n)=f〔f1(n)〕,…,fk+1(n)=f〔fk(n)〕,k∈N*,则f2012(8)= .
查看答案和解析>>
科目:
来源:2012-2013学年福建省厦门外国语学校高三(上)第四次段考数学试卷(理科)(解析版)
题型:填空题
如图,已知六棱锥P-ABCDEF的底面是正六边形,PA⊥平面ABC.则下列结论不正确的序号是
.
①CD∥平面PAF
②DF⊥平面PAF
③CF∥平面PAB
④CF⊥平面PAD.

查看答案和解析>>
科目:
来源:2012-2013学年福建省厦门外国语学校高三(上)第四次段考数学试卷(理科)(解析版)
题型:解答题
已知数列{ a
n}的前n项和为S
n,a
1=1,S
n+1=4a
n+1,设b
n=a
n+1-2a
n.
(Ⅰ)证明数列{b
n}是等比数列;
(Ⅱ)数列{c
n}满足

(n∈N
*),设T
n=c
1c
2+c
2c
3+c
3c
4+,…+c
nc
n+1,求证,对一切n∈N
*不等式

恒成立.
查看答案和解析>>
科目:
来源:2012-2013学年福建省厦门外国语学校高三(上)第四次段考数学试卷(理科)(解析版)
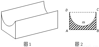
题型:解答题
图1是某种称为“凹槽”的机械部件的示意图,图2是凹槽的横截面(阴影部分)示意图,其中四边形ABCD是矩形,弧CmD是半圆,凹槽的横截面的周长为4.已知凹槽的强度与横截面的面积成正比,比例系数为

,设AB=2x,BC=y.

(1)写出y关于x函数表达式,并指出x的取值范围;
(2)求当x取何值时,凹槽的强度最大.
查看答案和解析>>
科目:
来源:2012-2013学年福建省厦门外国语学校高三(上)第四次段考数学试卷(理科)(解析版)
题型:解答题
如图所示,在三棱锥P-ABC中,

,平面PAC⊥平面ABC,PD⊥AC于点D,AD=1,CD=3,

.
(1)证明△PBC为直角三角形;
(2)求直线AP与平面PBC所成角的正弦值.

查看答案和解析>>
科目:
来源:2012-2013学年福建省厦门外国语学校高三(上)第四次段考数学试卷(理科)(解析版)
题型:解答题
已知O为平面直角坐标系的原点,过点M(-2,0)的直线l与圆x
2+y
2=1交于P,Q两点.
(I)若

,求直线l的方程;
(Ⅱ)若△OMP与△OPQ的面积相等,求直线l的斜率.
查看答案和解析>>
科目:
来源:2012-2013学年福建省厦门外国语学校高三(上)第四次段考数学试卷(理科)(解析版)
题型:解答题
已知函数f(x)=ax+lnx,其中a为常数,设e为自然对数的底数.
(1)当a=-1时,求f(x)的最大值;
(2)若f(x)在区间(0,e]上的最大值为-3,求a的值;
(3)当a=-1时,试推断方程|f(x)|=

是否有实数解.
查看答案和解析>>
科目:
来源:2012-2013学年福建省厦门外国语学校高三(上)第四次段考数学试卷(理科)(解析版)
题型:解答题
(选修4-2 矩阵与变换)
变换T是将平面上每个点M(x,y)的横坐标乘2,纵坐标乘4,变到点M'(2x,4y).
(Ⅰ)求变换T的矩阵;
(Ⅱ)圆C:x2+y2=1在变换T的作用下变成了什么图形?
查看答案和解析>>