相关习题
0 82807 82815 82821 82825 82831 82833 82837 82843 82845 82851 82857 82861 82863 82867 82873 82875 82881 82885 82887 82891 82893 82897 82899 82901 82902 82903 82905 82906 82907 82909 82911 82915 82917 82921 82923 82927 82933 82935 82941 82945 82947 82951 82957 82963 82965 82971 82975 82977 82983 82987 82993 83001 266669
科目:
来源:2012-2013学年北京市海淀区北方交大附中高三数学假期作业检测(理科)(解析版)
题型:解答题
已知命题p:{x|-2≤x≤10},命题q:{x|1-m≤x≤1+m,m>0}.若¬p是¬q的必要不充分条件,求实数m的取值范围.
查看答案和解析>>
科目:
来源:2012-2013学年北京市海淀区北方交大附中高三数学假期作业检测(理科)(解析版)
题型:解答题
已知函数f(x)=sin(2x+

)+sin(2x-

)+2cos
2x-1,x∈R.
(1)求函数f(x)的最小正周期;
(2)求函数f(x)在区间[

]上的最大值和最小值.
查看答案和解析>>
科目:
来源:2012-2013学年北京市海淀区北方交大附中高三数学假期作业检测(理科)(解析版)
题型:解答题
已知集合A={x|x2-2x-3≤0,x∈R},B={x|x2-2mx+m2-4≤0,x∈R,m∈R}.
(1)若A∩B=[0,3],求实数m的值;
(2)若A⊆∁RB,求实数m的取值范围.
查看答案和解析>>
科目:
来源:2012-2013学年北京市海淀区北方交大附中高三数学假期作业检测(理科)(解析版)
题型:解答题
在△ABC中,内角A,B,C对边的边长分别是a,b,c.已知

.
(1)若△ABC的面积等于

,求a,b;
(2)若sinC+sin(B-A)=2sin2A,求△ABC的面积.
查看答案和解析>>
科目:
来源:2012-2013学年北京市海淀区北方交大附中高三数学假期作业检测(理科)(解析版)
题型:解答题
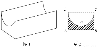
图1是某种称为“凹槽”的机械部件的示意图,图2是凹槽的横截面(阴影部分)示意图,其中四边形ABCD是矩形,弧CmD是半圆,凹槽的横截面的周长为4.已知凹槽的强度与横截面的面积成正比,比例系数为

,设AB=2x,BC=y.

(1)写出y关于x函数表达式,并指出x的取值范围;
(2)求当x取何值时,凹槽的强度最大.
查看答案和解析>>
科目:
来源:2012-2013学年北京市海淀区北方交大附中高三数学假期作业检测(理科)(解析版)
题型:解答题
已知二次函数y=g(x)的导函数的图象与直线y=2x平行,且y=g(x)在x=-1处取得极小值m-1(m≠0).设

.
(1)若曲线y=f(x)上的点P到点Q(0,2)的距离的最小值为

,求m的值;
(2)k(k∈R)如何取值时,函数y=f(x)-kx存在零点,并求出零点.
查看答案和解析>>
科目:
来源:2012-2013学年黑龙江省哈尔滨九中高二(上)期末数学试卷(文科)(解析版)
题型:选择题
“ab>0”是“方程ax2+by2=1表示椭圆”的( )
A.充分不必要条件
B.必要不充分条件
C.充要条件
D.既不充分也不必要条件
查看答案和解析>>
科目:
来源:2012-2013学年黑龙江省哈尔滨九中高二(上)期末数学试卷(文科)(解析版)
题型:选择题
为了了解某校1503名高二学生的学业负担情况,从中抽取一个容量为50的样本,现在用系统抽样的方法,需要从总体中剔除3个个体,在整个抽样过程中,每个个体被剔除的可能性和每个个体被抽取的可能性分别是( )
A.

B.

C.

D.

查看答案和解析>>
科目:
来源:2012-2013学年黑龙江省哈尔滨九中高二(上)期末数学试卷(文科)(解析版)
题型:选择题
椭圆

的焦距为2,则m的值为( )
A.5
B.3
C.3或5
D.6
查看答案和解析>>
科目:
来源:2012-2013学年黑龙江省哈尔滨九中高二(上)期末数学试卷(文科)(解析版)
题型:选择题
命题p:存在实数m,使方程x2+mx+1=0有实数根,则“非p”形式的命题是( )
A.存在实数m,使方程x2+mx+1=0没有实数根
B.不存在实数m,使方程x2+mx+1=0没有实数根
C.对任意实数m,使方程x2+mx+1=0没有实数根
D.至多有一个实数m,使方程x2+mx+1=0没有实数根
查看答案和解析>>