21. 如图所示.A B C是光滑轨道.其中BC部分是半径为R的竖直放置的半圆.一质量为M的小木块放在轨道水平部分.木块被水平飞来的质量为m的子弹射中.并滞留在木块中.若被击中的木块沿轨道能滑到最高点C.已知木块对C点的压力大小为(M + m)g.求: (1) 木块在C点时的速度, (2) 子弹射入木块前瞬间速度的大小. 查看更多

 

题目列表(包括答案和解析)

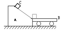
如图所示,A为一具有光滑曲面的固定轨道,轨道底端是水平的,质量M=30kg的小车B静止于轨道右侧,其板面与轨道底端靠近且在同一水平面上,一个质量m=20kg的物体C以3.0m/s的初速度从轨道顶滑下,冲上小车B后经一段时间与小车相对静止并继续一起运动.若轨道顶端与底端水平面的高度差h为0.80m,物体与小车板面间的动摩擦因数μ为0.40,小车与水平面间的摩擦忽略不计,(取g=10m/s2),求:
(1)物体与小车保持相对静止时的速度;
(2)物体冲上小车后相对于小车板面滑动的距离.

查看答案和解析>>

如图所示,A为一具有光滑曲面的固定轨道,轨道底端是水平的,质量M=40kg小车B静止于轨道右侧,其板面与轨道底端靠近且在同一水平面上,一个质量m=20kg的物体C以2.0m/s的初速度从轨道顶滑下,冲上小车B后经一段时间与小车相对静止并继续一起运动.若轨道顶端与底端水平面的高度差h为0.8m,物体与小车板面间的动摩擦因数μ为0.40,小车与水平面间的摩擦忽略不计,(取g=10m/s2)求:
(1)从物体冲上小车到与小车相对静止所用的时间;
(2)物体冲上小车后相对于小车板面滑动的距离.

查看答案和解析>>

精英家教网如图所示,A为一具有光滑曲面的固定轨道,轨道底端是水平的,质量M=40kg的小车B静止于轨道右侧,其板面与轨道底端靠近且在同一水平面上,一个质量m=20kg的物体C以2.0m/s的初速度从轨道顶滑下,冲上小车B后经一段时间与小车相对静止并继续一起运动.若轨道顶端与底端水平面的高度差h为0.80m,物体与小车板面间的动摩擦因数μ为0.40,小车与水平面间的摩擦忽略不计,(取g=10m/s2),求:
(1)物体与小车保持相对静止时的速度;
(2)物体冲上小车后相对于小车板面滑动的距离.

查看答案和解析>>

如图所示,A为一具有光滑曲面的固定轨道,轨道底端是水平的,质量M=40kg的小车B静止于轨道右侧,其板面与轨道底端靠近且在同一水平面上,一个质量m=20kg的物体C以2.0m/s的初速度从轨道顶滑下,冲上小车B后经一段时间与小车相对静止并继续一起运动。若轨道顶端与底端水平面的高度差h为0.80m,物体与小车板面间的动摩擦因数μ为0.40,小车与水平面间的摩擦忽略不计,(取g=10m/s2),求:

(1)物体与小车保持相对静止时的速度;

(2)从物体冲上小车到与小车相对静止所用的时间;

(3)物体冲上小车后相对于小车板面滑动的距离。

查看答案和解析>>

如图所示,A为一带有光滑斜面的固定轨道,轨道底端是水平的,质量M=18kg小车B静止于轨道右侧,其板面与轨道底端靠近且在同一水平面上,一个质量m=2.0kg的物体C由静止从轨道顶滑下,经过斜面与平面接触时没有能量损失,冲上小车B后经一段时间与小车相对静止并继续一起运动。若轨道顶端与底端水平面的高度差为0.8m,物体与小车板面间的动摩擦因数为0.40,小车与水平面间的摩擦忽略不计,(取g="10" m·s-)求:

(1)物体C下滑到斜面底端时的速度。物体滑上小车后与小车保持相对静止时的速度;从物体冲上小车到与小车相对静止所用的时间;

查看答案和解析>>


同步练习册答案