题目列表(包括答案和解析)

 0  121437  121445  121451  121455  121461  121463  121467  121473  121475  121481  121487  121491  121493  121497  121503  121505  121511  121515  121517  121521  121523  121527  121529  121531  121532  121533  121535  121536  121537  121539  121541  121545  121547  121551  121553  121557  121563  121565  121571  121575  121577  121581  121587  121593  121595  121601  121605  121607  121613  121617  121623  121631  447348 

20.下列物质中属于天然高分子化合物的是         

A.蛋白质       B.蔗糖       C.油脂       D.麦芽糖

试题详情

19.现代光纤通信是以光作为信息的载体,让光在光导纤维中传播。制造光导纤维的基本

原料是               

A.硅         B.铜         C.二氧化硅     D.纤维素

试题详情

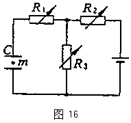
18.一平行板电容器C,极板是水平放置的,它和三个可变

电阻及电源连接成如图16所示的电路。今有一质量为m

的带电油滴悬浮在两极板之间静止不动,要使油滴上升,

可采用办法是

A.增大R1    

B.增大R2

C.增大R3    

D.减小R1

试题详情

17.在阴极射线管中电子流方向由左向右,其下方置一根通有

如图9所示方向电流的直导线,导线与阴极射线管平行,则

阴极射线将

A.向上偏转     B.向下偏转

C.向纸里偏转    D.向纸外偏转

试题详情

16.演示位移传感器的工作原理如右8图示,物体M在

导轨上平移时,带动滑动变阻器的金属滑杆p,通过

电压表显示的数据,来反映物体位移的大小x。假设

电压表是理想的,则下列说法正确的是       

   A.物体M运动时,电源内的电流会发生变化

   B.物体M运动时,电压表的示数会发生变化

   C.物体M不动时,电路中没有电流

   D.物体M不动时,电压表没有示数

试题详情

15.如图7所示,虚线是静电场中的三个等势面,它们的电势分别为,

>>,一带正电的粒子射入电场中,其运动

轨迹如实线KLMN所示,由图可知

A.粒子从K到M的过程中,电场力做负功

B.粒子从L到M的过程中,电场力做负功

C.粒子从K到L的过程中,速度增加

D.粒子从L到M的过程中,动能减少

试题详情

14.根据电容的定义式C=可知

A.电容器的电容越大,电容器所带的电量就越多

B.电容器两极板间的电势差越大,电容越小

C.电容器的电容与其带电量成正比,与其两极板间的电势差成反比

D.电容器的电容不随带电量及两极板间的电势差的变化而变化

试题详情

13.真空中有两个点电荷,它们之间的静电力为F,如果保持它们所带的电量不变,将它们之间的距离增大到原来的3倍,它们之间作用力的大小等于

A.F         B.3F         C.F/3        D.F/9

试题详情

12.如图5所示,质量为m的小球在竖直平面内的圆形轨道的

内侧运动,经过最高点而不脱离轨道的临界速度是v,当小球

以3v的速度经过最高点时,对轨道的压力大小是           

A.0               

B.8mg    

C.9mg           

D.10mg

试题详情

11.设两人造地球卫星的质量比为1:2,到地球球心的距离比为1:3,则它们的

A.周期比为1:3              B.线速度比为  3:1

C.向心加速度比为9:1           D.向心力之比为3:1

试题详情


同步练习册答案