题目列表(包括答案和解析)

 0  121945  121953  121959  121963  121969  121971  121975  121981  121983  121989  121995  121999  122001  122005  122011  122013  122019  122023  122025  122029  122031  122035  122037  122039  122040  122041  122043  122044  122045  122047  122049  122053  122055  122059  122061  122065  122071  122073  122079  122083  122085  122089  122095  122101  122103  122109  122113  122115  122121  122125  122131  122139  447348 

28.(16分)以下是某些主族元素的半径和化合价:

元素
N
O
F
P
X
Y
原子半径(nm)
0.075
0.074
0.071
0.110
r(X)
r(Y)
最高(低)化合价
-3  +5
-2
-1
-3
-2  +6
-1  +7

  (1)若0.110>r(x)>0.074,则X元素为     (填元素符号,下同),若r(Y)为0.114nm,且通常情况下Y单质为液体,则Y元素为        

  (2)比较稳定性:HF   HY(填“>”“<”);比较稳定性;若毒性有PH3>NH3,,H2S>H2O,则CY4   CF4;(填“>”或“<”)

  (3)已知XO2具有漂白性,Z与X同周期、与Y同主族,Z单质的水溶液也具有漂白性,将等物质的量的XO2和Z2通入水中,该溶液    (填“具有”,或“不具有”)漂白性;若反应后所得溶液与400mL1mol/LNaOH溶液恰好完全反应,则XO2的物质的量为     ;Z元素与上表中的P元素形成的一种化合物,化合物中所有原子都满足8电子稳定结构,该化合物的化学式是     ;此化合物分子的空间构型为      

试题详情

27.(10分)在火箭推进器中装入均为液态的强还原剂肼(N2H4)和强氧化剂过氧化氢,当它们混合时,即产生大量的氮气和水蒸气,并放出大量的热。已知0.4mol肼与足量的过氧化氢反应,生成氮气和水蒸气,放出256.60kJ的热量。

  (1)写出肼和过氧化氢的结构式。肼:     ,过氧化氢:     

  (2)写出1mol肼与过氧化氢反应的热化学方程式:             

  (3)已知H2O(液)=H2O(气);△H=+44kJ/mol;则16g肼与足量液态过氧化氢反应生成氮气和液态水时,放出的热量是     kJ。

  (4)该火箭推进剂,除释放大量热和快速产生大量气体外,还有一个优点是     

试题详情

26.(20分)A、B、C三种元素的原子具有相同的电子层数。已知B的核电荷数比A多2个,C原子核内的质子数比B多4个;1mol单质A跟酸完全反应,能置换出1gH2,这时A转化为具有与Ne相同的电子层结构的离子,根据上述条件,回答:

  (1)元素A、B、C的元素符号:A    、B     、C    

  (2)A、B元素的最高价氧化物对应水化物的化学式分别为        ;A、B元素的最高价氧化物对应水化物相互发生化学反应的离子方程式是       

  (3)A、B离子的电子数相同,而C简单离子的电子数与A、B离子不同。试写出:

     ①与A、B离子电子数相同的分子、离子的化学式各一个:         

②与C简单离子的电子数相同的有机物的结构简式两个:         

试题详情

25.(22分)抛体运动在各类体育运动项目中很常见,如乒乓球运动。现讨论乒乓球发球问题,设球台长2L、网高h,乒乓球反弹前后水平分速度不变,竖直分速度大小不变、方向相反,且不考虑乒乓球的旋转和空气阻力。(设重力加速度为g)

  (1)若球在球台边缘O点正上方高度为h1处以速度v1水平发出,落在球台的P1点(如图实线所示),求P1点距O点的距离x1

  (2)若球在O点正上方以速度v2水平发出,恰好在最高点时越过球网落在球台的P2点(如图虚线所示),求v2的大小。

  (3)若球在O点正止方水平发出后,球经后弹恰好越过球网且刚好落在对方球台边缘P3处,求发球点距O点的高度h。

   

试题详情

24.(18分)某兴趣小组设计了如图所示的玩具轨道,其中“2008”,四个等高数字用内壁光滑的薄壁细圆管弯成,固定在竖直平面内(所有数字均由圆或半圆组成,圆半径比细管的内径大得多),底端与水平地面相切。弹射装置将一个小物体(可视为质点)以va=5m/s的水平初速度由a点弹出,从b点进入轨道,依次经过“8002”后从P点水平抛出。小物体与地面ab段间的动摩擦因数μ=0.3,不计其它机械能损失。已知ab段长L=1.5m,数字“0”的半径R=0.2m,小物体质量m=0.01kg,g=10m/s2。求:

  (1)小物体从p点抛出后的水平射程。

  (2)小物体经过数字“0”的最高点时管道对小物体作用力的大小和方向。

   

试题详情

23.(15分)A、B两辆汽车在笔直的公路上同向行驶。当B车在A车前84m处时,B车速度为4m/s,且正以2m/s2的加速度做匀加速运动;经过一段时间后,B车加速度突然变为零。A车一直以20m/s的速度做匀速运动。经过12s后两车相遇。问B车加速行驶的时间是多少?

试题详情

22.(17分)

I、某同学和你一起探究弹力和弹簧伸长的关系,并测弹簧的劲度系数k。做法是先将待测弹簧的一端固定在铁架台上,然后将最小刻度是毫米的刻度尺竖直放在弹簧一侧,并使弹簧另一端的指针恰好落在刻度尺上。当弹簧自然下垂时,指针指示的刻度数值记作L0,弹簧下端挂一个50g的砝码时,指针指示的刻度数值记作L1;弹簧下端挂两个50g的砝码时,指针指示的刻度数值记作L2,……,挂七个50g的砝码时,指针指示的刻度数值记作L7

①下表记录的是该同学已测出的6个值,其中有两个数值在记录时有误,它们的代表符号分别是          

测量记录表:

代表符号
L0
L1
L2
L3
L4
L5
L6
L7
刻度数值/cm
1.70
3.40
5.10
 
8.60
10.3
12.1
 

 

②实验中,L3和L7两个值还没有测定,请你根据上图将这两个测量值填入记录表中。

③为充分利用测量数据,该同学将所测得的数值按如下方法逐一求差,分别计算出了三个差值:d1=L4-L0=6.90cm,d2=L5-L1=6.90cm,d3=L6-L2=7.00cm。

请你给出第四个差值:dA=     =     cm。

④根据以上差值,可以求出每增加50g砝码的弹簧平均伸长量△L。△L用d1、d2、d3、d4表示的式子为:△L=             ,代入数据解得△L=     cm。

⑤计算弹簧的劲度系数k=     N/m。(g取9.8m/s2)

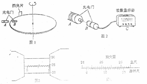
II、一水平放置的圆盘绕过其圆心的竖直轴匀速转动。盘边缘上固定一竖直的挡光片。盘转动时挡光片从一光电数字计时器的光电门的狭缝中经过,如图1所示。图2为光电数字计时器的示意图。光源A中射出的光可照到B中的接收器上。若A、B间的光路被遮断,显示器C上可显示出光线被遮住的时间。

   

挡光片的宽度用螺旋测微器测得,结果如图3所示。圆盘直径用游标卡尺测得,结果如图4所示。由图可知:

  (1)挡光片的宽度为      mm。

  (2)圆盘的直径为      cm。

  (3)若光电数字计时器所显示的时间为50.0ms,则圆盘转动的角速度为     r/秒(保留3位有效数字)

试题详情

21.据媒体报道,嫦娥一号卫星环月工作轨道为圆轨道,轨道高度200km,运行周期127分钟。若还知道引力常量和月球平均半径,仅利用以上条件能求出的是    (   )

    A.月球表面的重力加速度            B.月球对卫星的吸引力

    C.卫星绕月球运行的速度            D.月球的质量

20081013
 
第Ⅱ卷(非选择题,共174分)

试题详情

19.如图所示,固定的锥形漏斗内壁是光滑的,内壁上有

两个质量相等的小球A和B,在各自不同的水平面内

做匀速圆周运动,以下说法正确的是    (   )

    A.线速度vA>vB

    B.角速度ωAB

    C.向心加速度aA>aB

    D.压力NA>NB

  20.如图所示是“嫦娥一号奔月”示意图,卫星发射后通过自带的小型火箭多次变轨,进入地月转移轨道,最终被月球引力捕获,成为绕月卫星,并开展对月球的探测。下列说法正确的是                    (   )

    A.发射“嫦娥一号”的速度必须达到

第三宇宙速度

    B.在绕月圆轨道上,卫星的周期与卫

星质量有关

    C.卫星受月球的引力与它到月球中心

距离的平方成反比

    D.在绕月圆轨道上,卫星受地球的引

力大于受月球的引力

试题详情

18.一个静止的质点,在0~4s时间内受到力F的作用,

力的方向始终在同一直线上,力F随时间t的变

化如图所示,则质点在        (   )

    A.第2s末速度改变方向

    B.第2s末位移改变方向

      C.第4s末回到原出发点

    D.第4s末运动速度为零

试题详情


同步练习册答案