题目列表(包括答案和解析)

 0  123739  123747  123753  123757  123763  123765  123769  123775  123777  123783  123789  123793  123795  123799  123805  123807  123813  123817  123819  123823  123825  123829  123831  123833  123834  123835  123837  123838  123839  123841  123843  123847  123849  123853  123855  123859  123865  123867  123873  123877  123879  123883  123889  123895  123897  123903  123907  123909  123915  123919  123925  123933  447348 

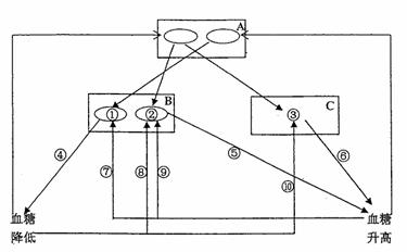
27.(14分)血糖的平衡对于保证人体各种组织和器官的能量供应,保持人体的健康有着非常重要的意义。请据图回答:

(1)写出A~C组织器官名称:

   A        ;B        ;C        

(2)写出④⑤⑥激素的名称:

   ④        ;⑤       ;⑥        

(3)②所分泌的物质与③所分泌的物质在功能上的关系为       作用。

(4)如用(+)表示促进,(-)表示抑制,则⑦⑧⑨⑩应分别表示为(   )

A.+-++   B.++――   C.――++   D.++-+

(5)当血糖浓度下降时,试据图说明通过反馈调节使血糖浓度升高的主要途径:

                             

试题详情

26.(16分)下面甲、乙两图为两个季节(春季某晴天、夏季某晴天)的一昼夜中,某种农作物对二氧化碳的吸收和释放状况示意图。请据图回答问题:

(1)甲图中的C点和E点处,植株的生理活动状态是      

(2)根据甲图推测该植物一天中接受光照的时间是曲线中的    段,其中光合作用强度最大的是      时,植株积累有机物最多的是    

       时。

(3)乙图中F-G段CO2吸收量逐渐减少的原因是         ,使该反应过程产生的     逐渐减少,进而影响了CO2的固定。

(4)乙图曲线中E处光合作用暂时降低,最可能的原因是        

(5)若乙图中D、F时间所产生的葡萄糖总量相等,则B、D、F三点的呼吸强度的比较结果是             

试题详情

25.下列关于生物学实验的描述,正确的是

A.将在蔗糖溶液中已经发生质壁分离的洋葱表皮细胞转到更高浓度的蔗糖溶液中,则发生质壁分离的复原

B.“用高倍显微镜观察叶绿体和线粒体”实验中,叶绿体和线粒体都不需要染色

C.“探究酵母菌种群数量的变化”实验中,用培养液培养酵母菌

D.将双缩脲试剂加入到蛋清稀释液中,溶液变成紫色

试题详情

24.部分神经元之间的联系如右图所示,分别在甲、乙两处提供适宜刺激,引起肌肉收缩的情况是

A.刺激甲,只有I、Ⅱ收缩  B.刺激乙,只有Ⅲ、Ⅳ收缩[来源:]

C.刺激甲,I-Ⅳ都收缩   D.刺激乙,I-Ⅳ都收缩

试题详情

23.已知常温下反应①、②、③的平衡常数关系为  K1> K3> K2,据此所做的以下推测合理的是

①NH3+H+NH4+ (平衡常数为K1) ②Ag++Cl-AgCl(平衡常数为K2)

③Ag++2NH3Ag(NH3)2+(平衡常数为K3)

A.氯化银可溶于氨水         B.银氨溶液中加入少量氯化钠有白色沉淀

C.银氨溶液中加入盐酸有白色沉淀   D.银氨溶液可在酸性条件下稳定存在

试题详情

22.“鸟巢”被评为2008年世界最具影响力的十大建筑之一。合金钢Q460是支撑“鸟巢”的铁骨钢盘,除含有铁元素外,还含有Mn(锰)、Ti(钛)、Cr(铬)、Nb(铌)等元素。下列有关说法错误的是

    A.铁位于元素周期表的第四周期第Ⅷ族

    B.TiO2TiO2TiO2互为同位素

    C.Nb3+原子核内有51个中子,核外有41个电子

    D.黑色金属材料通常包括铁、铬、锰以及它们的合金

试题详情

21. 如下图所示,两虚线之间的空间内存在着正交或平行的匀强电场E和匀强磁场B,有一个带正电小球(电量为+q,质量为m)从正交或平行的电磁混合场上方的某一高度自由落下,那么,带电小球可能沿直线通过下列的哪个电磁混合场

试题详情

20. 如图甲所示,一物块在t=0时刻,以初速度v0从足够长的斜面底端向上滑行,物块速度随时间变化的图象如图乙所示,t0时刻物块到达最高点,3t0时刻物块又返回底端.若重力加速度为g,则由以上数据可以求出  

A.物块返回底端时的速度

 B.物块所受的摩擦力大小

C.斜面的倾角θ

D.3t0时间内物块克服摩擦力所做的功

试题详情

19. 边长为h的正方形金属导线框,从如图所示的位置由静止开始下落,通过一匀强磁场区域,磁场方向水平,且垂直于线框平面,磁场区域宽度为H,上、下边界如图中虚线所示,H>h,从线框开始下落到完全穿过磁场区域的全过程中

 A.线框中总有感应电流存在

 B.线框受到的合力方向不一定总是向下

 C.线框运动方向始终是向下的

   D.线框速度的大小总是在增加

试题详情

18. 如图所示,虚线为某点电荷电场的等势面,现有两个比荷相同的带电粒子(不计重力)以相同的速率从同一等势面的a点进入电场后沿不同的轨迹1和2运动,图中abcde是粒子轨迹与各等势面的交点,则可判断  

     A.两个粒子的电性相同

     B.经过bd两点时,两粒子的速率相同

     C.经过bd两点时,两粒子的加速度大小相同[来源:]

   D.经过ce两点时,两粒子的速率相同

试题详情


同步练习册答案