题目列表(包括答案和解析)

 0  157676  157684  157690  157694  157700  157702  157706  157712  157714  157720  157726  157730  157732  157736  157742  157744  157750  157754  157756  157760  157762  157766  157768  157770  157771  157772  157774  157775  157776  157778  157780  157784  157786  157790  157792  157796  157802  157804  157810  157814  157816  157820  157826  157832  157834  157840  157844  157846  157852  157856  157862  157870  447348 

14、  (2分)  (2分)

试题详情

13、解析:由E=mc2=所以m=km0

由m===k

=c。

答案:k  c

试题详情

11.、ABC(3分)   12、匀速直线运动(2分)、5m/s(2分)

试题详情

19、(10分)如图所示,ABC是一条由一个半圆和一段斜面组成的光滑轨道,半圆轨道与轨道BC在同一竖直平面内,A、B两点在同一竖直线上,且已知半圆半径为R。今在水平地面上某一点P处抛出一个小球,使它恰好从A点相切进入轨道(此过程不相碰),在B点处无能量损失,最后沿斜面上升到高度为H处。试求小球抛出点P点离B点的距离,抛射速度Vp以及抛射角的余弦值(不计空气阻力)。

城固一中2009级高一第二学期期末考试

物理(理科)试题参考答案和评分标准

试题详情

18、(10分)特种兵过山谷的一种方法可简化为图示情景,将一根长为2d的不可伸长的细绳两端固定在相距为d的A、B两等高点,绳上挂一小滑轮P,战士们相互配合,沿着绳子滑到对面,如图所示,战士甲水平拉住滑轮,质量为m的战士乙吊在滑轮上,脚离地,处于静止状态,此时AP竖直,然后战士甲将滑轮从静止状态释放,若不计滑轮摩擦及空气阻力,也不计绳与滑轮的质量,求:

(1)战士甲释放前对滑轮的水平拉力F:

(2)战士乙滑动过程中的最大速率。(可用根号表示)

试题详情

17、(10分)假设某星体是一个半径为R的均匀球体,已知星体的自转周期为T,在两极地表面自由落体加速度为g´。求:

(1)用弹簧秤在星球表面“两极”与“赤道”不同地点测同一物体的“重量”之比。

(2)设想星体自转角速度加快到某一值时,在赤道上的物体会恰好自动飘起来,则此时角速度为多少?

试题详情

16、(8分)羚羊从静止开始奔跑,经过50m能加速到最大速度25m/s,并能维持一段较长的时间,猎豹从静止开始奔跑,经过60m的距离能加速到最大速度30 m/s,以后只能维持此速度4.0s,设猎豹距离羚羊xm时开始攻击,羚羊则在猎豹开始攻击后1.0s才开始奔跑,假定羚羊和猎豹在加速阶段分别做匀加速运动,且均沿同一直线奔跑,求:猎豹要在最大速度减速前追到羚羊,x值应在什么范围?

试题详情

15.(7分)如图所示,质量不同的两个物体AB,用跨过定滑轮的细绳相连.开始时B放在水平桌面上,A离地面有一定的高度,从静止开始释放让它们运动,在运动过程中B始终碰不到滑轮,A着地后不反弹.不计滑轮与轴间摩擦及绳子和滑轮的质量,用此装置可测出B物体与水平桌面间的动摩擦因数μ

(1)在本实验中需要用到的测量工具是          ;需要测量的物理量是                ;(写出物理量的名称并用字母表示)

(2)动摩擦因数μ的表达式为μ=           

试题详情

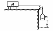
14.(4分)如图所示,把小车放在光滑的水平桌面上,用轻绳跨过定滑轮使之与盛有沙子的小桶相连,已知小车的质量为M,小桶与沙子的总质量为m,把小车从静止状态释放后,在小桶下落竖直高度为h的过程中,若不计滑轮及空气的阻力,则绳拉车的力    ,小桶下落h高度时小车获得的动能为      

试题详情

13、(4分)设宇宙射线粒子的能量是其静止能量的k倍。则粒子运动时的质量等于其静止质量的________倍,粒子运动速度是光速的_____  _  倍。

试题详情


同步练习册答案