题目列表(包括答案和解析)

 0  158556  158564  158570  158574  158580  158582  158586  158592  158594  158600  158606  158610  158612  158616  158622  158624  158630  158634  158636  158640  158642  158646  158648  158650  158651  158652  158654  158655  158656  158658  158660  158664  158666  158670  158672  158676  158682  158684  158690  158694  158696  158700  158706  158712  158714  158720  158724  158726  158732  158736  158742  158750  447348 

19、用如图所示的装置可以测量汽车在水平路面上做匀加速直线运动的加速度.该装置是在矩形箱子的前、后壁上各安装一个由力敏电阻组成的压力传感器.用两根相同的轻弹簧夹着一个质量为2.0 kg的滑块,滑块可无摩擦滑动,两弹簧的另一端分别压在传感器a、b上,其压力大小可直接从传感器的液晶显示屏上读出.现将装置沿运动方向固定在汽车上,传感器b在前,传感器a在后.汽车静止时,传感器a、b的示数均为10 N.(取g=10 m/s2)。

(1)若传感器a的示数为14 N、b的示数为6.0 N,求此时汽车的加速度大小和方向.

(2)当汽车怎样运动时,可以使传感器a的示数为零?

试题详情

18、某同学设计了一个研究平抛运动的实验装置,如图。在水平桌面上放置一个斜面,让钢球从斜面上由静止滚下,钢球滚过桌边后便做平抛运动。在钢球抛出后经过的地方放置一块水平木板,木板由支架固定成水平,木板所在高度可通过竖直标尺读出,木板可以上下自由调节。在木板上固定一张白纸。该同学在完成装置安装后进行了如下步骤的实验:

A.实验前在白纸上画一条直线,并在线上标出abc三点,且ab=bc,如图。量出ab长度L=20.00cm。

B.让钢球从斜面上的某一位置由静止滚下,调节木板高度,使得钢球正好击中a点,记下此时木板与桌面的高度差h1=h

C.让钢球从斜面上的同一位置由静止滚下,调节木板高度,使得钢球正好击中b点,记下此时木板与桌面的高度差h2= h +10.00(cm)。

D.让钢球从斜面上的同一位置由静止滚下,调节木板高度,使得钢球正好击中c点,记下此时木板与桌面的高度差h3= h +30.00(cm)。

则该同学由上述测量结果即可粗测出钢球的平抛初速度大小vo=     m/s,钢球击中b点时其竖直分速度大小为vby=      m/s。已知钢球的重力加速度为g=10m/s2,空气阻力不计。

试题详情

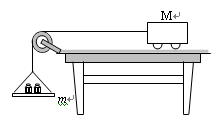
17、在探究“加速度与力、质量的关系”实验中,采用如图所示的实验装置,小车及车中砝码的质量用M表示,盘及盘中砝码的质量用m表示,小车的加速度可由小车后拖动的纸带由打点计时器打上的点计算出。

①当Mm的大小关系满足       时,才可以认为绳对小车的拉力大小等于盘中砝码的重力。

②在验证牛顿第二定律的实验中,下列做法正确的是(     )

A、平衡摩擦力时,不能将砂和砂桶系在小车上,也不能在小车后面系纸带

B、平衡摩擦力时,应不系砂桶,要接通打点计时器,让它在纸带上打下一系列点

C、实验时先放开小车, 再接通打点计时器电源.

D、小车运动的加速度可用天平测出M及m后直接用公式a=mg/M求出.

③某同学在研究加速度与力关系时,保持小车质量不变,改变砂和砂桶质量,该同学根据实验数据作出了加速度a随合力F的变化图线如图所示。该图线不通过原点,其主要原因是                        

④在研究小车的加速度a和拉力F的关系时,由于没有始终满足M 》m的关系,结果应是下图中的图(    ).

试题详情

16、物体以v0的速度水平抛出,当其竖直分位移与水平分位移大小相等时,下列说法中正确的是

A、竖直分速度与水平分速度大小相等

B、瞬时速度的大小为

C、运动时间为

D、运动位移的大小为

物理二卷(只交此卷)

试题详情

15、叠放在一起的A、B两物块,在水平力F的作用下沿水平面匀速直线运动。现突然将原作用在B上的力F改为作用在A上,并保持大小、方向均不变,则紧接着物块A和B有可能做什么运动?

A.一起匀速      B. 一起加速 

C.A加速,B减速  D.A加速,B匀速

试题详情

14、细绳拴一个质量为m的小球,小球用固定在墙上的水平弹簧支撑,小球与弹簧不粘连,平衡时细绳与竖直方向的夹角为53°,如图所示.(已知cos 53°=0.6,sin 53°=0.8)以下说法正确的是                         

A.小球静止时弹簧的弹力大小为mg

B.小球静止时细绳的拉力大小为mg

C.细线烧断瞬间小球的加速度立即为g

D.细线烧断瞬间小球的加速度立即为g

试题详情

13、直升机悬停在空中向地面投放装有救灾物资的箱子,如图所示。设投放初速度为零。箱子所受的空气阻力与箱子下落速度的平方成正比,且运动过程中箱子始终保持图示姿态。在箱子下落过程中.下列说法正确的是

A.在达到稳定速度前箱内物体处于失重状态

B.箱子刚从飞机上投下时,箱内物体受到的支持力最大

C.箱子接近地面时,箱内物体受到的支持力比刚投下时大

D.若下落距离足够长,箱内物体有可能飘起来,处于完全失重状态。

试题详情

12、一个单摆悬挂在小车上,随小车沿着斜面滑下,图中的虚线①与斜面垂直,虚线②沿斜面方向,实线③沿竖直方向。则可判断出

A.如果斜面光滑,摆线与②重合

B.如果斜面光滑,摆线与①重合

C.如果斜面粗糙但摩擦力小于下滑力,摆线位于②与③之间

D.如果斜面粗糙但摩擦力大于下滑力,摆线位于②与③之间

试题详情

11、在“探究加速度与力和质量的关系”的实验中,下列说法中正确的是

A.本实验中探究加速度与力和质量的关系,采用了控制变量法

B. 在研究小车加速度与合外力的关系时,要不断改变研究对象小车的质量

C. 平衡摩擦力的目的是为了让小车受到的合外力可以用绳子拉力来替代

D.在用图象处理数据寻找加速度与质量的关系时,应以加速度为纵坐标,质量的倒数为横坐标

试题详情

10、物体A、B静止在同一水平面上,它们的质量分别为mAmB,与水平面间的动摩擦因数分别为μAμB 。用水平拉力F分别拉物体A和B,测得加速度a与拉力F的关系如图A、B图线所示,则 

A.μA=μBmAmB  

B.μAμBmA=mB 

C.μA=μBmAmB  

D.μAμBmA=mB

试题详情


同步练习册答案