题目列表(包括答案和解析)

 0  162682  162690  162696  162700  162706  162708  162712  162718  162720  162726  162732  162736  162738  162742  162748  162750  162756  162760  162762  162766  162768  162772  162774  162776  162777  162778  162780  162781  162782  162784  162786  162790  162792  162796  162798  162802  162808  162810  162816  162820  162822  162826  162832  162838  162840  162846  162850  162852  162858  162862  162868  162876  447348 

18.两根金属导轨平行放置在倾角为θ =300的斜面上,导轨左端接有电阻R=10Ω,导轨自身电阻忽略不计. 匀强磁场垂直于斜面向上,磁感强度B=0.5T. 质量为m=0.1kg ,电阻可不计的金属棒ab静止释放,沿导轨下滑. 如图所示,设导轨足够长,导轨宽度L=2m,金属棒ab下滑过程中始终与导轨接触良好,当金属棒下滑h=3m时,速度恰好达到最大速度v=2m/s,试求此过程:(g=10m/s2)

(1)通过导体棒的电量q

(2)刚开始时的加速度a

(3)电阻R上产生的热量Q; 

试题详情

17.如右图所示,磁感应强度为特的匀强磁场,其方向垂直纸面向里。CD为垂直于磁场的平面内的两点,它们之间的距离米。有一电子在磁场中运动,它经过C点时的速度与磁场垂直且和CD之间的夹角为。(已知电子质量为kg,电量为C)

求:(1)电子在C点所受的磁场力的方向如何?

    (2)若电子在运动过程中还经过D点,则它的速率应是多少?

    (3)电子由CD所经过的时间是多少?

试题详情

16. 光滑M形导轨竖直放置在垂直于纸面向里的匀强磁场中,已知导轨宽L=0.5m,磁感应强度B=0.2T.有阻值为0.5Ω、质量m=3g的导体棒AB紧挨导轨,沿着导轨由静止开始下落,如图所示,设串联在导轨中的电阻R阻值为1.5Ω,其他部分的电阻及接触电阻均不计.问:

(1)导体棒AB在下落过程中,产生的感应电流方向和AB棒受到的磁场力的方向.

(2)求导体棒AB最后所能达到的速度是多少?

试题详情

15.一节电动势约为9V,内阻约为2Ω的电池,允许通过的电流是 500mA。为了精确测定该电池的电动势和内阻,选用了总阻值为50Ω的滑动变阻器以及电流表和电压表,连成了如下图所示的电路。

①为了防止误将滑动变阻器的电阻调为零而损坏器材,要在电路中接入一个定值电阻R,适合的电阻是      (填字母代号)

(A)10Ω 、5W   (B)10Ω 、0.5W    (C)20Ω、 5W   (D)20Ω 、0.5W

②电路连好后,由于电路中有一处发生故障,闭合电键K时电压表有示数而电流表没有示数.断开导线1的B端,将其分别接到CDEF各点时,发现电压表的示数都接近9V,而接到GHJ各点时,发现电压表的示数都为零。可能出现的故障是      。 (填字母代号)

(A)定值电阻R断路                     (B)滑动变阻器滑片P接触不良

(C)滑动变阻器E F间电阻丝断路          (D)电流表断路

③在其它器材不变的情况下,再取一个上述规格的电池,与原来的电池串联组成电池组,要求测量这个电池组的电动势E和内阻r,且操作无误。

Ⅰ.在下边方框中画出实验电路原理图。

Ⅱ.实验中,当电流表读数为I1时,电压表的读数为U1,当电流表读数为I2时,电压表的读数为U2。则可求出

E =    r =     .

(用I1U1I2U2R表示)

试题详情

14.一量程为300μA的电流表,内阻为100Ω,表盘刻度均匀,现串联一个9900Ω的电阻将它改装成电压表,则该电压表的量程是

      V,用它来测量电压时,表盘指针位置如图所示,此时电压表的示数为      V,

试题详情

13.如图所示,螺旋测微器的示数为    mm;游标卡尺的示数为    cm。

 

试题详情

12.如图3所示,R1和R2的规格为“4W、100Ω”,R3的规格为“1W、100Ω”,当A、B端加电源通电时,这部分电路允许消耗的最大功率为(  )

图3

A.9W/8  B.1.5W  C.3W  D.9W

试题详情

11.   如图所示,在x≤0的区域内存在匀强磁场,磁场的方向垂直于

xy平面(纸面)向里。具有一定电阻的矩形线框abcd位于xy

平面内,线框的ab边与y轴重合。令线框从t=0的时刻起由静

止开始沿x轴正方向做匀加速运动,则线框中的感应电流I(取

逆时针方向的电流为正)随时间t的变化图线I-t图可能是下

  图中的哪一个?(    )

试题详情

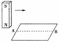
10.如图,粗糙水平桌面上有一质量为m的铜质矩形线圈.当一竖直放置的条形磁铁从线圈中线AB正上方等高快速经过时,若线圈始终不动,则关于线圈受到的支持力FN及在水平方向运动趋势的正确判断是

A.FN先小于mg后大于mg,运动趋势向左

B.FN先大于mg后小于mg,运动趋势向左

C.FN先大于mg后大于mg,运动趋势向右

DFN先大于mg后小于mg,运动趋势向右

试题详情

9.用同一回旋加速器分别对质子(H)和氘核(H)进行加速,当它们都从D形盒边缘离开加速器时,质子与氘核获得的动能之比为  (   )

A.2:1     B.1:1   C.4:1     D.1:2

试题详情


同步练习册答案