题目列表(包括答案和解析)

 0  167788  167796  167802  167806  167812  167814  167818  167824  167826  167832  167838  167842  167844  167848  167854  167856  167862  167866  167868  167872  167874  167878  167880  167882  167883  167884  167886  167887  167888  167890  167892  167896  167898  167902  167904  167908  167914  167916  167922  167926  167928  167932  167938  167944  167946  167952  167956  167958  167964  167968  167974  167982  447348 

16.(13分)如图1-8所示,在一个足够大的铅板A的右表面贴一放射源P。P可以向各个方向释放出β粒子,设速度大小,在A板右边相距d=2cm处放一平行于A的金属板B,使A带负电、B带正电后,板间形成场强大小为的匀强电场,试求β粒子打在B板上的范围。(β粒子的质量,电量)

试题详情

15.(12分)在某星球上,宇航员用弹簧秤称得质量m的砝码重为F,乘宇宙飞船在靠近该星球表面空间飞行,测得其环绕周期是T,根据上述数据,试求该星球的质量。

试题详情

14.(8分)(1)在用单摆测定重力加速度的实验中,用毫米刻度尺测量摆线的长,情况如图1-7甲所示,用游标卡尺测量摆球直径,卡尺游标位置如图1-7乙所示,可知摆球直径是__________cm,单摆摆长是__________m。

 (2)利用单摆周期公式测定重力加速度时,测出不同摆长L时相应周期值T,做图线,照所做的图线所示,与L的关系式=__________,利用图线上任两点A、B的坐标,可求出图线的斜率k=__________,再由k可求出g=__________。

试题详情

13.(6分)如图1-6所示,一列简谐横波沿x轴传播,在t=0时,波形图如实线所示,t=0.1s时的波形图如虚线所示,则此波波长为__________m。若周期大于0.1s,且波速为30m/s,则波的传播方向是__________,t=0.1s时,在x轴上x=3m的质点振动方向__________。

试题详情

12.(5分)如图1-5所示的电路中,电阻的阻值都是1Ω,的阻值都是0.5Ω。当ab端输入电压U=6.0V,cd端接电压表时,其示数是__________V;当ab端输入电压U=5.0V,cd端接电流表时,其示数是__________A。

试题详情

11.(5分)假设地球是规则的球形体。半径为6400km。由于地球的自转作用,一个质量为75kg的人在赤道处的重力比他在两极处的重力要__________些,差值为__________N。

试题详情

10.质量为m的物块静止在粗糙的水平面上,若静止物块受一水平拉力F的作用产生位移为S时,物块的动能为;若静止物块受一水平拉力2F的作用产生位移也为S时,物块的动能为,则(   )

 A.          B.

 C.        D.

第Ⅱ卷(非选择题  共110分)

试题详情

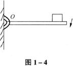
9.如图1-4所示,一端可绕O点自由转动的长木板上方放一个物块。手持木板的另一端。使木板从水平位置沿顺时针方向缓慢旋转,在物体相对于木板滑动前,(   )

 A.物块对木板压力不变

 B.物块机械能不变

 C.物块对木板的作用力对O点的力矩减小

 D.物块受到的静摩擦力增大

试题详情

8.有关光现象的下列说法中正确的是(   )

 A.在平静的湖面上出现岸边树的倒影是光的折射现象

 B.在太阳光照射下,水面上的油膜上出现彩色花纹是光的干涉现象

 C.光导纤维传递信号的基本物理原理是光的折射

 D.在光的双缝干涉实验中,只将入射光由绿光改为黄光,则条纹间距变宽

试题详情

7.用质量不计的弹簧把质量为3m的木板A与质量m的木板B连接组成如图1-3所示的装置。B板置于水平地面上,现用一个竖直向下的力F下压木板A,撤消F后,B板恰好被提离地面。由此可知力F的大小是  (   )

 A.7mg         B.4mg

 C.3mg         D.2mg

试题详情


同步练习册答案