题目列表(包括答案和解析)

 0  168122  168130  168136  168140  168146  168148  168152  168158  168160  168166  168172  168176  168178  168182  168188  168190  168196  168200  168202  168206  168208  168212  168214  168216  168217  168218  168220  168221  168222  168224  168226  168230  168232  168236  168238  168242  168248  168250  168256  168260  168262  168266  168272  168278  168280  168286  168290  168292  168298  168302  168308  168316  447348 

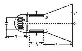
20.(14分)如图1-11所示的真空管中,质量为m、电量为e的电子从灯丝K发出,经电压为U1的加速电场加速后沿中心线进入两平行金属板BC间的匀强电场中,通过电场后打到荧光屏上,设BC间电压为U2BC板间距离为dBC板长为l1,到荧光屏的距离为l2,求: 

图1-11

(1)电子离开偏转电场时的偏角θ(即电子离开偏转电场时速度与进入偏转电场时速度的夹角). 

(2)电子打到荧光屏上的位置P偏离荧光屏中心O的距离Y. 

试题详情

19.(12分)如图1-10(a)所示,一质量为m的物体系于长度分别为l1l2的两根细线上,l1的一端悬挂在天花板上,与竖直方向夹角为θl2水平拉直,物体处于平衡状态.现将l2线剪断,求剪断瞬时物体的加速度. 

图1-10

(1)下面是某同学对该题的一种解法: 

解:设l1线上拉力为T1l2线上拉力为T2, 

重力为mg,物体在三力作用下平衡 

T1cosθ=mgT1sinθ=T2T2=mgtanθ, 

剪断线的瞬间,T2突然消失,物体即在T2反方向获得加速度.因为mgtanθ=ma,所以加速度a=gtanθ,方向在T2反方向. 

你认为这个结果正确吗?请对该解法作出评价并说明理由. 

(2)若将图(a)中的细线l1改为长度相同、质量不计的轻弹簧,如图1-10(b)所示,其他条件不变,求解的步骤和结果与(1)完全相同,即a=gtanθ,你认为这个结果正确吗?请说明理由. 

试题详情

18.(12分)有一电池当外电路电阻为2.9 Ω时测得的电流强度为0.5 A;当外电路电阻为1.4 Ω时测得的路端电压为1.4 V,求电源的电动势和内电阻. 

试题详情

17.有一条捕鱼小船停靠在湖边码头,小船又窄又长(估计重一吨左右).一位同学想用一个卷尺粗略测定它的质量,他进行了如下操作:他将船平行码头自由停泊,在岸上记下船尾的位置,然后轻轻从船尾上船.走到船头后下船,用卷尺测出哪几个距离,他还需知道自身的质量m,才能测出渔船的质量M.请你回答下列问题: 

(1)该同学是根据________定律来估测小船质量的; 

(2)要求该同学测出的距离________(先用文字说明,再给每一个距离赋于一个字母)

(3)所测渔船的质量M =________(表达式). 

试题详情

16.从下列实验器材中选出适当的器材,设计测量电路来测量两个电流表的内阻,要求方法简捷,有尽可能高的测量精度. 

(A)待测电流表A1­,量程50 mA,内电阻约几十欧 

(B)待测电流表A2,量程30 mA,内电阻约几十欧 

(C)电压表V,量程15 V,内阻rV=15 kΩ 

(D)电阻箱R1,阻值范围0~9999.9 Ω 

(E)电阻箱R2,阻值范围0~99.9 Ω 

(F)滑动变阻器R3,阻值0~150 Ω,额定电流1.5 A 

(G)滑动变阻器R4,阻值0~20 Ω,额定电流1.5 A 

(H)电阻R0,阻值是40 Ω,功率是0.5 W(作保护电阻用) 

(I)电池组,电动势为12 V,内电阻约0.5 Ω 

此外还有单刀开关若干和导线若干,供需要选用. 

(1)请设计一个测量电路,画出电路图. 

(2)选出必要的器材,用器材前的字母表示,有_______. 

(3)说明实验需要测量的物理量,并列出计算两个电流表内电阻的计算式. 

试题详情

15.用半圆形玻璃砖做“测定玻璃的折射率”的实验,实验步骤如下: 

(1)如图1-9所示,在一张白纸上画一直线ab作为玻璃砖的一个界面,标出点O; 

(2)过O点画一线段OA,在OA上垂直地插两枚大头针P1P2; 

(3)放上玻璃砖,使O点正好处于圆心的位置; 

(4)在观察的这一侧插一枚大头针P3,使P3挡住P1P2;标出P3的位置; 

(5)移去玻璃砖和大头针,连接OP3,作过O点与ab垂直的直线MN; 

(6)用量角器量出∠MOA和∠NOB两角的大小,根据光路可逆性,当光线从空气射向玻璃砖时,∠NOB为入射角,记为i,∠MOA为折射角,记为r;代入折射定律:得到玻璃的折射率n=sini/sinr. 

请回答:为保证实验成功,∠MOA__________.(填应满足的条件) 

原因是_________________________________________________. 

试题详情

14.如图1-8所示甲图为某同学先将金属片用烟熏黑,并在频率为 f0 的音叉的左端最高点处焊了一根细钢针,静止时针尖刚好指在金属片上坐标系的原点.轻敲音叉使音叉开始振动,然后烧断细线,使金属片自由下落,针尖在金属片上划下痕迹.(设音叉的振幅不变)

图1-8

(1)如图乙,从金属片上选出划痕清晰的一段标出划痕跟坐标轴的连续7个交点,依次记为BCDEFGH,测得相邻两点间的距离依次为b1b2b3b4b5b6,试写出用“逐差法”求重力加速度g的数学表达式_______. 

(2)图丙的四幅图中,哪一幅最能正确地表示针尖在金属片上留下的划痕_______. 

(3)若从悬线被烧断瞬间开始计时,当时钢针正通过平衡位置向左运动,取向左为位移的正方向,设钢针的振幅为A,则钢针的水平位移y跟金属片下落高度h间的函数关系式为_______. 

试题详情

13.如图1-7所示,在光滑水平面上有一质量为M的小斜面,斜面倾角为θ,在斜面上放着质量为m的物体,物体与斜面间的摩擦不计.当物体受到水平恒力F推动时,物体与斜面没有相对滑动,那么物体受到的水平推力F=_______,物体对斜面的作用力大小为_______.

试题详情

12.如图1-6所示的图线,a是某电源的UI图线,b是电阻RUI图线,该电源的内电阻等于_______,用这个电源和两个电阻R串联成闭合电路,电源输出的电功率等于  .

     

图1-6         图1-7

试题详情

11.太阳内部发生热核反应,每秒钟辐射出的能量约3.8×1026 J,据此估算太阳一年内质量将减少_______ kg.(保留两位数字) 

试题详情


同步练习册答案