题目列表(包括答案和解析)

 0  168329  168337  168343  168347  168353  168355  168359  168365  168367  168373  168379  168383  168385  168389  168395  168397  168403  168407  168409  168413  168415  168419  168421  168423  168424  168425  168427  168428  168429  168431  168433  168437  168439  168443  168445  168449  168455  168457  168463  168467  168469  168473  168479  168485  168487  168493  168497  168499  168505  168509  168515  168523  447348 

2、下列说法中可行的是( )

A、将地球上所有海水的温度降低0.1℃,以放出大量内能供人类使用

B、制造一种机器,把物体与地面摩擦所产生的热量全部收集起来再全部加以使用

C、只要对内燃机不断进行改进,它可以把气体的内能全部转化为机械能

D、即使没有漏气,也没有摩擦的能量损失,内燃机也不可能把内能全部转化为机械能

试题详情

1、为了观察到纳米级的微小结构,需要用到分辨率比光学显微镜更高的电子显微镜,下列说法中正确的是( )

A、电子显微镜所利用电子物质波的波长可以比可见光短,因此不容易发生明显衍射

B、电子显微镜所利用电子物质波的波长可以比可见光长,因此不容易发生明显衍射

C、电子显微镜所利用电子物质波的波长可以比可见光短,因此更容易发生明显衍射

D、电子显微镜所利用电子物质波的波长可以比可见光长,因此更容易发生明显衍射

试题详情

(三)电磁场中的直线运动

带电粒子在电场中的直线运动问题,实质是在电场中处理力学问题,因此分析的方法和力学基本相同。主要的题型:带电粒子在电场中的加速运动和减速运动,与牛顿第二定律结合,把电场和力学知识结合起来考查学生的能力。同时还要把动量和能量的知识综合考查。

例题3、质量为m,电量为+q的小球以初速度v0以与水平方向成θ角射出,如图2-1-3所示,如果在某方向加上一定大小的匀强电场后,能保证小球仍沿v0方向做直线运动,试求所加匀强电场的最小值,加了这个电场后,经多长时间速度变为零?

例4、为研究静电除尘,有人设计了一个盒状容器,容器侧面是绝缘的透明有机玻璃,它的上下底面是面积A=0.04m2的金属板,间距L=0.05m,当连接到U=2500V的高压电源正负两极时,能在两金属板间产生一个匀强电场,如图2-1-5所示。现把一定量均匀分布的烟尘颗粒密闭在容器内,每立方米有烟尘颗粒1013个,假设这些颗粒都处于静止状态,每个颗粒带电量为q=+1.0×10-17C,质量为m=2.0×10-15kg,不考虑烟尘颗粒之间的相互作用和空气阻力,并忽略烟尘颗粒所受重力。求合上电键后:⑴经过多长时间烟尘颗粒可以被全部吸附?⑵除尘过程中电场对烟尘颗粒共做了多少功?⑶经过多长时间容器中烟尘颗粒的总动能达到最大?

例5、图2-1-6中a1b1c1d1和a2b2c2d2为在同一竖直平面内的金属导轨,处在磁感强度B的匀强磁场中,磁场方向垂直导轨所在平面(纸面)向里。导轨的a1b1段与a2b2段是竖直的,距离为l1;c1d1段与c2d2段也是竖直的,距离为l2。x1y1与x2y2为两根用不可伸长的绝缘轻线相连的金属细杆,质量分别为m1、m2,它们都垂直于导轨并与导轨保持光滑接触。两杆与导轨构成的回路的总电阻为R。F为作用与金属杆x1y1上竖直向上的恒力。已知两杆运动到图示位置时,已匀速向上运动,求此时作用于两杆的重力的功率的大小和回路电阻上的热功率

例3解:由题知小球在重力和电场力作用下沿v0方向做直线运动,可知垂直v0方向上合外力为零,或者用力的分解或力的合成方法,重力与电场力的合力沿v0所在直线.

建如图2-1-4所示坐标系,设场强Ev0φ角,则受力如图:

由牛顿第二定律可得

Eqsinφ-mgcosθ=0           ①

Eqcosφ-mgsinθ=ma           ②

由①式得:E=mgcosθqsinφ      ③

由③式得:φ=90°时,E最小为

Eminmgcosθ/q

其方向与v0垂直斜向上

φ=90°代入②式可得a=-gsinθ

即在场强最小时,小球沿v0做加速度

a=-gsinθ的匀减速直线运动,设运动

时间为t时速度为0,则:0=v0gsinθt

可得:t=

例4解:⑴当最靠近上表面的烟尘颗粒被吸附到下板时,烟尘就被 全部吸附。烟尘颗粒受到的电场力F=qU/LL=at2/2=qUt2/2mL,故t=0.02s

W=NALqU/2=2.5×10-4J

⑶设烟尘颗粒下落距离为x,则当时所有烟尘颗粒的总动能

EK=NA(L-x) mv2/2= NA(L-x)  qUx/L,当

x=L/2时EK达最大,而x=at12/2,故t1=0.014s

4、 P= R(m1+m2)g

Q=[]2R

例5解:这是一道学科内部综合试题,涉及到电磁感应、安培力、等效电路及牛顿第二定律。要求考生综合上述知识,认真处理双杆问题,找出物理量之间的关系,两杆可当成连接体问题处理。两杆都相当于等效电源,但有效切割长度不同,所以产生的感应电动势不同,有必要画出等效电路,求出感应电流大小。最终两杆都达到匀速状态,处理方法有两种:  一、整体法:整体受外力:两杆重力及两杆安培力,列平衡方程;  二、隔离法:隔离两杆,分别列平衡方程。  以上可求出感应电流I及末速度v的大小,即可求出两杆重力的瞬时功率及回路电阻的热功率。  答案:(18分)  设杆向上运动的速度为v,因杆的运动,两杆与导轨构成的回路的面积减少,从而磁通量也减少。由法拉第电磁感应定律,  回路中的感应电动势的大小: =B()v  ①  回路中的电流:       ②  电流沿顺时针方向。  两金属杆都要受到安培力作用,  作用于杆xlyl的安培力为:    ③  方向向上  作用于杆x2y2的安培力为:  f2 =   ④  方向向下  当杆做匀速运动时,根据牛顿第二定律有:  F-mlg-m2g+f1-f2=0        ⑤  解以上各式,得:    ⑥         ⑦  作用于两杆的重力的功率的大小:P=(m1+m2)gv ⑧  电阻上的热功率的大小:   PQ=I2R    ⑨  由⑥、⑦、⑧、⑨式,可得:        点评:  本题最大优点在于力、电、磁的综合应用,考查考生的综合分析能力。要充分掌握高中物理两大基本观点:力学观点、能量观点,这是解决问题的基本途径。有的考生  认为此题计算复杂,其实不然,应学会分步考虑,最后写出通式的良好运算习惯,此题对中等考生有一定区分度。

物理高考测试题2

1、气球以5m/s的速度由地面匀速上升,经过30s后从气球上自行脱落一小物体,物体自脱落到地面所需时间为(不计空气阻力,g=10m/s2)

A.6s     B.s    C.7s     D.条件不足,无法确定 

2、一个物体做初速度为零的匀加速直线运动,在t时间内经过的位移为s,设其通过前s/2用的时间为,通过后s/2的时间为,则( )

A.  B.

C. D.

3、如图所示,传送带与水平面夹角为370,并以V=10m/s的速度运行,在传送带的A端轻轻地放一小物体,若已知传送带与物体间的动摩擦因数为0.5,传送带A到B端的距离为16m,则小物体从A端运动到B端所需的时间可能是(g=10m/s2)

A.1.8s      B.2s    C.2.1s  D.4.0s

4、如图所示,ad、bd、cd是竖直面内三根固定的光滑细杆,a、b、c、d 位于同一圆周上, a点为圆周的最高点,d点为最低点。每根杆上都套着一个小滑环(图中未画出),三个滑环分别从 a、b、c处释放(初速为0),用t1、、、t2、t3 依次表示各滑环到达d所用的时间,则

A.t1 <t2 <t3     B.t1>t2>t3     C.t3 > t1>t2 D.t1=t2=t3

5、物体静止在光滑水平面上,先对物体施一水平向右的恒力F1,经ts后撤去F1,立即再对它施一水平向左的恒力F2,又经t后物体回到出发点,

(1)F1和F2的大小关系是

A.  F1=F2   B. F2=2 F1    C. F2=3F1   D. F2=5F1

(2)在这一过程中,F1, F2对物体做功W1,W2之间的关系是()

A.  W1=W2    B. W2=2 W1   C. W2 =3W1   D. W2=5W1

 6.如图所示,在一足够大的电场强度为E的匀强电场中,有一带负电的粒子(重力不计),以速度V0从A点射入电场,V0的方向与E同向,粒子在电场中的加速度为a,经过时间t电场突然变为反向,但场强大小不变,又过一段时间带电粒子恰好回到A点速度为零,粒子回到A点时电场消失,则粒子在返回A点的过程中的最大速率为

A.     B.   C.   D.

7、带电小球沿直线ab斜向上穿越水平的匀强电场,如图2-1-19,此空间同时存在着由b向a方向的匀强磁场,下列说法中错误的是

A. 若小球带负电,则电场方向水平向右

  B. 小球一定做匀减速直线运动

  C. 不论小球带何种电荷,电势能总是增加的

D. 小球可能沿ab方向做匀速运动

8.一负电荷仅受电场力作用,从电场中的A点运动到B点,在此过程中该电荷做初速度为零的匀加速直线运动,则A、B两点的电场强度EAEB和该电荷在A、B两点的电势能εA和εB之间的关系为:

A。EA>EB        B.EA<EB      C.εA>εB      D.εAB

9、如图带正电的物体刚好能沿绝缘体斜面匀速下滑,则下列说法正确的是:

A.若在此空间加竖直向下的匀强电场,物体仍能匀速下滑

B.若在此空间加竖直向下的匀强电场,物体将加速下滑

C.若在此空间加垂直纸面向里的匀强磁场,物体仍能匀速下滑

D.若在此空间加垂直纸面向里的匀强磁场,物体将加速下滑

10.铁路上使用一种电磁装置向控制中心传输信号以确定火车的位置,能产生匀强磁场的磁铁,被安装在火车首节车厢下面,如图甲所示(俯视图),当它经过安放在两铁轨间的线圈时,便会产  生一电信号,被控制中心接收,当火车通过线圈时,若控制中心接收到的线圈两端的电压信号为如图乙所示,则说明火车在做

A.匀速直线运动   B.匀加速直线运动  C.匀减速直线运动 D.加速度逐渐增大的变加速直线运动

11、一弹簧秤的秤盘质量m1=1.5kg,盘内放一质量为m2=10.5kg的物体P,弹簧质量不计,其劲度系数为k=800N/m,系统处于静止状态,如图2-1-14所示。现给P施加一个竖直向上的力F,使P从静止开始向上做匀加速直线运动,已知在最初0.2s内F是变化的,在0.2s后是恒定的,求F的最大值和最小值各是多少?(g=10m/s2)

12.如图甲所示,一正方形金属线框位于有界匀强磁场区域内,线框的右边紧贴着边界,t=0时刻对线框施加一水平向右的外力F,让线框从静止开始做匀加速直线运动穿出磁场;乙图为外力F随时间变化的图像.若线框质量m、电阻R及图像中的F0、t0均为已知量,则

根据上述条件,请你求出两个电磁学物理量.写出必要的计算过程

13、水平传送带被广泛地应用于机场和火车站,用于对旅客的行李进行了安全检查。图2-1-15为-水平传送带装置示意图,绷紧的传送带AB始终保持v=1m/s的恒定速率运行,一质量为m=4kg的行李无初速地放在A处,传送带对行李的滑动摩擦力使行李开始做匀加速直线运动,随后行李又以与传送带相等的速率做匀速直线运动。设行李与传送带间的动摩擦因数μ=0.1,AB间的距离l=2m,g取10m/s2

(1)求行李刚开始运动时所受的滑动摩擦力大小与加速度大小;

(2)求行李做匀加速直线运动的时间;

(3)如果提高传送带的运行速率,行李就能被较快地传送到B处。求行李从A处传送到B处的最短时间和传送带对应的最小运行速率。

14、如图所示,带正电小球质量为m=1×10-2kg,带电量为q=1×10-6C,置于光滑绝缘水平面上的A点,当空间存在着斜向上的匀强电场时,该小球从静止开始始终沿水平面做匀加速运动,当运动到B点时,测得其速度VB=1.5m/s,此时小球的位移为s=0.15m,求此匀强电场场强E的取值范围

(g取10m/s2).

15.解答:

线圈运动的加速度:       ①

线圈离开磁场的末速度:v=at0       ②

线圈框的边长:         ③

  ④

由①②③④解得:      ⑤

在拉出的过程中通过线框的电量:

拉出过程中的平均电流:   ⑦

线框全部离开磁场时:  ⑧

    ⑨

评分标准:本题共16分;①②③④式各2分,⑤式4分,⑥或⑦、⑧、⑨式等其它答案4分。

试题详情

(二)在重力场中的直线运动

例题2.如图所示,传送带与地面倾角θ=37°,从A→B长度为16m,传送带以l0m/s的速率逆时针转动.在传送带上端A无初速度地放一个质量为0.5kg的物体,它与传送带之间的动摩擦因数为0.5.求物体从A运动到B需时间是多少?(sin37°=0.6,cos37°=0.8)

试题详情

力是改变物体运动状态的原因,即力是改变物体的速度的原因

(1)     当物体受到的合外力与物体的初速度方向共线时,物体做直线运动。若同向则物体做加速运动,若反向则物体做减速运动

(2)     物体在恒力的作用下的直线运动,是匀变速直线运动。典型的匀变速运动有:①只受重力作用的物体的自由落体运动和竖直上抛运动;②带电粒子在匀强电场中由静止开始被加速,或带电粒子沿着平行于电场方向射入电场中的运动;③静止或运动的物体只要所受的外力恒定,且合力的方向与初速度的方向一致,物体就做匀变速运动.

(3)     研究直线运动的基本的方法是动力学的观点,即运用牛顿运动定律和运动学公式.许多问题需要用功能关系、能量守恒及动量的关系去解决。

(4)     带电粒子在电场中的直线运动问题在与力学知识的结合中巧妙的把电场的概念、牛顿运动定律、功能关系等联系命题,对学生能力有较好的测试作用,另外平行板电容器也是一个命题频率较高的知识点。

 (一)匀变速运动

例1、A、B两质点的运动情况在v-t图中,由A、B表示,下述正确的是

A.t=1s时,B质点运动方向发生改变

B.t=2s时,A、B两质点间距一定等于2m

C.A、B同时从静止出发,朝相反方向运动

D.t=4s时A、B相遇

试题详情

22.A、B两人各乘一辆小车在光滑水平直导轨上匀速相向而行,速率均为v0=6m/s,A车上有质量m=2kg的沙袋若干个.A者和所乘的车及所带沙袋的总质量为M1=100kg.B者和所乘的车总质量M2=60kg.现在A者不断地将沙袋一个一个地相对于地面以大小为u=16.5m/s的水平速度抛向B者,并且被B接住.问:要保证两车不会相碰,A者至少要向B者抛出多少个沙袋?

试题详情

21.如图模2-16所示,图中y轴右侧为磁感应强度为B的匀强磁场,y轴的左侧为电场强度为E的匀强电场,现有一电子从x轴上某点A与x油成60°角的方向以速度v0飞进磁场中运动,继而垂直于y轴飞进电场中,问:

(1)电子在磁场中飞行时间?

(2)电子再次穿过x轴时,距原点O的距离为多少?此时刻电子的动能增量又为何值?(13分)

试题详情

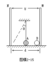
20.如图模2-15所示,在光滑绝缘水平面上,有两块竖直放置的金

一质量为3m的不带电的物体A(A物体刚好与水平面相接触),在M板处有一质量为m的带电小球B,当小球B从静止开始在电场力的作用下向前运动,并与A相碰粘合在一起摆动起来,摆角θ最大可达30°,求B球的带电量.(13分)

试题详情

中垂直切割磁感线时产生感应电动势大小的表达式ε=BLU,要求说明推导过程中每步的根据,以及式中各符号和最后结果中各项的意义.(13分)

19.如图模2-14所示,在水平面上固定一个汽缸,缸内由质量为m的活塞.封闭一定质量的理想气体,活塞到缸底距离为L.今有一质量为M的重物自活塞上方h高处自由下落至活塞上方,碰撞时间极短,即一起向下运动,向下运动过程中活塞可达到的最大速度为v,求从活塞向下移动至达到最大速度的过程中,被封闭气体做的功(被封闭气体温度未变,外界大气压为p0).(12分)

试题详情

17.在验证机械能守恒定律的实验中,打点计时器接在6V,50Hz的交流电源上,自由下落的重物质量为1kg.一条理想的纸带,数据如图模2-13所示,单位为cm,g=9.8m/s2(OA之间有一些计数点没画出).

(1)物体在过B点时速度vB=____m/s.

(2)从起点O到B过程中重力势能减少量ΔEp=____J.

-h图象,这个图象应是____,且图象上任意两点的纵横坐标之差的比等于____.

试题详情


同步练习册答案