题目列表(包括答案和解析)

 0  168276  168284  168290  168294  168300  168302  168306  168312  168314  168320  168326  168330  168332  168336  168342  168344  168350  168354  168356  168360  168362  168366  168368  168370  168371  168372  168374  168375  168376  168378  168380  168384  168386  168390  168392  168396  168402  168404  168410  168414  168416  168420  168426  168432  168434  168440  168444  168446  168452  168456  168462  168470  447348 

16、高速轿车中常使用一种安全气袋,以防止撞车时坐在车内的人因向前冲撞发生意外,这种气袋装有一种能在高压下分解出气体的混合粉末。撞车时,约在1×10-2S内袋内充满N2而胀大,阻止人体前冲。在以后的0.1~0.2S内气体又“消失”。若轿车以126km/h的速度行驶时发生撞车。由于气袋的作用撞车后质量为60kg的人在0.35S内速度减为零,则气袋在撞车时对人的平均作用为

A.5000N     B.5400N     C.6000N    D.6600N

试题详情

15、在光滑水平面上做直线运动的物体,

其初速度为2m/s,质量m=2kg。t=0时,初

速度与水平恒力方向相同,所受水平恒力与

时间关系如图1所示。在0-20s内,力F对

物体所做的功为

A.484J     B.480J     C.488J    D.500J

试题详情

1两条船在静止的水面上沿着平行的方向匀速直线滑行,速度都是6m/s,当两船相错时各给了对方20kg的货物,此后乙船的速率减为4m/s,方向不变,若甲船原来的质量是300kg,则交换货物后甲船的速度为______m/s,乙船原来的总质量为______kg。(水的阻力不计)

2如图9,真空中有一束电子流以一定的速度v0沿与场强垂直的方向,自O点进入匀强电场,以O点为坐标原点,x、y轴分别垂直于、平行于电场方向.若沿x轴取OA=AB=BC,分别自A、B、C作与y轴平行的线与电子流的径迹交于M、N、P,则电子流经M、N、P三点时,沿y轴方向的位移之比y1∶y2∶y3=_____;在M、N、P三点电子束的即时速度与x轴夹角的正切值之比tgθ1∶tgθ2∶tgθ3=_______;在OM、MN、NP这三段过程中,电子动能的增量之比△Ek1∶△Ek2∶△Ek3=_______.

 3一个质量为m、电量为q的带电粒子(不计重力),以平行于电场的初速v0射入匀强电场.经过t秒时间,带电粒子具有的电势能与刚射入到电场时具有的电势能相同,则此匀强电场的场强E=_______,带电粒子在电场中所通过的路程是________.

 4如图11所示,电子的电量为e,质量为m,以v0的速度沿与场强垂直的方向从A点飞入匀强电场,并从另一侧B点沿与场强方向成150°角飞出.则A、B两点间的电势差为________.

三,计算题

1如图11所示,实线为t1=0时刻的图象,虚线为t2=0.1s时刻的波形,求:

 (1)若波的传播方向为+x方向,波速多大;

 (2)若波的传播方向为-x方向,波速多大;

 (3)若波速为450m/s,波沿什么方向传播.

2(16分)如图1-13所示,光滑轨道上,小车AB用轻弹簧连接,将弹簧压缩后用细绳系在AB上.然后使AB以速度v0沿轨道向右运动,运动中细绳突然断开,当弹簧第一次恢复到自然长度时,A的速度刚好为0,已知AB的质量分别为mAmB,且

mA<mB.求: 

(1)被压缩的弹簧具有的弹性势能Ep. 

(2)试定量分析、讨论在以后的运动过程中,小车B有无速度为0的时刻?

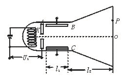
 3(14分)如图1-11所示的真空管中,质量为m、电量为e的电子从灯丝K发出,经电压为U1的加速电场加速后沿中心线进入两平行金属板BC间的匀强电场中,通过电场后打到荧光屏上,设BC间电压为U2BC板间距离为dBC板长为l1,到荧光屏的距离为l2,求: 

图1-11

(1)电子离开偏转电场时的偏角θ(即电子离开偏转电场时速度与进入偏转电场时速度的夹角). 

(2)电子打到荧光屏上的位置P偏离荧光屏中心O的距离Y. 

试题详情

8.一质点作简谐振动,图象如图6所示,由图可知(  )

  A.4s末速度为零,加速度负向、最大

  B.4s末振子的位移为-0.02m

  C.振动周期是5s,振幅是0.02m

  D.1s末,振动物体的速度为正向最大

9如图1所示,场强为E的水平方向匀强电场中,有一质量为m、电量为+q的微粒,在外力作用下,从A点竖直向上移至B点,且速度不变,若AB长为h,则这一过程中外力的大小和外力做的功为 ( )

 

10如图5所示,在点电荷-Q的电场中,M,N是两个等势面.现将一点电荷+q,从a点分别经路径①和路径②(经过C点)移到b点,在这两个过程中 ( )

 A.都是电场力做功,沿路径①做的功比沿路径②做的功少

 B.都是电场力做功,沿路径①做的功等于沿路径②所做的功

 C.都是克服电场力做功,沿路径①做的功大于沿路径②做的功

 D.都是克服电场力做功,沿路径①做的功大于沿路径②做的功

 11如图6,一带电小球用丝线悬挂在水平方向的匀强电场中,当小球静止后把悬线烧断,则小球在电场中将作 ( )

 A.自由落体运动

 B.曲线运动

 C.沿着悬线的延长线作匀加速运动

 D.变加速直线运动

12如5所示,带电粒子以平行极板的速度从左侧中央飞入匀强电场,恰能从右侧擦极板边缘飞出电场(重力不计),若粒子的初动能变为原来的2倍,还要使粒子保持擦极板边缘飞出,可采用的方法是 ( )

 A.将极板的长度变为原来的2倍

 

 C.将两板之间的电势差变为原来的2倍

 D.上述方法都不行

试题详情

5.电子以初速度v0沿垂直场强方向射入两平行金属板中间的匀强电场中,现增大两板间的电压,但仍使电子能够穿过平行板间,则电子穿越平行板所需要的时间 ( )

 A.随电压的增大而减小

 B.随电压的增大而增大

 C.加大两板间距离,时间将减小

 D.与电压及两板间距离均无关

6一个单摆挂在电梯内,发现单摆的周期增大为原来的2倍,可见电梯在做加速度运动,加速度α为 (  )

 A.方向向上,大小为g/2

 B.方向向上,大小为3g/4

 C.方向向下,大小为g/4

 D.方向向下,大小为3g/4

7一艘固有频率为50Hz的渔船,停泊天海岸边,若此时海浪两相邻波谷间的距离为10m,海浪的传播速度为5m/s,则渔船摇晃周期应是( )

  A.2s B.0.02s C.0.5s D.0.1s

试题详情

2.量为m的物体,在受到与运动方向一致的外力F的作用下,经过时间t后物体的动量由mv1增大到mv2,若力和作用时间改为,都由mv1开始,下面说法中正确的是 (   )

 A.在力2F作用下,经过2t时间,动量增到4mv2

 B.在力2F作用下,经过2t时间,动量增到4mv1

 C.在力F作用下,经过2t时间,动量增到2(mv2-mv1)

 D.在力F作用下,经过2t时间,动量增到2mv2

3如图3所示、质量为m的小球以速度v0水平抛出,恰好与倾角为30°的斜面垂直碰撞,其弹回的速度大小与抛出时相等,则小球与斜面碰撞中受到的冲量大小是(设小球与斜面做用时间很短) (  )

 

   

4如图1-2所示的电场中,一个正电荷从C点分别沿直线被移动到A点和B点,在这两个过程中,均需克服电场力做功,且做功的数值相同.有可能满足这种情况的电场是(  )

A.存在沿y轴正向的匀强电场  

B.存在沿x轴负向的匀强电场 

C.在第Ⅰ象限内某位置有一个负点电荷 

D.在第Ⅳ象限内某位置有一个正点电荷

试题详情

1. 抛一质量为m的小球,经t秒小球重新回到抛出点,若取向上为正方向,那么小球的动量变化为 (  )

 

试题详情

20.(15分)带负电的小物体A放在倾角为θ(sinθ=0.6)的绝缘斜面上。整个斜面处于范围足够大、方向水平向右的匀强电场中,如图所示。物体A的质量为m,电量为-q,与斜面间的动摩擦因数为μ,它在电场中受到的电场力的大小等于重力的一半。物体A在斜面上由静止开始下滑,经时间t后突然在斜面区域加上范围足够大的匀强磁场,磁场方向垂直于纸面。磁感应强度大小为B,此后物体A沿斜面继续下滑距离L后离开斜面。⑴物体A在斜面上的运动情况如何?说明理由。⑵物体A在斜面上运动过程中由多少能量转化为内能?

试题详情

19.(14分)2003年10月15日,我国成功发射了第一艘载人宇宙飞船“神舟五号”。火箭全长58.3m,起飞重量为479.8t,火箭点火升空,飞船进入预定轨道。“神舟五号”环绕地球飞行14圈用的时间是21h。飞船点火竖直升空时,航天员杨利伟感觉“超重感比较强”,仪器显示他对座舱的最大压力等于他体重的5倍。飞船进入轨道后,杨利伟还多次在舱内漂浮起来。假设飞船运行的轨道是圆形轨道。(地球半径R取6.4×103km,地面重力加速度g=10m/s2,计算结果取二位有效数字。)⑴试分析航天员在舱内“漂浮起来”的现象产生的原因。⑵求火箭点火发射时,火箭的最大推力。⑶估算飞船运行轨道距离地面的高度。

试题详情

18.(15分)如图所示,分布在半径为r的圆形区域内的匀强磁场,磁感应强度为B,方向垂直纸面向里。电量为q,质量为m的带正电的粒子从磁场边缘A点沿圆的半径AO方向射入磁场,离开磁场时速度方向偏转了60°角。试确定:⑴粒子做圆周运动的半径。⑵粒子的入射速度。⑶若保持粒子的速率不变,从A点入射时速度的方向顺时针转过60°角,粒子在磁场中运动的时间将是多少?

试题详情


同步练习册答案