0  122364  122372  122378  122382  122388  122390  122394  122400  122402  122408  122414  122418  122420  122424  122430  122432  122438  122442  122444  122448  122450  122454  122456  122458  122459  122460  122462  122463  122464  122466  122468  122472  122474  122478  122480  122484  122490  122492  122498  122502  122504  122508  122514  122520  122522  122528  122532  122534  122540  122544  122550  122558  447090 

27.(6分)在“用电压表和电流表测电阻的实验”中,

⑴实验的原理是:           

⑵图21是某次用电压表和电流表测量小灯泡电阻的实物图,请用笔画线代替导线,按照实验的要求完成电路的连接。(要求:滑动变阻器的滑片向右移时电流表示数变大)

⑶若用其它的方法测量电阻,老师提供了下列器材:电压恒定的电源一个(电压未知),定值电阻R0一个(阻值已知),待测电阻Rx一个,滑动变阻器一个,量程合适的电流表(或电压表)一个,单刀开关两个,导线若干。请在给出的器材中选用一些进行组合,完成实验。

①在虚线框内画出实验电路图。

②写出实验的主要步骤。

③写出Rx的表达式。

示例:

实验电路图:(见右图)

实验步骤:①将电流表与R0串联,测出通过R0的电流,记为I1

②将电流表换为与Rx串联,测出通过Rx的电流,记为I2

Rx的表达式:Rx=

主要步骤:

Rx=         

试题详情

26.(5分)小明想验证“用滚动代替滑动能减小摩擦”的正确性,利用以下一些器材:质量不相等、带钩的木块A和木块B,弹簧测力计,砝码,棉布,圆柱状铅笔若干,进行实验探究。请完成以下填空:

实验步骤一:把木块A放在水平桌面上,用弹簧测力计     拉动木块,记下弹簧测力计的示数F1,根据         知识,可知F1的大小等于木块受到的摩擦力。

实验步骤二:把           放在水平桌面上,将       放在其上方,用步骤一的方法拉动木块,记下弹簧测力计的示数F2

实验分析;当满足       的条件时,上述结论是正确的。

试题详情

25.(5分)在“探究固体熔化时温度的变化规律”实验中,请回答:

⑴熄灭酒精灯时,有图19中的两种方法,其中正确的    

⑵请根据实验要求,设计并画出实验记录表格。(注:不需填入数据)

⑶图20是根据某次实验数据,在坐标纸上描下的点。请在坐标纸上根据所描的点,画出熔化图象。

⑷根据熔化图象,可得出该物质熔化过程中温度的变化规律是                   。该物质的熔点是     

试题详情

24.(4分)南宁市人民政府在实施“136”工程中,对旧街小巷进行了改造。为了方便盲人的行走,在不少街道的人行道上铺设有凹凸刻纹的盲道,如图18所示。请你运用所学的物理知识分析,为什么盲人不用盲杖也能在盲道上象正常人一样行走?

试题详情

23.(4分)雪条是大家都喜欢吃的冷饮。请根据图17中的情景回答:⑴图中的“白气”是怎样形成的?⑵关于“白气”,符合实际的是哪幅图?请用有关物理知识说明理由。

试题详情

22.(2分)玩具“不倒翁”被扳倒后会自动立起来。请在图16中画出此“不倒翁”所受重力的示意图,并画出重力相对于O点的力臂。(黑点表示“不倒翁”的重心)

试题详情

21.(2分)图15是一束从空气斜射向玻璃的光线,入射角为60°。请在图中标出入射角的位置,并画出折射光线(大致方向)。

试题详情

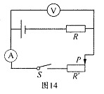
20.图14所示的电路中,电源电压为12V(恒定不变),定值电阻R的阻值为10Ω,滑动变阻器R′上标有“30Ω  2A”字样。当开关S闭合,R′的滑片从最右端往左移动的过程中,下列说法中正确的是(   )

A.电流表示数逐渐减小

B.电压表示数不变

C.当滑片P在R′的最右端时,电流表示数为0.3A,电压表示数为9V

D.当滑片P在R′的正中位置时,电流表示数为0.48A,电压表示数为4.8V

试题详情

19.4月23日,南宁市某商场举行首届跑楼梯比赛,共有500多名选手参加。若要比较参赛者的功率大小,需测出的物理量是(   )

A.登楼所用的时间

B.参赛者的体重,所登楼层的高度

C.参赛者的体重,所登楼层的高度以及登楼所用的时间

D.参赛者的体重,所登楼层的高度,登楼所用的时间以及参赛者通过的路程

试题详情

18.家用电能表表盘上标有图13所示的字样,表中是一些家用电器的电功率,为使电能表能正常使用,在家庭电路中能同时工作的一组电器是(   )

A.空调1台,电冰箱1台,洗衣机1台,电灯5盏

B. 电炉1台,电视机1台,洗衣机1台,吸尘器1台

C. 空调1台,电灯5盏,电熨斗1个,洗衣机1台

D.微波炉1台,抽油烟机1台,洗衣机1台,电灯5盏

                 表

家用电器的电功率
电炉
约1200W
空调
约1000W
微波炉
约1000W
电吹风机
约1000W
吸尘器
约800W
抽油烟机
约800W
电熨斗
约700W
洗衣机
约500W
吸尘器
约200W
电冰箱
约100W
电灯
约60W

试题详情


同步练习册答案