0  185071  185079  185085  185089  185095  185097  185101  185107  185109  185115  185121  185125  185127  185131  185137  185139  185145  185149  185151  185155  185157  185161  185163  185165  185166  185167  185169  185170  185171  185173  185175  185179  185181  185185  185187  185191  185197  185199  185205  185209  185211  185215  185221  185227  185229  185235  185239  185241  185247  185251  185257  185265  447090 

1. 下列有关光合作用光反应的说法正确的是                             (   )

A.叶绿素a失去电子即成为强氧化剂,成为最初的电子供体,失去的电子将转移给水

B.电子流一旦产生,就可以形成持续电流,不再依赖太阳光能

C.不同季节将光能转化为电能的色素不同,叶子变黄后主要是依赖叶黄素进行转化

D.光反应阶段完成了光能→电能→活跃的化学能的转换

试题详情

(二)问题:

  (1)步骤①中切除胚芽鞘尖端的目的是                 

  (2)步骤③中重复实验的目的是         ,其他步骤中还有哪些措施也是为了达到这一目的?

                                                                        

31.(7分)生物体生命活动调节的形式是多种多样的。植物生命活动调节的基本形式是激素调节,动物生命活动的调节主要包括神经     体液调节。

  (1)运用顶端优势原理对果树进行修剪,一定浓度的生长素类似物可生产无根豆芽、除去田间的双子叶植物杂草等,这些在生产生活中的应用都说明生长素对植物生长的作用具有               

  (2)下丘脑和垂体在动物的体液调节中起着重要作用。在调节甲状腺激素分泌的过程中,下丘脑产生的激素作用的靶细胞是        的细胞,下丘脑和垂体细胞也可作为甲状腺激素的靶细胞,这种调节方式是         

  (3)人体内的激素间具有协同作用和拮抗作用,其中对人体的生长发育起协同作用的激素有        

  (4)兴奋在神经纤维上以          形式向前传导,当神经纤维的某一部分受到刺激产生兴奋并向前传导时,细胞膜外电流方向与兴奋传导的方向________(相反或相同)。

  (5)神经细胞释放的乙酰胆碱与肌细胞上的受体结合,使肌细胞收缩,随后乙酰胆碱很快被胆碱脂酶分解,肌细胞恢复舒张状态。美洲箭毒有与乙酰胆碱争夺受体的作用,若美洲箭毒进入人体,其作用的效应是           

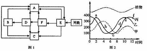
32.(8分)图1表示生态系统中各成分之间的联系,图2为一定时间内某一生态系统中的几个种群数量变化曲线,请据图回答:

  (1)图1中能构成群落的是      ,图2中的乙相当于图1中的___________。

  (2)图1中流入D的总能量小于F获得的总能量,主要原因是F获得的能量除了被自身呼吸消耗以及未被利用外,还有部分能量被         所利用。

  (3)种群丙在a、b、c、d四个时期中种群密度最大的是_______期。

  (4)某地区因环境污染造成E中出现大量白花苗,对F、D数量的影响是     

  (5)若图1示一农业生态系统,某校生物研究性学习小组对其进行考察发现:秸秆都是当作燃料,粪便、废水均作为肥料直接施入农田,由此造成          

                   等不良后果。针对这一现象,该小组向有关部门建议,利用秸秆生产“再生纤维共混膜”作为地膜使用,可在一定程度上解决出现的问题。此膜可在自然条件下由图1中的    (填字母)产生的        催化分解为无机物供植物生长再利用。

33.(7分)小鼠的皮毛颜色由位于2对常染色体上的两对基因(A、a和R、r)控制,下图是小鼠的一个遗传系谱,请分析回答下列相关问题:

  (1)Ⅲ6的基因型是      ,Ⅲ1的基因型为AaRR的概率为      。如果Ⅲ3与Ⅲ5杂交,产下灰色雄鼠的概率为     

  (2)Ⅲ7的基因型是     ,若欲进一步确定其基因型,最好让Ⅲ7与Ⅲ代 中   号个体杂交。

  (3)偶然发现一只雄鼠患有某种遗传病,该遗传病由显性基因B控制。但其双亲都未携带该致病基因,则该致病基因来源于       。欲确定该致病基因B的位置,让这只雄鼠与正常雌鼠杂交,得到足够多的F1代个体,如果F1代雌鼠全都患病,而雄鼠全部正常,则基因B位于   染色体上。

34.选做题(8分)

本题有A、B两题,请任选一题在答题卡指定位置作答,并把所选题目对应字母后的方框涂满涂黑。

A.克隆羊“多利”的问世,很快在全世界引发了一场大讨论,其中关于“治疗性克隆”的问题也成为人们关注的焦点。下图所示为人类“治疗性克隆”的大概过程,请据图作答。

  (1)过程A表示        ,是目前实现体细胞克隆的关键技术,该技术的主要操作是应用患者的体细胞作为核供体,由 [ ① ]     细胞提供细胞质,进行人工重组。

  (2)经过程B得到的结构中,    (填标号)是未分化的细胞,因而这些细胞被认为是胚胎干细胞。在体外培养条件下,胚胎干细胞具有增殖能力并保持     状态。

  (3)“治疗性克隆”的结果说明高度分化的体细胞的核仍然具有         _。相同的胚胎干细胞,“克隆”的结果各种各样,如有的是神经细胞,有的是血细胞,有的是肌肉细胞,究其本质原因是       的结果。

  (4)对于“治疗性克隆”仍然存在许多争论,有一男子患有白血病,后经医生利用其出生时保留的脐带血进行治疗后康复,你认为这种做法符合伦理道德吗?为什么?                 

                                        

B.下表为通过基因工程技术应用植物生产的一些药物,这些植物又被称为生物反应器。生物反应器可以取自不同的生物,其中以微生物居多,但植物与动物反应器正在成为研究的热点。请分析并回答问题:

药物名称
基因来源
应用范围
应用植物
核糖体抑制蛋白
玉米
抑制HIV复制
烟草
抗体
小鼠
多种用处
烟草
生长激素
鲑鱼
促进生长
烟草
干扰素

抗病毒
芜菁

  (1)在将目的基因导入植物受体细胞时,一般需先将其与载体结合,常用的载体除质粒外还有     等,在检测受体细胞中是否已经导入目的基因时,也常常要借助于载体上    基因的表达。

  (2)从抑制HIV复制的药物名称分析,该药物的功能可能是抑制          

             。从表中所列药物的化学本质分析,这些药物都可以与     试剂发生颜色反应。

  (3)为了获得具有外源基因的纯合子,常常将获得外源基因的植物进行       ,以使新遗传状能够稳定遗传。获得大批转基因应用植物的方法是       

  (4)为了使T淋巴细胞在体外产生大量的干扰素,有人进行了实验,可是当将T淋巴细胞在体外培养繁殖了几代后,细胞分裂就停止了。请你简述以小鼠和人的T淋巴细胞为实验材料,应用单克隆抗体技术,获得大量干扰素的基本步骤:

                                         

试题详情

(一)实验:

  (1)实验材料与药品:10-5mol/L生长素溶液、pH值分别为5.0、9.0的缓冲液、黑暗中萌发的小麦种子若干、镊子、刀片、刻度尺、培养皿等器材和试剂。

  (2)实验步骤:①材料处理:选择      的黑暗中萌发的小麦种子若干,用镊子取下胚芽鞘并切除尖端,平均分成三组。

     ②平均分组的胚芽鞘放入编号为l、2、3的培养皿中,加等量的不同试剂,置于相同且适宜的温度下培养。

     ③一定时间后          ,并进行若干次重复实验,并记录结果。

  (3)实验结果:

组别
处理方法
结果
1
10只胚芽鞘+10-5mol/L生长素溶液
           
2
               
胚芽鞘生长不明显
3
10只胚芽鞘+pH值为5.0的缓冲液
胚芽鞘生长明显

试题详情

26.(10)图1是高等动物细胞亚显微结构模式图,图2是某一生物体中不同细胞的分裂示意图,图3示图2相关细胞分裂过程中染色体、染色单体和DNA含量的关系。请据图回答问题:

  (1)图1细胞中,“能量通货”ATP产生的场所有        。肺炎球菌细胞的结构与图1细胞相比,在细胞核方面应没有核仁、染色质及     ,在其细胞质中应只有     一种细胞器。(以上均填标号)

  (2)图2中具有同源染色体的细胞有    ,A细胞的名称是        。基因的自由组合发生于图2中的     细胞所处的时期。

  (3)若图1示人体皮肤生发层细胞,则该细胞可能会发生图2中    细胞所示的分裂现象。

  (4)图3中a-c表示染色单体的是     ,Ⅲ对应于图2中的      细胞,由Ⅲ变化为Ⅳ的原因是                 

27.(7分)下图示与光合作用、细胞呼吸等相关的细胞代谢问题,请回答:

  (1)图甲中所示的①-④物质中,相当于细胞有氧呼吸的终产物和反应物的依次是 

(填写标号),在细胞有氧呼吸过程中出现的类似于②的物质产生于细胞的   中。

  (2)小球藻在适宜条件下繁殖很快。在图乙的装置(a)和(b)中,用相同培养液,在光下分别培养小球藻,观察最初的变化。

①B试管中小球藻繁殖速度的变化是          (加快、减慢),其原因是A瓶中的         

②C试管中小球藻繁殖速度的变化是        (加快、减慢),其原因是D瓶中的        

28.(5分)分析下列图形所表示的生物学意义,回答有关问题:

  (1)图1表示在不同光照强度下某植物的氧气释放速率。该植物在2000lx光照强度下,3小时光合作用所产生的氧气量是  mL。适当提高温度后,a点将向    (左/右)移动。

  (2)图2表示杂合子Aa连续自交若干代,后代中显性纯合子所占比例。图中的K=  

  (3)图3中若横坐标代表NaCl溶液浓度,纵坐标代表DNA的溶解度,则a点对应的浓度为    mol/L;若该图表示连续施用某种杀虫剂后害虫种群数量的变化,b点与c点相比,b点抗药性个体所占的比例    

29.(5分)DNA分子双螺旋结构模型提出之后,人们又去探究DNA是如何传递遗传信息的。当时推测可能有如图A所示的三种方式。1958年,Meslson和Stahl用密度梯度离心的方法,追踪由15N标记的DNA亲本链的去向,实验过程是:在氮源为14N的培养基上生长的大肠杆菌,其DNA分子均为14N-DNA(对照),在氮源为15N-DNA的培养基上生长的大肠杆菌,其DNA均为15N-DNA(亲代),将亲代大肠杆菌转移到含14N的培养基上,再连续繁殖两代(子代I和子代Ⅱ)后离心得到如图B所示的结果。请依据上述材料回答问题:

  (1)如果与对照相比,子代I离心后能分辨出轻和重两条密度带, 则说明DNA传递遗传信息的方式是      

如果子代I离心后只有1条中等密度带,则可以排除DNA传递遗传信息的方式是

         

如果子代I离心后只有1条中等密度带,再继续做子代Ⅱ的DNA密度鉴定:

①若子代Ⅱ离心后可以分出中、轻两条密度带,则可以确定DNA传递遗传信息的方式是      

②若子代Ⅱ离心后不能分出中、轻两条密度带,则可以确定DNA传递遗传信息的方式可能是      

  (2)他们观测的实验数据如下:梯度离心DNA浮力密度(g/ml)表

世代
实验
对照
亲代
1.724
1.710
子I代
1.717
1.710
子II代
(1/2)1.717,(2/2)1.710
1.710
子III代
(1/4)1.717,(3/4)1.710
1.710

分析实验数据可知:实验结果与当初推测的DNA三种可能复制方式中的    方式相吻合。

30.(8分)为验证适宜浓度的生长素通过促进细胞分泌H+,进而促进细胞伸长生长,有人设计了如下实验。请你将以下实验内容补充完整,并回答相关问题。

试题详情

25.下列关于种群、群落和生态系统的描述,正确的是                      (   )

    A.保护大熊猫的根本措施是建立自然保护区

    B.根据种群数量变化规律合理确定鱼类捕捞的时间与数量

    C.群落中生态位相似的物种竞争相对会更加激烈

    D.农田生态系统的物种丰富度高于森林生态系统

第Ⅱ卷(非选择题 65分)

20080505
 
 

试题详情

24.下列关于现代生物技术的叙述正确的是                               (   )

    A.在植物细胞与组织培养中,花药、胚不可作为组织培养的材料

    B.在动物细胞培养中,用胰蛋白酶处理肝组织可获得单个肝细胞

    C.多种显微操作和处理技术使体外受精、胚胎移植和胚胎分割成为可能

    D.从大肠杆菌细胞中提取到人胰岛素说明相应的目的基因完成了在受体细胞中的表达

试题详情

23.下列的说法中正确的是                                           (   )

    A.加热杀死的S型肺炎球菌和活的R型肺炎球菌的混合物可使健康小鼠得败血病(症)

    B.人类基因组计划的目的是测定人类基因组中有关遗传病发生部分的DNA序列

    C.染色体结构的变异会使染色体上基因的数目或排列顺序发生改变

    D.DNA中的G与C之和占全部碱基数的比例与其在一条链中所占比例不相等

试题详情

22.下列关于叶绿体和线粒体的比较的叙述,正确的是                    (   )

    A.叶绿体中可发生CO2→C3→C6H12O6, 在线粒体中则会发生C6H12O6→C3→CO2

    B.ATP和[H]在叶绿体中随水的分解而产生,在线粒体中随水的生成而产生

    C.光能转变成化学能发生在叶绿体中, 化学能转变成光能发生在线粒体中

    D.都具有较大膜面积和复杂的酶系统,有利于新陈代谢高效而有序地进行

试题详情

21.下列关于两个实验的描述,正确的是                                (   )

    A.甲实验的实验目的是探究CO2浓度对光合作用的影响

   B.甲实验中植物白天光照时同时进行光反应和暗反应,但在夜间无光时只能进行暗反应

C.乙实验中将反应小室旋转180°进行B所示步骤,可推测酵母菌液中含有过氧化氢酶

    D.乙实验中增加浸有新鲜酵母菌液的滤纸片,量筒中气体产生的速度加快

试题详情

20.健康是社会关注的焦点、人类永恒的主题,下列叙述不正确的是           (   )

    A.细胞凋亡能清除体内正常细胞,影响机体生长发育

    B.饮食中摄入过量胆固醇类食物可能会引发心血管疾病

    C.良好的心理状态和健康的生活方式可以有效预防癌症的发生

    D.利用DNA探针可快速简便地检测出乙肝病毒

试题详情


同步练习册答案