0  275172  275180  275186  275190  275196  275198  275202  275208  275210  275216  275222  275226  275228  275232  275238  275240  275246  275250  275252  275256  275258  275262  275264  275266  275267  275268  275270  275271  275272  275274  275276  275280  275282  275286  275288  275292  275298  275300  275306  275310  275312  275316  275322  275328  275330  275336  275340  275342  275348  275352  275358  275366  447090 

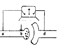
2.取出枪乌贼的粗大神经纤维,进行如图所示的实验:

将电流表的两个微型电极a、d分别置于神经纤维

膜外(ab=cd),在b点给一个强刺激,电流表的

指针发生偏转的次数和方向分别为      (   )

    A.一次,向左

    B.两次,两次均向右

    C.两次,第一次向左,第二次向右

    D.两次,第一次向右,第二次向左

试题详情

1.下列是四幅关于光合作用和细胞呼吸的图,有关叙述中正确的是            (   )

 

A.甲图中氧气浓度为a时,无氧呼吸与有氧呼吸的强度相同

B.乙图中如果再提高CO2浓度,则b点一定上移

C.丙图中,温度为t4℃时,植物净光合作用最大

    D.丁图代表两类色素的吸收光谱,则e代表类胡萝素

试题详情

2010.5

    本试卷分为第Ⅰ卷(选择题)和第Ⅱ卷(非选择题)两部分,满分300分。考试时间150分钟。

可能用到的相对原子质量:

    H-1  N-14  O-16  C-12  Cl-35.5  Na-23  Fe-56  Cu-64

第Ⅰ卷(选择题 共120分)

本卷共20小题,每题6分,共120分。在下列各题的四个选项中,只有一个选项是符合题目要求的。

试题详情

21.下面是一个以“时间”为对象的句子,请依照例句,换一对象,进行仿句。(3分)

时间是一把剪刀,它能剪出成功者不断进取的理想之花,也能剪掉自暴自弃的失败者的大好年华。

                                

试题详情

20.观察下面一幅漫画,根据要求完成题目。(5分)

(1)写一段话描绘画面内容。(2分)

答:                   

(2)用一句话点明漫画内涵,不超过15字。(3分)

答:                   

试题详情

18.把下列语句填入文中横线处,使上下文语意连贯。(只填序号)(2分)

    中国画盛用线条,西洋画线条都不显著。             

                                。所以西洋画很像实物,而中国画一望而知其为画。盖中国书画同源,作画同写字一样,随意挥洒,披露胸怀。

①例如中国画中,描一条蛋形表示人的脸孔,其实人脸孔的周围并无此线,此线是脸与背景的界线。

②山水中的线条特名为“皴法”,它是中国画技法之一,用以表现山石和树皮的纹理。

③线条大都不是物象所原有的,是画家用以代表两物象的境界的。

④又如画一曲尺形式表示人的鼻头,其实鼻头上也并无此线,此线是鼻与脸的界线。

⑤西洋画就不然,只有各物的界,界上并不描线。

⑥又如山水、花卉等,实物上都没有线,而画家盛用线条。

答案:              

 

试题详情

13.补写出下列名篇名句和文学常识的空缺部分。(6分)

①既自以心为形役,奚惆怅而独悲?                    

                       。瓦缝参差,多于周身之帛缕。

       ,幽咽泉流冰下难。冰泉冷涩弦凝绝,       

④俨骖騑于上路,                      ,得天人之旧馆。

⑤诗人白居易发起的     (朝代)规模最大的诗歌改革运动--“      运动”,提出“文章合为时而著,歌诗合为事而作”的主张。

⑥中国的四大名著包括《三国演义》《水浒传》《西游记》和《红楼梦》,作者分别是     、施耐庵、      、曹雪芹。

试题详情


同步练习册答案