0  285180  285188  285194  285198  285204  285206  285210  285216  285218  285224  285230  285234  285236  285240  285246  285248  285254  285258  285260  285264  285266  285270  285272  285274  285275  285276  285278  285279  285280  285282  285284  285288  285290  285294  285296  285300  285306  285308  285314  285318  285320  285324  285330  285336  285338  285344  285348  285350  285356  285360  285366  285374  447090 

13.鸦片战争后,中国的茶叶和生丝出口数量猛增。这一现象的实质问题是  

   A.中国在对外贸易中逐渐取得优势

   B.茶叶和生丝获利多,农民生活得到改善

  C.茶叶和生丝日益商品化  

   D.中国沦为列强的原料产地,开始卷入资本主义世界市场

试题详情

12.中国古代每-个历史时期,都会有某种工艺品最能代表该时期最高的手工业水平,下面分类正确的是

   A.商周--铁器   唐宋一陶器    明清一瓷器

  B.商周--漆器   唐宋--青铜器  明清一瓷器

   C.商周--玉器   唐宋--漆器   明清一造船

  D.商周--青铜器  唐宋--瓷器   明清一丝织品

试题详情

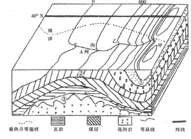
下图是40°N附近某地等高线地形图和海平面以下地层示意图,读图回答9-11题。

9.所示时间, A河流域的气候特点是:

A.高温多雨  B.温和多雨   C.炎热干燥   D.寒冷干燥

10.下列关于图示地区地质、地貌的叙述,正确的是

   A.向斜成谷,背斜成岭   B.①处可找到石油 

   C.③处可能为变质岩    D.②处比①处更不易被侵蚀

11.下列四地中有可能形成冲积扇的是:

 A.甲 B.乙 C.丙 D.丁

试题详情

8.道路与房屋建设符合规划原则的是

A.a、d     B.a、c      C.b、d     D.c、d

试题详情

下面是某区域等年降水量线图,读图回答5-7题。                

 

5.图示区域内年降水量的空间分布规律是                              

    A.由东向西逐渐减少               B.由西南向东北逐渐减少

20070126
 
    C.由南向北逐渐减少               D.由东南向西北逐渐减少

6.下面四图中,能正确反映图中河流①处月平均流量分配的是

 

    A.甲            B.乙            C.丙            D.丁

7.沿图中甲乙线,,从甲至乙植被类型的变化依次是                      

    A.高寒草原,亚寒带针叶林、温带落叶阔叶林、亚热带常绿阔叶林

    B.高寒荒漠、高寒草原、温带落叶阔叶林、亚热带常绿阔叶林

    C.温带荒漠、温带草原、温带落叶阔叶林、亚热带常绿阔叶林

    D.温带荒漠、温带草原、亚寒带针叶林、温带落叶阔叶林

读下图“山区道路与房屋建设示意图”,回答第8题。

试题详情

构建关联图可从整体角度把握地理事物的内在联系,是学习地理的方法之一。读图2、图3、,回答3-4题。

3.图2中各箭头表示太阳、地面、大气、宇宙空间的热力作用。青藏高原和四川盆地纬度位置相当,下列叙述正确的是

  A.青藏高原的年平均气温较低,与①的数值大小有关

  B.四川盆地的年太阳总辐射量较小,与②的数值大小有关

  C.四川盆地的年平均气温较高,与③的数值大小有关

  D.青藏高原的年太阳总辐射较大,与④的数值大小有关

4.图3为“地壳物质循环简图”。各箭头表示方向,①②③④表示各类地质作用。下列叙述正确的是

A.大理岩属于甲类岩石

B.乙、丙类岩石具有层理构造并含有化石

C.断层形成与①有关

D.②③④属于内力作用

试题详情

读图1,回答1-2题。

1.x轴表示时间,a曲线表示气压变化,b曲线表示气温变化,则该图表示

  A.反气旋过境        B.台风过境   

C.冷锋过境         D.暖锋过境

2.若x轴表示气温,y轴表示大气的垂直高度,则

  A.a曲线所代表的大气层中天气现象复杂多变

  B.b曲线所代表的大气层中空气的对流运动显着

  C.a曲线所代表的大气层有利于空气中污染物的扩散

  D.b曲线所代表的大气层有利于高空飞行

试题详情

21.(10分)某有机物A能与NaOH溶液反应,其分子中含有苯环,相对分子质量为136,其中含碳的质量分数为70.6%,氢的质量分数为5.9%,其余为氧。

  (1)A的化学式为__________。

  (2)若A能与NaHCO3溶液反应放出CO2气体,其结构有__________种。

  (3)若A与NaOH溶液在加热时才能反应,且1mol A消耗1mol NaOH,则A的结构简式可能是__________。

  (4)若A与NaOH溶液在加热时才能反应,且1mol A消耗2mol NaOH,则符合条件的A的结构可能有__________种,其中能发生银镜反应的有__________种,不能发生银镜反应的物质的结构简式是__________。

试题详情

20.(10分)有机物分子中,凡与官能团直接相连的碳原子称之为a-碳原子,与a-碳原子连接的氢原子称为a-氢原子。在一定条件下,含有a-氢原子的醛(或酮)能与另一分子醛(或酮)发生加成反应,其实质是一个a-氢原子加到另一个醛(或酮)的氧原子上,其余部分加在羰基上生成羟醛,同时羟醛不稳定,受热时即可脱水生成烯醛。例如:

根据以上信息,结合已学过的知识。回答下列问题:

  (1)若以乙醇为有机原料,经过上述途径合成CH3CH2CH2CH2OH,依次发生的反应类型为________________________________________。

  (2)有B、C两种物质经过上述类型的反应生成A,已知A的结构简式为  ,则B、C的结构简式为__________、__________。

  (3)根据下图回答有机物的合成路线中的问题:

   

①写出物质的结构简式:e__________,f__________。

②写出c+f→j的化学方程式:________________________________________。

试题详情

19.(8分)有机化合物A为一种无色的液体。从A出发可以发生如图所示的一系列的反应。

  (1)写出有机物A、B、C的结构简式:__________;__________;__________。

  (2)写出下列转化的化学方程式:

反应①:__________________________________________________

反应②:__________________________________________________

试题详情


同步练习册答案