0  303521  303529  303535  303539  303545  303547  303551  303557  303559  303565  303571  303575  303577  303581  303587  303589  303595  303599  303601  303605  303607  303611  303613  303615  303616  303617  303619  303620  303621  303623  303625  303629  303631  303635  303637  303641  303647  303649  303655  303659  303661  303665  303671  303677  303679  303685  303689  303691  303697  303701  303707  303715  447090 

11.(8分)某实验小组设计了如图甲所示的理论装置验证“碰撞中的动量守恒”.用一飞行的子弹击穿旋转的纸筒后,击中放在桌边缘的木块并停留在其中,忽略子弹击穿纸筒时能量的损失.现测得纸筒转动的角速度为,半径为R.子弹从A点穿入,在纸筒旋转一周后从B点穿出,(如图乙所示).桌面高度为h,子弹与木块的水平射程为s,子弹与木块的质量分别为m1m2.

(1)验证动量是否守恒只需判断  ______________和______________是否相等即可.(填题中所给已知量表示的代数式)(2)该实验装置在实际操作过程中是否可行?___________________(并回答可行或不可行的原因).

试题详情

10.如图所示,光滑绝缘的水平面上M

N两点各放一带电量分别为

完全相同的金属球AB,给AB以大小相等的初动能(此时动量大小均为),使其相向运动刚好发生碰撞,碰后返回MN两点时的动能分别为,动

量大小分别为,则                                                 (   )

A.          B.

       C.碰撞发生在MN中点的左侧         D.两球同时返回MN两点

第Ⅱ卷(非选择题,共110分)

试题详情

8.狄拉克曾经预言,自然界应该存在只有一个磁极的磁单极子,假设地面附近空中有一S极磁单极子,在竖直平面内的磁感线如图所示,一带电微粒正在该磁单极子附近的水平面上做匀速圆周运动,图中①②③表示三个不同的水平面,则该微粒所在平面可能是图中的(   )

     A.平面① 

     B.平面② 

     C.平面③ 

     D.平面①②都可能

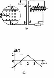
  9.等离子气流由左方连续以初速度v0射入P1P2两平行

  板间的匀强磁场中,磁场的方向垂直纸面向里,ab直导

  线与P1P2相连接,线圈A与直导线cd相连接,线圈

  A内有随乙所示的变化磁场,且磁场B的正方向规定

  为向左,如图甲所示,则下列叙述正确的是(    )

A.0-1s内abcd导线互相排斥

     B.1-2s内abcd导线互相吸引

     C.2-3s内abcd导线互相吸引

     D.3-4s内abcd导线互相排斥

试题详情

7.测省室内的地面、天花板和四周墙壁表面都贴上了吸音板,它们不会反射声波,在相距6m的两侧墙壁上各安装了一个扬声器ab,俯视图如图,两扬声器的振动位移大小、方向完全相同,频率为170Hz.一个与示波器Y输入相连的麦克风从a点开始沿ab两点连线缓慢向b运动,已知空气中声波的波速为340m/s.则(   )

     A.麦克风运动到距离a点1.5m处时示波器荧屏上的波形为

 一直线

     B.麦克风运动过程中除在ab两点外,示波器荧屏有5次出现波形最大

     C.麦克风运动过程中示波器荧屏显示的波形幅度是不变的

     D.如果麦克风运动到ab连线的中点停下来之后,麦克风中的振动膜将始终处于最大位移处

试题详情

6.用同一频率的光照射到甲、乙两种不同的金属上,它们释放的光电子在磁感应强度为B的匀强磁场中做匀速圆周运动,它们的轨道半径之比为,则下列叙述正确的是                           (   )

     A.两种金属的逸出功之比为3:1

     B.两种光电子的速度大小之比为3:1

     C.两种金属的逸出功之比为1:3

     D.两种光电子的动量大小之比为3:1

试题详情

5.AB两列波在某时刻的波形如图所示,经过t=TA(TA为波A的周期),两波再次出现如图波形,则两波的波速之比vA:vB可能是                                                            (   )

A.1:3           B.1:2    

     C.2:1            D.3:1

试题详情

4.下列哪些现象是由于所产生的电磁波而引起的                               (   )

     A.用室内天线接受微弱电视信号时,人走过时电视机画面发生变化

     B.在夜晚用电高峰时,部分地区白炽灯变暗发红,日光灯不易启动

     C.把半导体收音机放在开着的日光灯旁听到噪声

     D.在边远地区用手机或小灵通通话时,有时会发生信号中断的现象

试题详情

3.下列叙述正确的是                                                           (   )

     A.对一定质量的气体加热,其内能不一定增加

     B.根据热力学第二定律可知,热量不可能从低温物体传递到高温物体

     C.第二类永动机不可能制成是因为它违反了能量守恒定律

     D.能量耗散现象是从能量转化的角度反映出自然界中的宏观过程具有方向性

试题详情

2.如图所示,一束单色光a沿半径射向置于空气中的半球形玻璃砖球心,在界面M上同时发生反射和折射,b为反射光,c为折射光,它们与法线的夹角分别为βθ.逐渐增大入射角α(但小于临界角).则下列说法中正确的是                                 (   )

     A.βθ两角同时增大,θ始终大于β

     B.b光束的亮度逐渐减弱,c光束的亮度逐渐增强

     C.b光在玻璃中的波长小于c光的波长

     D.b光光子的能量大于c光光子的能量

试题详情

1.下列叙述中符合物理学史的有                                               (   )

     A.麦克斯韦建立了完整的电磁场理论,并通过实验证实了电磁波的存在

     B.托马斯·杨通过对光的干涉现象的研究,证实了光具有波动性

     C.玻尔通过对粒子散射实验的研究,提出了原子的核式结构学说

     D.贝克勒尔发现了天然放射现象,并预言原子核是由质子和中子组成的

试题详情


同步练习册答案