0  326395  326403  326409  326413  326419  326421  326425  326431  326433  326439  326445  326449  326451  326455  326461  326463  326469  326473  326475  326479  326481  326485  326487  326489  326490  326491  326493  326494  326495  326497  326499  326503  326505  326509  326511  326515  326521  326523  326529  326533  326535  326539  326545  326551  326553  326559  326563  326565  326571  326575  326581  326589  447090 

1.海南省海口市2010届高三调研测试质量为m的小球,从离地面高h处以初速度v0竖直上抛,小球能上升到离抛出点的最大高度为H,若选取该最高点位置为零势能参考位置,不计阻力,则小球落回到抛出点时的机械能是               (  A  )

A.0      B.mgH      C.     D.mgh

试题详情

30. 浙江省温州市十校联合体2010届高三期中联考如图所示,一个圆弧形光滑细圆管轨道ABC,放置在竖直平面内,轨道半径为R,在A 点与水平地面AD相接,地面与圆心O等高,MN是放在水平地面上长为3R、厚度不计的垫子,左端M正好位于A点.将一个质量为m、直径略小于圆管直径的小球从A处管口正上方某处由静止释放,不考虑空气阻力.

(1)若小球从C点射出后恰好能打到垫子的M端,则小球经过C点时对管的作用力大小和方向如何?

(2)欲使小球能通过C点落到垫子上,小球离A点的最大高度是多少?

解:(1)小球离开C点做平抛运动,落到M点时水平位移为R,竖直下落高度为R,根据运动学公式可得:

    运动时间              (2分)

C点射出的速度为

                       (2分)                   

设小球以v1经过C点受到管子对它的作用力为N,由向心力公式可得

                      (2分)       

,            

由牛顿第三定律知,小球对管子作用力大小为,方向竖直向下.  (1分)

(2)小球下降的高度最高时,小球运动的水平位移为4R,打到N点.

设能够落到N点的水平速度为v2,根据平抛运动求得:

                 (2分)

设小球下降的最大高度为H,根据机械能守恒定律可知,

                (2分)

                (2分)

题组三

试题详情

29.重庆八中2010届高三上学期第一次月考如图14所示,在同一竖直上,质量为2m的小球A静止在光滑斜面的底部,斜面高度为H=2L。小球受到弹簧的弹性力作用后,沿斜面向上运动。离开斜面后,运动到最高点时与静止悬挂在此处的小球B发生碰撞(碰撞过程无动能损失);碰撞后球B刚好能摆到与悬点O同一高度,球A沿水平方向抛射落在水平面C上的P点,O点的投影O'与P的距离为L/2。已知球B质量为m,悬绳长L,视两球为质点,重力加速度为g,不计空气阻力,求:

(1)球A在两球碰撞后一瞬间的速度大小;

(2)碰后在球B摆动过程中悬绳中的最大拉力;

(3)弹簧的弹性力对球A所做的功。

解:(1)设碰撞后的一瞬间,球B的速度为vB/,由于球B恰好与悬点O同一高度,根据动能定理:

   ①

      ②

球A达到最高点时,只有水平方向速度,与球B发生弹性碰撞.设碰撞前的一瞬间,球A水平方向速度为vx.碰撞后的一瞬间,球A速度为vx/.

球A、B系统碰撞过程中水平方向动量守恒、机械能守恒:

        ③

  ④

由②③④解得:     ⑤

         ⑥

故,.碰撞后的一瞬间,球A速度为   

(2) 球A在摆动过程中,在最低点绳的拉力最大,由牛顿定律:

    T-mg=m V’B V’B//L.

   所以  T=

(3)碰后球A作平抛运动.设从抛出到落地时间为t,平抛高度为y,则:

  ⑦

  ⑧

由⑤⑦⑧得:y=L

以球A为研究对象,弹簧的弹性力所做的功为W,从静止位置运动到最高点:

由⑤⑥⑦得:

W=mgL  

试题详情

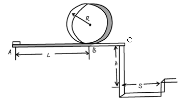
28. 贵州省开阳三中2010届高三10月月考某校物理兴趣小组决定举行遥控赛车比赛。比赛路径如图所示,赛车从起点A出发,沿水平直线轨道运动L后,由B点进入半径为R的光滑竖直圆轨道,离开竖直圆轨道后继续在光滑平直轨道上运动到C点,并能越过壕沟。已知赛车质量m=0.1kg,通电后以额定功率P=1.5w工作,进入竖直轨道前受到阻力恒为0.3N,随后在运动中受到的阻力均可不记。图中L=10.00m,R=0.32m,h=1.25m,S=1.50m。问:要使赛车完成比赛,电动机至少工作多长时间?(取g=10 m/s2)

 

解:本题考查平抛、圆周运动和功能关系。

设赛车越过壕沟需要的最小速度为v1,由平抛运动的规律

          

           

解得         

设赛车恰好越过圆轨道,对应圆轨道最高点的速度为v2,最低点的速度为v3,由牛顿第二定律及机械能守恒定律

             

           

解得           m/s

通过分析比较,赛车要完成比赛,在进入圆轨道前的速度最小应该是

              m/s

设电动机工作时间至少为t,根据功能原理

             

由此可得          t=2.53s

试题详情

27.安徽省利辛二中2010届高三上学期第四次月考质量为m=2kg小球用长为L=2m的轻绳连接在天花板上的O点,如图所示,现将小球拉至图示位置静止释放,图示位置绳与竖直方向夹角θ=60°,由于绳能承受的张力有限,当小球摆到最低点时,绳子恰好被拉断。

最低点距地面高h=1.25m。(空气阻力不计, g=10m/s2)

(1)求小球运动到最低点的速度。

(2)求绳子能承受的最大拉力约为多少?

(3)求小球自静止释放到着地过程中的水平位移。

解析:(1)由动能定理或机械能守恒定律解得v=……(4分)

     (2)根据牛顿第二定律,最低点合力提供向心力得F=2mg=40N……(4分)

     (3)根据平抛运动规律,x。=vt=X0.5S=……(3分)

              X=x。+ Lsinθ=+……(1分)

试题详情

26.北京市昌平一中高三年级第二次月考在竖直平面内有一个粗糙的圆弧轨道,其半径R=0.4m,轨道的最低点距地面高度h=0.8m。一质量m=0.1kg的小滑块从轨道的最高点由静止释放,到达最低点时以一定的水平速度离开轨道,落地点距轨道最低点的水平距离x=0.8m。空气阻力不计,g取10m/s2,求:

(1)小滑块离开轨道时的速度大小;

(2)小滑块运动到轨道最低点时,对轨道的压力大小;

(3)小滑块在轨道上运动的过程中,克服摩擦力所做的功。

答案:(1)2m/s   (2)2N  (3)0.2J

试题详情

25.合肥一六八中学2010届高三第二次段考如图所示,轻弹簧k一端与墙相连,质量为4kg的木块沿光滑的水平面以5m/s的速度运动并压缩弹簧k,求弹簧在被压缩过程中最大的弹性势能及木块速度减为3m/s时弹簧的弹性势能。

答案:50J  32J

试题详情

24.北京市昌平一中高三年级第二次月考如图,倾角为θ的斜面固定。有n个质量都为m的相同的小木块(可视为质点)放置在斜面上。相邻两小木块间距离都为,最下端的木块距底端也是,小木块与斜面间的动摩擦因数都为μ。在开始时刻,第一个小木块从斜面顶端以初速度v0沿斜面下滑,其余所有木块都静止,由于第一个木块的下滑将依次引起一系列的碰撞。设每次碰撞的时间极短,在每次碰撞后,发生碰撞的木块都粘在一起运动,直到最后第n个木块到达底端时,速度刚好为零。已知重力加速度为g.求:

(1)第一次碰撞后小木块1的速度大小v

(2)从第一个小木块开始运动到第一次碰撞后系统损失的机械能

(3)发生一系列碰撞后,直到最后第n个木块到达底端,在整个过程中,由于碰撞所损失的总机械能

答案:(1)

(2)

(3)

试题详情

23.合肥一六八中学2010届高三第二次段考用200N竖直向上的拉力将地面上-个质量为10kg的物体提起5m高的位移,空气阻力不计,g取10m/s2

求:(1)拉力对物体所做的功;

(2)物体提高后增加的重力势能;

(3)物体提高后具有的动能。

答案:(1)拉力对物体所做的功;1000J

(2)物体提高后增加的重力势能;500J

(3)物体提高后具有的动能。500J

试题详情

22. 上海市六校2010届高三第一次联考一物体在外力的作用下从静止开始做直线运动,合外力方向不变,大小随时间的变化如图所示。设该物体在to和2to时刻的速度大小分别为v1v2,合外力从开始至to时刻做的功是W1,从to至2to时刻做的功是W2,则v2=_____ v1W2=_____W1

答案:v2=3v1W2=8W1  

试题详情


同步练习册答案