0  365257  365265  365271  365275  365281  365283  365287  365293  365295  365301  365307  365311  365313  365317  365323  365325  365331  365335  365337  365341  365343  365347  365349  365351  365352  365353  365355  365356  365357  365359  365361  365365  365367  365371  365373  365377  365383  365385  365391  365395  365397  365401  365407  365413  365415  365421  365425  365427  365433  365437  365443  365451  447090 

2. 关于x的不等式的解集为,则关于x的不等式的解集为(C)

A.              B.

C.             D.

解析:由题意知,代入,即

∴解集为

试题详情

1. 设是集合A到集合B的映射,且集合B中的每一个元素都有原象,若,则等于(C)

A.{0}        B.{2}        C.{0,2}         D.{-2,0}

解析:B={0,2},∴

试题详情

18.(12分)如图19所示,长L=9m的传送带与水平方向的傾角,在电动机的带动下以的速率顺时针方向运行,在传送带的B端有一离传送带很近的挡板P可将传送带上的物块挡住,在传送带的A端无初速地放一质量m=1kg的物块,它与传送带间的动摩擦因数,物块与挡板的碰撞能量损失及碰撞时间不计。(m/s2)求:

(1)物块从第一次静止释放到与挡板P第一次碰撞后,物块再次上升到传送带的最高点的过程中,因摩擦生的热;

(2)物块最终的运动状态及达到该运动状态后电动机的输出功 

率。

湖北省黄冈中学2010届高三年级9月月考

试题详情

17.(12分)如图18所示 ,质量,上表面光滑的足够长的木板在水平拉力的作用下,以的初速度沿水平地面向右匀速运动,现有足够多的小铁块,它们质量均为m=1kg,将一铁块无初速地放在木板最右端,当木板运动了时,又无初速地在木板最右端放上第二个铁块,以后只要木板运动了L就在木板最右端无初速放一铁块(m/s2)。求:

(1)第一个铁块放上后,木板运动1m时,木板的速度多大?

(2)最终有几个铁块能留在木板上?

(3)最后一个铁块与木板右端距离多大?

试题详情

16.(10分)如图17所示,在足够长的光滑水平面上,放置一长为L=1m、质量为的木板A,一质量为的小物体B以初速度滑上A的上表面,AB之间的动摩擦因数为m/s2

(1)当B刚从A上滑落时,AB的速度分别是多大?

(2)为使B不从木板A的右端滑落,当B滑上A时,在A的右端始终施加一个水平向右的恒力F,求F的大小应满足的条件。

试题详情

15.(10分)如图16所示,在同一竖直平面内两正对着的相同半圆光滑轨道,相隔一定的距离,虚线沿竖直方向,一小球能在其间运动,今在最低点与最高点各放一个压力传感器,测试小球对轨道的压力,并通过计算机显示出来,当轨道距离变化时,测得两点压力差与距离的图象如右下图所示。(不计空气阻力,g 取m/s2)求:

(1)小球的质量;

(2)相同半圆光滑轨道的半径;

(3)若小球在最低点B的速度为20m/s,为使

小球能沿光滑轨道运动,的最大值。

试题详情

14.(1)图14中;游标卡尺的示数是     mm。

        螺旋测微器的示数是       mm。

(2)在“验证机械能守恒定律”的实验中:

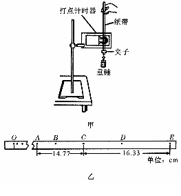
①某同学用图15甲所示装置进行实验,得到如图15乙所示的纸带,测出点A,C间的距离为14.77cm,点C,E间的距离为16.33cm,已知当地重力加速度为9.8m/s2,重锤的质量为,则重锤在下落过程中受到的平均阻力大小    

②某同学上交的实验报告显示重锤增加的动能略大于重锤减少的重力势能,则出现这一问题的原因可能是       (填序号)。

A.重锤的质量测量错误                 B.该同学自编了实验数据

C.交流电源的频率不等于50HZ        D.重锤下落时受到的阻力过大

试题详情

13.某同学在做平抛运动实验时得以了如图13所示的物体运动轨迹,abc三点的位置在运动轨迹上已标出。则:

(1)小球平抛的初速度为     m/s。(g取10m/s2)

(2)小球开始做平抛运动的位置坐标为       cm,

     cm。

(3)小球运动到b点的速度为      m/s。

试题详情

12.如图12所示,轮子的半径均为R=0.20m,且均由电动机驱动以角速度逆时针匀速转动,轮子的转动轴在同一水平面上,轴心相距d=1.6m,现将一块均匀木板轻轻地平放在轮子上,开始时木板的重心恰好在轮的正上方,已知木板的长度L>2d,木板与轮子间的动摩擦因数均为=0.16,则木板的重心恰好运动到轮正上方所需的时间是(   )

A.1s                               B.0.5s     

C.1.5s                              D.条件不足,无法判断

试题详情

11.如图11所示,一个下面装有轮子的贮气瓶停放在光滑的水平地面上,左端与竖直墙壁接触,现打开右端阀门K,气体往外喷出,设喷口面积为S,气体密度为,气体往外喷出的速度为,则气体刚喷出时钢瓶左端对竖直墙的作用力大小是(   )

A.               B.           

C.         D.

试题详情


同步练习册答案