题目列表(包括答案和解析)

 0  166305  166313  166319  166323  166329  166331  166335  166341  166343  166349  166355  166359  166361  166365  166371  166373  166379  166383  166385  166389  166391  166395  166397  166399  166400  166401  166403  166404  166405  166407  166409  166413  166415  166419  166421  166425  166431  166433  166439  166443  166445  166449  166455  166461  166463  166469  166473  166475  166481  166485  166491  166499  447348 

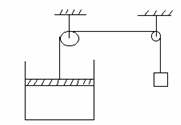
13. 如图所示,汽缸中封闭着温度为100℃的空气,一重物用绳索经滑轮跟缸中活塞相连接,重物和活塞都处于平衡状态,这时活塞离气缸底的高度为10cm,如果缸内空气变为0℃,重物将上升  cm。

试题详情

12. (1)在课本上粗测油酸分子的大小的方法叫做___________法,让油酸尽可能地在水面上散开,使其形成_______________油膜。如果把分子看做球形,这层油膜的厚度可视为油酸分子的_________。

  (2)在上述实验中,油酸酒精溶液的浓度为每1000mL溶液中有纯油酸1mL,用注射器量得1mL上述溶液有200滴,把一滴该溶液滴入盛水的表面撒有痱子粉的浅盘里,待水面稳定后,测得油酸膜的近似轮廓如图所示,图中正方形小方格的边长为1cm,则每一滴油酸酒精溶液中含有纯油酸的体积是_______mL,油酸膜的面积是______cm2,根据上述数据,估测出油酸分子的直径是____  ____m。

  (3)某同学在用油膜法估测分子直径实验中,计算结果明显偏大,可能是由于    

    A.油酸未完全散开

    B.油酸中含有大量的酒精

    C.计算油膜面积时舍去了所有不足一格的方格

    D.求每滴体积时,1mL的溶液的滴数多记了10滴

试题详情

11. 发电站向某地输送5000kW的电功率,若将输送电压提高10倍,同时将输电线截面积减为原来的一半,若变化前输电线上电功率损失是100kW。那么,变化后输电线上损失的电功率为______________。

试题详情

10. 右图是一个理想变压器,K为双向电键,P是滑动变阻器滑动触头,U1为加在原线圈两端电压,I1为原线圈上电流,则:(  ) 

A.保持U1及P的位置不变,K由a合向b时,I1将增大

B.保持P的位置及U1不变,K由a向b时,R消耗的功率减小

C.保持U1不变,K合在a处,使P上滑,I1将增大

D.保持P的位置不变,K合在a处,若U1增大,I1将减小

试题详情

9. 一定质量的某种气体,下列过程中能实现的是:(    )

  A.内能增加,对外做功,放出热量

  B.内能减少,对外做功,不吸收热量也不放出热量

  C.内能不变,外界对气体做功,吸收热量

  D. 内能增加,外界不对气体做功,气体也不对外界做功,放出热量

试题详情

8. 竖直的玻璃管,封闭端在上,开口端在下,中间有一段水银,若把玻璃管稍倾斜一些,但保持温度不变,则:(    )

 A.封闭在管内的气体压强增大   B.封闭在管内的气体体积增大

  C.封闭在管内的气体体积减小   D.封闭在管内的气体体积不变

试题详情

7. AB是两个完全相同的电热器,A通以左图所示的方波交变电流,B通以右图所示的正弦交变电流,则两电热器的电功率之比PAPB等于(  )

A.5∶4      B.3∶2 

C.∶1     D.2∶1

试题详情

6. 已知阿伏加德罗常数为NA,空气的摩尔质量为M,室温下空气的密度为ρ(均为国际单位)。则:(   ) 

A.1kg空气含分子的数目为NA/M

B.一个空气分子的质量是M/NA

C.一个空气分子的体积是M/NAρ

D.室温下相邻空气分子间的平均距离为

试题详情

5. 有一个交流电U = 311 sin314t 伏,则下列说法中正确的是:(   )

  A.这个交流电的频率是50赫兹   

  B.它可以使“220V,100W”的灯泡正常发光

  C.用交流电压表测量时,读数为311伏

  D.使用这个交流电的用电器,每通过一库仑的电量时,电流做功220焦耳

试题详情

4. 一定质量的气体(分子力及分子势能不计)处于平衡状态Ⅰ,现设法使其温度升高同时压强减小,达到平衡状态Ⅱ,则在状态Ⅰ变为状态Ⅱ的过程:           (  )

A.气体分子的平均动能必定减小 

B.单位时间内气体分子对器壁单位面积的碰撞次数减少

C.气体的体积可能不变       

D.气体必定吸收热量

试题详情


同步练习册答案