题目列表(包括答案和解析)

 0  166307  166315  166321  166325  166331  166333  166337  166343  166345  166351  166357  166361  166363  166367  166373  166375  166381  166385  166387  166391  166393  166397  166399  166401  166402  166403  166405  166406  166407  166409  166411  166415  166417  166421  166423  166427  166433  166435  166441  166445  166447  166451  166457  166463  166465  166471  166475  166477  166483  166487  166493  166501  447348 

15.(8分) 如图所示,1、2、3为p-V图中一定质量理想气体的三个状态,该理想气体由状态1经过程1-3-2到达状态2。试利用气体实验定律证明:

试题详情

14. 写出下列实验事实产生的原因

A.水与酒精混合,混合后的体积小于混合前两者体积之和

B.固体很难被压缩

C.绳不易被拉断

D.糖在热水中溶解很快

E.密闭钢筒中的油在高压下会从筒壁上溢出

F.将两块接触面洁净的铅块ab压紧后悬挂起来,下面的铅块b不下落

G.迅速向下推压气筒活塞时,会使其中脱脂棉燃烧

H.悬浮于液体中的小颗粒不停地做无规则热运动,且温度升高时,这种无规则运动的激烈程度加剧

A.________,B.________,C.________,D.________

E.________,F.________,G.________,H.________

试题详情

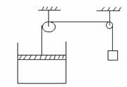
13. 如图所示,汽缸中封闭着温度为100℃的空气,一重物用绳索经滑轮跟缸中活塞相连接,重物和活塞都处于平衡状态,这时活塞离气缸底的高度为10cm,如果缸内空气变为0℃,重物将上升  cm。

试题详情

12. (1)在课本上粗测油酸分子的大小的方法叫做___________法,让油酸尽可能地在水面上散开,使其形成_______________油膜。如果把分子看做球形,这层油膜的厚度可视为油酸分子的_________。

  (2)在上述实验中,油酸酒精溶液的浓度为每1000mL溶液中有纯油酸1mL,用注射器量得1mL上述溶液有200滴,把一滴该溶液滴入盛水的表面撒有痱子粉的浅盘里,待水面稳定后,测得油酸膜的近似轮廓如图所示,图中正方形小方格的边长为1cm,则每一滴油酸酒精溶液中含有纯油酸的体积是_______mL,油酸膜的面积是______cm2,根据上述数据,估测出油酸分子的直径是____  ____m。

  (3)某同学在用油膜法估测分子直径实验中,计算结果明显偏大,可能是由于    

    A.油酸未完全散开

    B.油酸中含有大量的酒精

    C.计算油膜面积时舍去了所有不足一格的方格    D.求每滴体积时,1mL的溶液的滴数多记了10滴

试题详情

11. 发电站向某地输送5000kW的电功率,若将输送电压提高10倍,同时将输电线截面积减为原来的一半,若变化前输电线上电功率损失是100kW。那么,变化后输电线上损失的电功率为______________。

试题详情

10. 右图是一个理想变压器,K为双向电键,P是滑动变阻器滑动触头,U1为加在原线圈两端电压,I1为原线圈上电流,则:(  ) 

A.保持U1及P的位置不变,K由a合向b时,I1将增大

B.保持P的位置及U1不变,K由a向b时,R消耗的功率减小

C.保持U1不变,K合在a处,使P上滑,I1将增大

D.保持P的位置不变,K合在a处,若U1增大,I1将减小

试题详情

9. 一定质量的某种气体,下列过程中能实现的是:(    )

  A.内能增加,对外做功,放出热量

  B.内能减少,对外做功,不吸收热量也不放出热量

  C.内能不变,外界对气体做功,吸收热量

  D. 内能增加,外界不对气体做功,气体也不对外界做功,放出热量

试题详情

8. 竖直的玻璃管,封闭端在上,开口端在下,中间有一段水银,若把玻璃管稍倾斜一些,但保持温度不变,则:(    )

 A.封闭在管内的气体压强增大   B.封闭在管内的气体体积增大

  C.封闭在管内的气体体积减小   D.封闭在管内的气体体积不变

试题详情

7. AB是两个完全相同的电热器,A通以左图所示的方波交变电流,B通以右图所示的正弦交变电流,则两电热器的电功率之比PAPB等于(  )

A.5∶4      B.3∶2 

C.∶1     D.2∶1

试题详情

6. 已知阿伏加德罗常数为NA,空气的摩尔质量为M,室温下空气的密度为ρ(均为国际单位)。则:(   ) 

A.1kg空气含分子的数目为NA/M

B.一个空气分子的质量是M/NA

C.一个空气分子的体积是M/NAρ

D.室温下相邻空气分子间的平均距离为

试题详情


同步练习册答案