题目列表(包括答案和解析)

 0  171448  171456  171462  171466  171472  171474  171478  171484  171486  171492  171498  171502  171504  171508  171514  171516  171522  171526  171528  171532  171534  171538  171540  171542  171543  171544  171546  171547  171548  171550  171552  171556  171558  171562  171564  171568  171574  171576  171582  171586  171588  171592  171598  171604  171606  171612  171616  171618  171624  171628  171634  171642  447348 

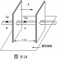
18.(12分)⑴设球B刚进入电场时,带电系统的速度为v1,由动能定理有:

    (2分)    解得:  (1分)

(2)设带电系统的速度为0时,假设A球仍在电场中,并设B球在电场中的位移为x,

由动能定理有   (2分)   解得  (1分)

所以带电系统速度第一次为零时,球A、B应分别在右极板两侧。

设A球达到右极板时速度为v,则:    (2分)

解得:(1分)

接下来,只有B球受到电场力,设带电系统的速度为0时,A球相对右极板的位移为x。由动能定理有:(2分)   解得:(1分)

试题详情

17.解:(8分)(1)设滑块到达B点的速度为v,由机械能守恒定律,有

      .

(2)滑块在传送带上做匀加速运动,受到传送带对它的滑动摩擦力,有mg =ma,滑块对地位移为L,末速度为v0,则,得

(3)产生的热量等于滑块与传送带之间发生的相对位移中克服摩擦力所做的功,即为带与滑块间的相对位移,设所用时间为t,则,得

试题详情

14、(1)==;(2)=;“小于”

15(8分)μ=(v22-v12)tanθ/v22

16(8分)解析:(1)设卫星的质量为m,地球的质量为M,                                         

在地球表面附近满足

得       ①

卫星做圆周运动的向心力等于它受到的万有引力

              ②

①式代入②式,得到

(2)考虑式,卫星受到的万有引力为

            ③

由牛顿第二定律   ④

③、④联立解得

试题详情

13、AC

试题详情

18.如图9-14所示,沿水平方向放置一条平直光滑槽,它垂直穿过开有小孔的两平行薄板,板相距3.5L。槽内有两个质量均为m的小球A和B,球A带电量为+2q,球B带电量为-3q,两球由长为2L的轻杆相连,组成一带电系统。最初A和B分别静止于左板的两侧,离板的距离均为L。若视小球为质点,不计轻杆的质量,在两板间加上与槽平行向右的匀强电场E后(设槽和轻杆由特殊绝缘材料制成,不影响电场的分布),求:⑴球B刚进入电场时,带电系统的速度大小。⑵带电系统从开始运动到速度第一次为零时球A相对右板的位置。(12分)

1  B 2  AB  3.AB  4.B  5 B 6 BC 7.D 8.AD  9. C   10.  BD 11 .ABD12 、ABD

试题详情

17.如图所示,一质量为m的滑块从高为h的光滑圆弧形槽的顶端A处无初速度地滑下,槽的底端B与水平传送带相接,传送带的运行速度为v0,长为L,滑块滑到传送带上后做匀加速运动,滑到传送带右端C时,恰好被加速到与传送带的速度相同.(12分)

求:

(1)滑块到达底端B时的速度v

(2)滑块与传送带间的动摩擦因数;

(3)此过程中,由于克服摩擦力做功而产生的热量Q.

试题详情

15 物体从倾角为θ的斜面顶端由静止释放,

它沿斜面滑到底端时速度大小为v1,若物体由斜面

顶端自由落下,下落同样的高度时,末速度大小为

v2,如图所示,求物体与斜面间的动摩擦因数.

(两物体均可看成质点)(8分)

16.(已知地球半径为R,地球表面重力加速度为g,不考虑地球自转的影响。(8分)

(1)推导第一宇宙速度v1的表达式;

(2)若卫星绕地球做匀速圆周运动,运行轨道距离地面高度为h,求卫星的运行周期T

试题详情

14、在“验证机械能守恒定律”的实验中,打点计时器接在电压为u,频率为的交流电源上,在实验中打下一条理想纸带,如图5-3-7所示,选取纸带上打出的连续5个点A.B.C.D.E、测出点A距起始点的距离为,点、A.C间的距离为,点C. E间的距离为,已知重锤的质量为m,当地的重力加速度为g,则

 

(1)起始点到打下C点的过程中,重锤重力势能的减少量为=_____________,重锤动能的增加量为=_______________

(2)根据题中提供的条件,可求出重锤实际下落的加速度= ____________,它和当地的重力速度进行比较,则­­­__________(填“大于”、“等于”或“小于”)

试题详情

13、在用图5-2-7示装置做“探究动能定理"的实验时,下列说法正确的是_________

A.通过改变橡皮筋的条数改变拉力做功的数值

B.通过改变橡皮筋的拉伸长度改变拉力做功的数值

C.通过打点计时器打下的纸带来测定小车加速过程中获得的最大速度

D.通过打点计时器打下的纸带来测定小车加速过程中获得的平均速度

试题详情

12、如图5-2-3所示,一个质量为m的圆环套在一根固定的水平直杆上,环与杆的动摩擦因数为μ,现给环一个向右的初速度,如果在运动过程中还受到一个方向始终竖直向上的力F的作用,已知力的大小(为常数,为环的运动速度),则环在整个运动过程中克服摩擦力所做的功(假设杆足够长)可能为(    )

A.           B. 0   

C.       D.

第Ⅱ卷(非选择题,共计52分)

试题详情


同步练习册答案